GM Service Manual Online
For 1990-2009 cars only
Makes
🢒
Opel
🢒
1999
🢒
Sintra
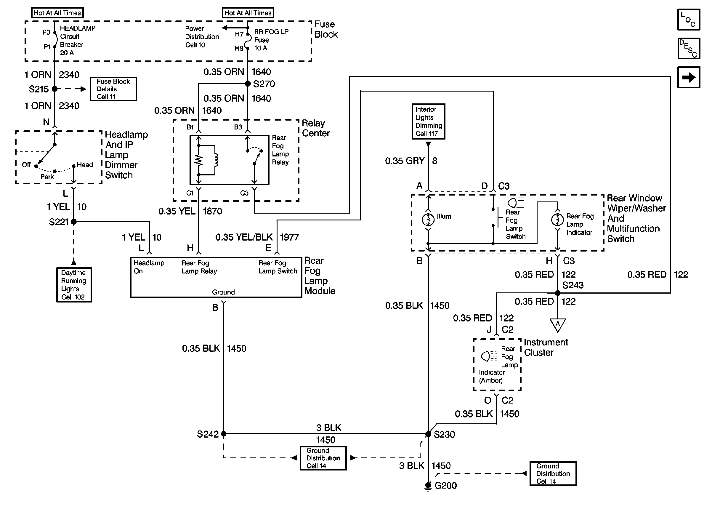
🢒 Rear Fog Lights - Export 1 of 2
Rear Fog Lights - Export 1 of 2
Rear Fog Lights -- Export 1 of 2
Lighting Systems Components
Fog Lights Circuit Description
Cell 14: G200
Cell 14: G200
Rear Fog Lights - Export 2 of 2