GM Service Manual Online
For 1990-2009 cars only
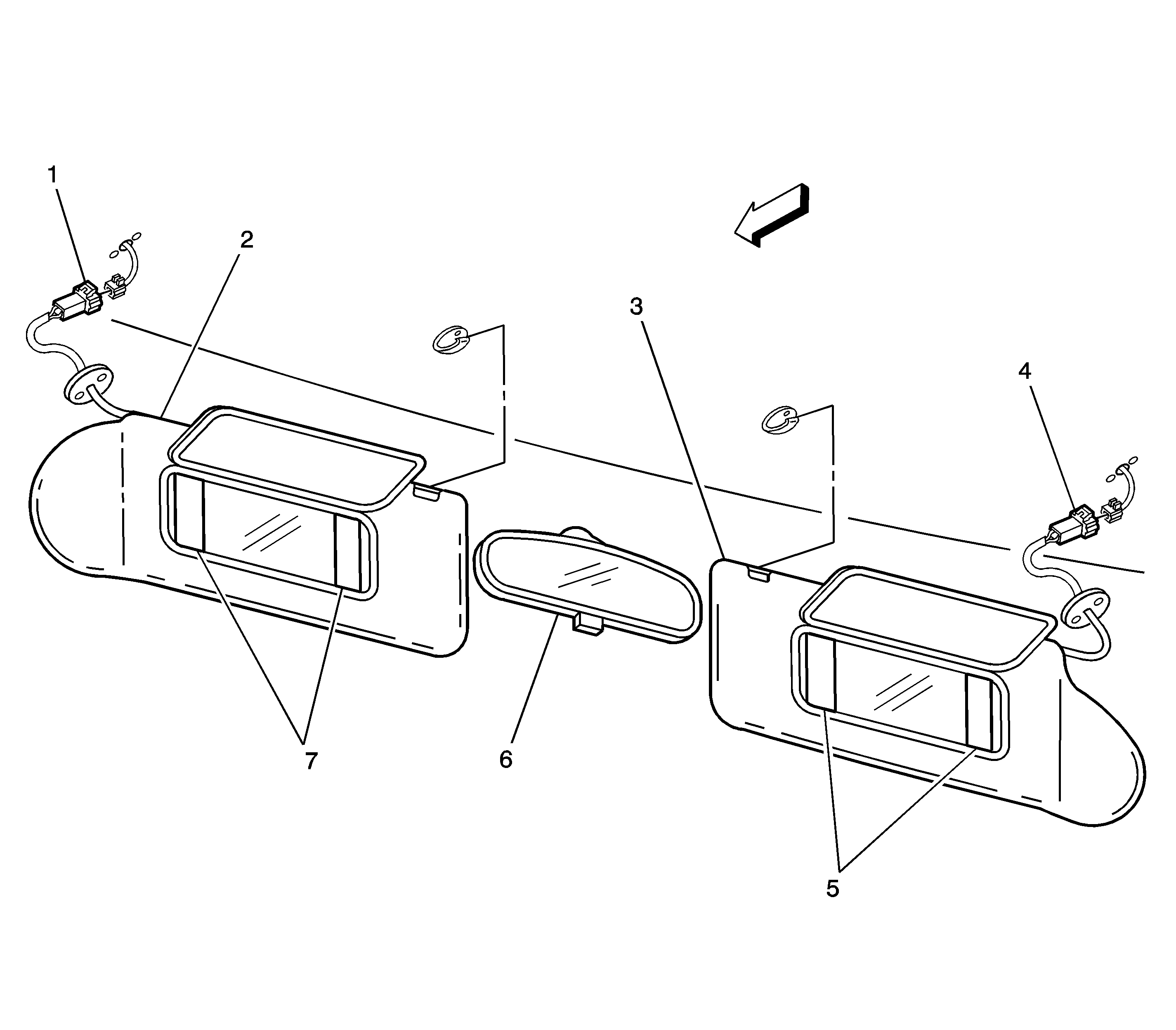
Figure 1:

Above Front Windshield


Object Number: 1322532  Size: LF
(1)Vanity Mirror Lamp - Left Connector
(2)Left Sunshade
(3)Right Sunshade
(4)Vanity Mirror Lamp - Right Connector
(5)Vanity Mirror Lamp - Right
(6)Inside Rearview Mirror
(7)Vanity Mirror Lamp - Left
Figure 2:

Behind Brake Pedal Bracket


Object Number: 1398367  Size: LF
(1)Cruise Control Release Switch Connector (LA1)
(2)Stop Lamp Switch
(3)Stop Lamp Switch Connector C2
(4)Stop Lamp Switch Connector C1
(5)Cruise Control Release Switch (LA1)
Figure 3:

Front of Vehicle - Pontiac


Object Number: 1400336  Size: MF
(1)Park/Turn Signal Lamp - RF (LF Similar)
(2)Low Beam/High Beam Headlamp Assembly - LF (RF Similar)
(3)Fog Lamp - LF (RF Similar)
Figure 4:

Instrument Panel and Center Console - Pontiac


Object Number: 760711  Size: LF
(1)Instrument Cluster
(2)Driver's Information/HUD Switches
(3)A/C Sunload Sensor (CJ2)/Ambient Light Sensor (CJ3/C60)
(4)Security Indicator Lamp
(5)Inflatable Restraint I/P Module
(6)HVAC Control Module
(7)Fuse Block-Center Console
(8)Cigar Lighter
(9)Auxiliary Power Outlet-Center Console Lower (2002 and earlier)
(10)Auxiliary Power Outlet-Center Console Upper
(11)Radio
(12)Ignition Switch
(13)Turn Signal, Wiper, Washer, Cruise and High Beam Switch
Figure 5:

Rear of Vehicle -- Pontiac


Object Number: 761599  Size: LF
(1)Center High Mount Stop Lamp (CHMSL)
(2)Rear Window Defogger Grid
(3)Outside Rear View Mirror-Passenger
(4)Tail, Brake, and Signal Lamp Assembly-RR (LR Similar)
(5)Back--Up Lamp
(6)Cargo Lamp
Figure 6:

Front of Vehicle - Buick


Object Number: 1400347  Size: MF
(1)Park/Turn Signal Lamp - RF (LF Similar)
(2)Cellular Antenna
(3)Low Beam/High Beam Headlamp Assembly - LF (RF Similar)
(4)Front Marker Lamp - LF (RF Similar)
(5)Fog Lamp - LF (RF Similar)
Figure 7:

Instrument Panel - Buick


Object Number: 828192  Size: LF
(1)Headlamp Switch
(2)Turn Signal Switch/Multifunction Switch
(3)Hazard Switch
(4)Instrument Panel Cluster (IPC)
(5)Automatic Transmission Shift Lever
(6)Radio
(7)A/C Sunload Sensor (CJ2)/Ambient Light Sensor (CJ3/C60)
(8)Alarm LED
(9)Fuse Block - Center Console
(10)Center Console Switchbank
(11)HVAC Control Module
(12)Steering Wheel Controls - Right
(13)Ignition Switch
(14)Head Up Display (HUD) Switch and Driver Information Center (DIC) Switch
(15)Steering Wheel Controls - Left
Figure 8:

Rear of Vehicle -- Buick


Object Number: 828193  Size: LF
(1)Center High Mount Stop Lamp (CHMSL)
(2)Rear Window Defogger Grid
(3)Stop, Signal and Park Lamps-RR (LR Similar)
(4)Rear Wiper Arm
(5)Backup Lamps
(6)Object Sensor RT Outer
(7)Object Sensor RT Center
(8)Object Sensor LT Center
(9)Object Sensor LT Outer
(10)End Gate Release Handle
(11)Tail Lamp-Left (Right Similar)
(12)License Lamp
(13)Cargo Lamp
Figure 9:

Driver Side Control -- Pontiac


Object Number: 772872  Size: LF
(1)Headlamp Switch
(2)Steering Wheel Controls
(3)Driver Information Center