GM Service Manual Online
For 1990-2009 cars only

Removal Procedure

Important: If the damage exceeds the recommended area for sectioning and the rail cannot be straightened, the complete rail must be replaced.

Sectioning procedures have been developed to simplify repair of the lower rails, providing the majority of the damage can be returned to factory specifications. This allows the damaged front section to be replaced without performing a full rail replacement. The rails come as a complete assembly. The front portion of the rail and bumper brackets are also serviced separately.


    Object Number: 767361  Size: SH

    Important: Failure to follow the instructions included with the service rail may lead to improper rail sectioning, which may compromise the structural integrity of the vehicle.

  1. On top of the rail, locate the cut-out square (1). From the top edge of the square, measure forward 25 mm (1 in) and scribe a line.
  2. Add 10 mm (13/32 in) and scribe a second line. The second line 35 mm (1 3/8 in) is the cut location. The additional 10 mm (13/32 in) will be used to create a flange for welding the new service part to the vehicle.

  3. Object Number: 767363  Size: SH
  4. On the outboard side of the rail, locate the brake line pass-thru hole  (1). At the larger hole, pull the tape measure from the forward edge of the hole and mark a line at 392 mm (15 7/16 in). Scribe a line with a straight edge, making sure it is square to inboard and top rail markings.

  5. Object Number: 767364  Size: SH
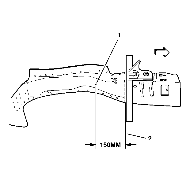
  6. Locate hole  (1), on the inboard side of the rail. Measure forward 140 mm (5 1/2 in) and mark the location. Scribe a straight line on the rail.
  7. Measure forward 10 mm (13/32 in) and scribe a second line. The second line 150 mm (5 29/32 in) is the cut location  (2).

  8. Object Number: 767367  Size: SH
  9. Cut through three sides of the rail.
  10. On the bottom of the damaged rail, scribe a line from the outboard to the inboard cut locations and cut the remainder of the rail  (1) from the vehicle.
  11. Remove the damaged section of the rail.

Installation Procedure


    Object Number: 767368  Size: SH
  1. On the original rail, cut and remove 10 mm (13/32 in) of the outboard  (1) and downward (2) turned flanges of the rail. Cut 10 mm (13/32 in) gaps along the corners of the original rail  (3).
  2. Step the top, bottom, and side tabs inward  (4) to allow the service part to fit over the original rail.
  3. Clean and prepare mating surfaces as necessary.

  4. Object Number: 767369  Size: SH
  5. Position the service part  (1) over the original rail. Align and check fit using three-dimensional measuring equipment.

  6. Object Number: 767371  Size: SH
  7. Stitch weld along the entire sectioning joint. Make 25 mm (1 in) welds along the seam with 25 mm (1 in) gaps between them.
  8. Go back and complete the stitch weld. This will create a solid weld joint with minimal heat distortion.
  9. Clean and prepare all welded surfaces.
  10. Important: Prior to refinishing, refer to publication GM 4901M-D-01 GM Approved Refinish Materials for recommended products. Do not combine paint systems. Refer to paint manufacturer's recommendations.

  11. Prime with a two-part catalyzed primer.
  12. Apply sealers and anti-corrosion materials as necessary.
  13. Install all related panels and components.