| |||||||
|---|---|---|---|---|---|---|---|
Connector Part Information |
| ||||||
Pin | Wire Color | Circuit No. | Function | ||||
A | YEL | 9901 | Inflatable Restraint Front End Sensor - Left - Signal | ||||
B | GRY | 9904 | Inflatable Restraint Front End Sensor - Left - Voltage | ||||
| |||||||
|---|---|---|---|---|---|---|---|
Connector Part Information |
| ||||||
Pin | Wire Color | Circuit No. | Function | ||||
A | BLK | 9906 | Inflatable Restraint Front End Sensor - Right - Signal | ||||
B | GRY | 9902 | Inflatable Restraint Front End Sensor - Right - Voltage | ||||
| |||||||
|---|---|---|---|---|---|---|---|
Connector Part Information |
| ||||||
Pin | Wire Color | Circuit No. | Function | ||||
A | DK GRN/ WHT | 1404 | I/P Module Low Control | ||||
B | WHT/BLK | 1403 | I/P Module High Control | ||||
| |||||||
|---|---|---|---|---|---|---|---|
Connector Part Information |
| ||||||
Pin | Wire Color | Circuit No. | Function | ||||
A1 | YEL | 3025 | I/P Module - Stage 1 - High Control | ||||
A2 | ORN | 3024 | I/P Module - Stage 1 - Low Control | ||||
B1 | GRY | 3027 | I/P Module - Stage 2 - High Control | ||||
B2 | PPL | 3026 | I/P Module - Stage 2 - Low Control | ||||
| |||||||
|---|---|---|---|---|---|---|---|
Connector Part Information |
| ||||||
Pin | Wire Color | Circuit No. | Function | ||||
A1 | YEL | 1139 | Ignition 1 Voltage | ||||
A2 | -- | -- | Not Used | ||||
A3 | WHT/BLK | 1403 | I/P Module High Control | ||||
A4 | DK BLU | 1128 | Class 2 Serial Data | ||||
A5 | -- | -- | Not Used | ||||
A6 | WHT | 347 | Steering Wheel Module High Control | ||||
A7 | DK GRN | 348 | Steering Wheel Module Low Control | ||||
A8 | DK GRN/ WHT | 1404 | I/P Module Low Control | ||||
A9-A14 | -- | -- | Not Used | ||||
A15 | BLK/WHT | 238 | Seat Belt Switch - Left | ||||
A16-17 | -- | -- | Not Used | ||||
A18 | BLK/WHT | 1751 | Ground | ||||
B1 | BRN | 2137 | Side Impact Module - LF High Control | ||||
B2 | YEL/BLK | 2138 | Side Impact Module - LF Low Control | ||||
B3 | LT GRN | 2136 | Side Impact Module - RF Low Control | ||||
B4 | BLK/WHT | 2135 | Side Impact Module - RF High Control | ||||
B5 | YEL | 2131 | Side Impact Sensing Module - Left - Voltage | ||||
B6 | WHT | 2132 | Side Impact Sensing Module - Left - Signal | ||||
B7 | DK GRN | 2134 | Side Impact Sensing Module - Right - Signal | ||||
B8 | TAN | 2133 | Side Impact Sensing Module - Right - Voltage | ||||
C1 - C8 | -- | -- | Not Used | ||||
| |||||||
|---|---|---|---|---|---|---|---|
Connector Part Information |
| ||||||
Pin | Wire Color | Circuit No. | Function | ||||
A1 | YEL | 1139 | Ignition 1 Voltage | ||||
A2 | BLK/WHT | 9238 | Driver Seat Position Switch Signal | ||||
A3 | YEL | 3025 | I/P Module - Stage 1 - High Control | ||||
A4 | DK BLU | 1128 | Class 2 Serial Data | ||||
A5 | -- | -- | Not Used | ||||
A6 | TAN | 3021 | Steering Wheel Module - Stage 1 - High Control | ||||
A7 | ORN | 3020 | Steering Wheel Module - Stage 1 - Low Control | ||||
A8 | ORN | 3024 | I/P Module - Stage 1 - Low Control | ||||
A9 | BLK | 9363 | Low Reference | ||||
A10-A14 | -- | -- | Not Used | ||||
A15 | BLK/WHT | 238 | Seat Belt Switch - Left | ||||
A16 | -- | -- | Not Used | ||||
A17 | BLK | 9362 | Front Passenger Seat Position Switch Signal | ||||
A18 | BLK/WHT | 1751 | Ground | ||||
B1 | BRN | 2137 | Side Impact Module - LF High Control | ||||
B2 | YEL/BLK | 2138 | Side Impact Module - LF Low Control | ||||
B3 | LT GRN | 2136 | Side Impact Module - RF Low Control | ||||
B4 | BLK/WHT | 2135 | Side Impact Module - RF High Control | ||||
B5 | YEL | 2131 | Side Impact Sensing Module - Left - Voltage | ||||
B6 | WHT | 2132 | Side Impact Sensing Module - Left - Signal | ||||
B7 | DK GRN | 2134 | Side Impact Sensing Module - Right - Signal | ||||
B8 | TAN | 2133 | Side Impact Sensing Module - Right - Voltage | ||||
C1 | WHT | 3023 | Steering Wheel Module - Stage 2 - High Control | ||||
C2 | PNK | 3022 | Steering Wheel Module - Stage 2 - Low Control | ||||
C3 | PPL | 3026 | I/P Module - Stage 2 - Low Control | ||||
C4 | GRY | 3027 | I/P Module - Stage 2 - High Control | ||||
C5 | GRY | 9904 | Inflatable Restraint Front End Discriminationg Sensor - Left - Voltage | ||||
C6 | YEL | 9901 | Inflatable Restraint Front End Discriminationg Sensor - Left - Signal | ||||
C7 | BLK | 9906 | Inflatable Restraint Front End Discriminationg Sensor - Right - Signal | ||||
C8 | ORN | 9902 | Inflatable Restraint Front End Discriminationg Sensor - Right - Voltage | ||||
| |||||||
|---|---|---|---|---|---|---|---|
Connector Part Information |
| ||||||
Pin | Wire Color | Circuit No. | Function | ||||
A | BRN | 2137 | Side Impact Module - LF High Control | ||||
B | YEL/BLK | 2138 | Side Impact Module - LF Low Control | ||||
| |||||||
|---|---|---|---|---|---|---|---|
Connector Part Information |
| ||||||
Pin | Wire Color | Circuit No. | Function | ||||
A | BLK/WHT | 2135 | Side Impact Module - RF High Control | ||||
B | LT GRN | 2136 | Side Impact Module - RF Low Control | ||||
| |||||||
|---|---|---|---|---|---|---|---|
Connector Part Information |
| ||||||
Pin | Wire Color | Circuit No. | Function | ||||
A | WHT | 2132 | Side Impact Sensing Module - Left - Signal | ||||
B | YEL | 2131 | Side Impact Sensing Module - Left - Voltage | ||||
| |||||||
|---|---|---|---|---|---|---|---|
Connector Part Information |
| ||||||
Pin | Wire Color | Circuit No. | Function | ||||
A | DK GRN | 2134 | Side Impact Sensing Module - Right - Signal | ||||
B | TAN | 2133 | Side Impact Sensing Module - Right - Voltage | ||||
| |||||||
|---|---|---|---|---|---|---|---|
Connector Part Information |
| ||||||
Pin | Wire Color | Circuit No. | Function | ||||
A | PPL | 1375 | Remote Radio Control Head Supply Voltage | ||||
B | GRY/BLK | 1458 | Instrument Panel Lamp Supply Voltage - 4 | ||||
C | DK BLU | 1796 | Steering Wheel Controls Signal | ||||
D | BLK | 1450 | Ground | ||||
| |||||||
|---|---|---|---|---|---|---|---|
Connector Part Information |
| ||||||
Pin | Wire Color | Circuit No. | Function | ||||
A | WHT | 347 | Steering Wheel Module High Control | ||||
B | DK GRN | 348 | Steering Wheel Module Low Control | ||||
| |||||||
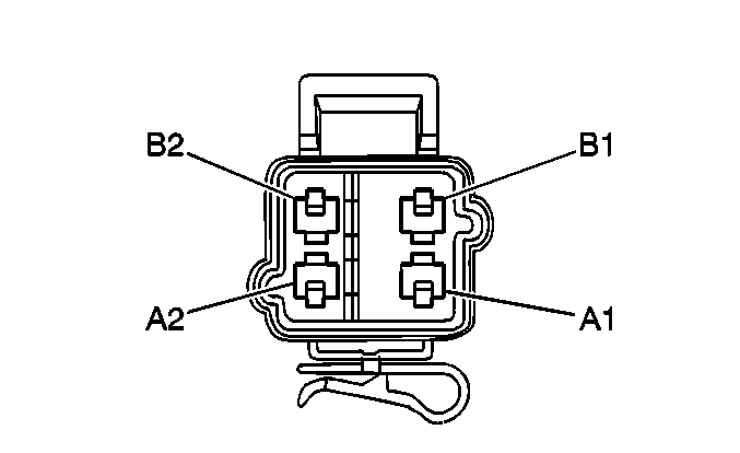
|---|---|---|---|---|---|---|---|
Connector Part Information |
| ||||||
Pin | Wire Color | Circuit No. | Function | ||||
A1 | TAN | 3021 | Steering Wheel Module - Stage 1 - High Control | ||||
A2 | BRN | 3020 | Steering Wheel Module - Stage 1 - Low Control | ||||
B1 | WHT | 3023 | Steering Wheel Module - Stage 2 - High Control | ||||
B2 | PNK | 3022 | Steering Wheel Module - Stage 2 - Low Control | ||||