GM Service Manual Online
For 1990-2009 cars only

Removal Procedure


    Object Number: 680879  Size: SH
  1. Remove all related panels and components.
  2. Restore as much of the damage as possible to factory specifications.
  3. Note the location and remove the following as necessary:
  4. • Anti-corrosion materials
    • Sound deadeners
    • Sealers

    Object Number: 685150  Size: SH

    Important: Do not damage any inner panels or reinforcements.

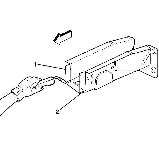
  5. Perform the necessary procedures to gain access to the rear rail.
  6. Locate (2) and drill out all factory welds (1). Note the number and location of welds for installation of the Rear Rail.
  7. Mark the cut location by measuring 5 mm (1/4 in) from the rear edge of the hole rearward.

  8. Object Number: 685156  Size: SH
  9. Cut the rear rail section.

  10. Object Number: 685158  Size: SH
  11. Remove the damaged rear rail section.

Installation Procedure


    Object Number: 685160  Size: SH
  1. Mark the cut location on the service rail by measuring 5 mm (1/4 in) from the front edge of the hole forward.

  2. Object Number: 685164  Size: SH
  3. Cut the rear rail service part.

  4. Object Number: 685168  Size: SH
  5. Cut and remove 30 mm (1 3/16 in) from the flanges on either side of the srvice section rail to create 30 mm (1 3/16 in) tabs (1).
  6. Cut 5 mm (1/4 in) wide gaps in the bottom corners(2).

  7. Object Number: 685170  Size: SH
  8. Step the tabs inward (1) to allow the service rail section to fit inside of the original rear rail.
  9. Important: The metal of the rear rail is of a heavy gage. However, the tabs can be created using the appropriate tools.

  10. Weld the tabs together along the lower edges (2).

  11. Object Number: 685173  Size: SH

    Important: In any area damaged beyond recognition, space plug weld holes every 40 mm (1 ½ in) apart.

  12. Drill 8 mm (5/16 in) plug weld holes along the sectioning cut on the original rail. Locate these holes 13 mm (1/2 in) from the edge and spaced 40 mm (1 1/2  in) apart.
  13. Prepare all attachment surfaces as necessary.
  14. Apply weld-thru primer to all bare-metal surfaces.

  15. Object Number: 685178  Size: SH
  16. Align the service part over the stepped tab using three-dimensional measuring equipment.

  17. Object Number: 685182  Size: SH
  18. Plug weld accordingly.

  19. Object Number: 685187  Size: SH
  20. To create a solid weld with minimum heat distortion, make 25 mm (1 in) stitch welds along the seam with 25 mm (1 in) gaps between them. Then go back and complete the stitch weld.

  21. Object Number: 680891  Size: SH

    Important: Prior to refinishing, refer to publication GM 4901M-D-2000 GM Approved Refinish Materials for recommended products. Do not combine paint systems. Refer to paint manufacturer's recommendations.

  22. Clean and prepare all welded surfaces.
  23. Apply the following as necessary:
  24. • Anti-corrosion materials
    • Sound deadeners
    • Sealers
  25. Install all related panels and components.