GM Service Manual Online
For 1990-2009 cars only

Diagnostic System Check - Entertainment System

Always perform the Radio/Audio System Diagnostic System Check before proceeding with these diagnostic procedures. Refer to Diagnostic System Check - Radio/Audio System .

Using a Test Antenna

Use a test mast antenna to quickly check for poor vehicle antenna operation. Unplug antenna lead-in connector from radio receiver and plug a test antenna into radio. Make sure the test antenna base is grounded to the vehicle chassis and keep hands off the mast. Check radio reception in an area away from electrical interferences. Tune to several weak and strong AM and FM stations. If the radio reception improved, the problem exists with the vehicle antenna and/or lead-in cable. If the reception is still poor, refer to Audio System Troubleshooting Hints .

Antenna Ground Test

Important: Always zero out the DMM before taking a resistance measurement in order to ensure an accurate reading.

  1. Disconnect the negative battery cable.
  2. Disconnect the antenna lead-in connector from the radio receiver.
  3. Measure the resistance from the negative battery cable to the coaxial cable, outer conductor, connector.
  4. The resistance measured should be 0.20 ohms or less.
  5. Test the following when the resistance is greater than 0.20 ohms.
  6. • Base of the antenna for a poor connection to body ground.
    • The coaxial cable interconnects for a poor connection or corrosion.
    • Test for an open or high resistance from the battery negative cable to the body. Refer to Circuit Testing and Wiring Repairs in Wiring Systems.
  7. After finding and correcting the condition, operate the system in order to verify the repair.

Antenna Coaxial Cable Testing

Use the appropriate chart and diagram to test the antenna coaxial cable resistances for the antenna system on the vehicle. Refer to the table when testing the antenna and/or lead-in cable.

Mast Antenna System


Object Number: 782084  Size: MF
(1)Negative Battery Cable
(2)Coaxial Cable Conductor - Radio End
(3)Coaxial Cable Metal Outer Shield - Radio End
(4)Coaxial Cable Metal Outer Shield - Antenna End
(5)Coaxial Cable Conductor - Antenna End
(6)Antenna Base
(7)Antenna Mast
(8)Antenna Coaxial Cable

Ohmmeter Probes At Points

Resistance Measured In Ohms

1 and 3

Less than 0.2

1 and 4

Less than 0.2

1 and 6

Less than 0.2

1 and 2

Infinite

1 and 5

Infinite

1 and 7

Infinite

2 and 3

Infinite

2 and 4

Infinite

2 and 6

Infinite

3 and 4

Less than 0.2

3 and 6

Less than 0.2

3 and 5

Infinite

3 and 7

Infinite

Important: Always zero out the DMM before taking a resistance measurement in order to ensure an accurate reading.

  1. Measure the resistance from the coax center conductor to antenna mast, ohmmeter probes at points 2 and 7.
  2. Total resistance from end to end of center conductor-ohmmeter probes at points 2 and 5:
  3. • RG-58/RG-59 type cable -- less than 0.20 ohms per foot
    • RG-62/RG-62M type cable -- less than 3.5 ohms per foot
  4. When checking the resistance, cautiously wiggle the lead-in tip and cable. Refer to Testing for Intermittent Conditions and Poor Connections in Wiring Systems.
  5. Replace the antenna and/or lead-in cable when the above readings are not obtained. Refer to Antenna Cable Replacement for service procedure.

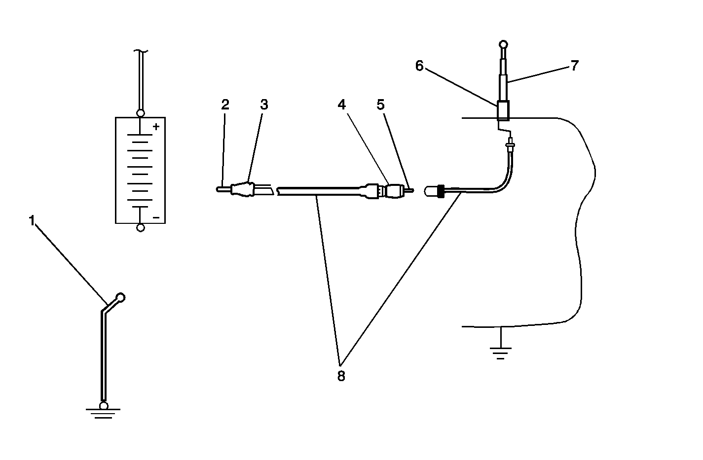
Power Type Antennas

The following chart and diagram show ohmmeter readings which should be obtained.

Power Antenna System


Object Number: 748733  Size: MH
(1)Top Antenna Mast Section
(2)Middle Antenna Mast Section
(3)Antenna Metal Housing Case
(4)Body Ground
(5)Antenna Lead-in Connector, Outer
(6)Antenna Lead-in Connector, Inner
(7)Lower Antenna Mast Section

Ohmmeter Probes At Points

Resistance Measured In Ohms

1 and 6

Less than 0.2

2 and 6

Less than 0.2

7 and 6

Less than 0.2

5 and 4

Less than 0.2

1 and 4

Infinite

2 and 4

Infinite

7 and 4

Infinite

Refer to the table when testing the power antenna.

Important: Always zero out the DMM before taking a resistance measurement in order to ensure an accurate reading.

  1. Disconnect the negative battery cable.
  2. Measure the resistance at the points specified in the table.
  3. With the ohmmeter probes fastened to each point, wiggle the separate mast section and antenna housing case.
  4. The resistance readings specified in the table should always be obtained. Test and/or replace the following when the resistance readings are out of specification.
  5. • Replace antenna mast section.
    • Test the ground for an open or high resistance. Refer to Circuit Testing and Wiring Repairs in Wiring Systems.
  6. After finding and correcting the antenna condition, make sure the antenna lead-in connector is corrosion free and properly fastened.
  7. Operate the system in order to verify the repair.

Windshield Type Antennas

Inspect the antenna connector wire at base of windshield. Make sure the wire is not pinched or broken and is fully seated into the lead-in receptacle.

Inspect dipole wires within the windshield for breaks. Use the figure and table for the mast antenna as a guide to test for continuity within the antenna coaxial cable. Repair or replace any portion of the coaxial cable that does not meet the resistance measurements. If test antenna indicates radio is OK and lead-in checks fine, the windshield may need to be replaced. A defective windshield antenna results in loss of sensitivity, particularly on AM.

Windshield Antenna System


Object Number: 349397  Size: MF
(1)Antenna Coaxial Lead-in Connector
(2)Radio Chassis
(3)Window Antenna Grid, Front or Rear
(4)Window Glass, Front or Rear
(5)Antenna Module
(6)Antenna Coaxial Lead-in Connector

Rear Defogger Antenna System

Important: The following information lists the most probable cause of the concern to the least probable cause followed by the appropriate test for that condition. If the test leads to the replacement of a component, always inspect for a poor connection before proceeding with the replacement. Refer to Testing for Intermittent Conditions and Poor Connections and Connector Repairs in Wiring Systems.

This antenna system uses the existing rear defogger grid as an antenna. Using the defogger as an antenna requires the circuitry in the radio antenna module to decouple the RF from the DC heater current.

Perform the Antenna System Test and test the antenna coax cable prior to performing the following tests.

  1. The radio antenna module is not grounded properly. The module grounding screws should be clean and tight. Measure the resistance from the antenna module base plate to a good ground. Resistance should be 0.20 ohms or less. Find and correct the condition if the resistance is out of specification.
  2. The antenna relay coil supply voltage circuit to the radio antenna module is open or shorted to ground. Test the antenna relay coil supply voltage circuit for an open or short to ground. Refer to Circuit Testing and Wiring Repairs in Wiring Systems.
  3. Defective radio antenna module. Replace the radio antenna module.
  4. No antenna relay coil supply voltage output from the radio. Disconnect the radio antenna module connector. Turn ON the radio and measure the voltage from the antenna relay coil supply voltage circuit of the radio to a good ground. Voltage measured should be near 12 volts. If no voltage is measured, replace the radio. Refer to Radio Replacement for service procedure.
  5. If noise is present when the rear defogger is on, inspect the rear defogger grid for breaks. Repair as necessary.
  6. After finding and correcting the condition, operate the system in order to verify the repair.

Diversity Antenna System

Important: The following information lists the most probable cause of the concern to the least probable cause followed by the appropriate test for that condition. If the test leads to the replacement of a component, always inspect for a poor connection before proceeding with the replacement. Refer to Testing for Intermittent Conditions and Poor Connections and Connector Repairs in Wiring Systems.

This antenna system uses two antennas to form a diversity system. The primary antenna is part of the rear window. The primary antenna receives both AM and FM signals. The secondary antenna is located on the passenger side of the windshield. The secondary antenna receives only FM signals. The radio antenna module processes the antenna reception signals and phase aligns them to create one strong signal.

Perform the Antenna System Test and test the antenna coax cable prior to performing the following tests.

  1. The radio antenna module is not grounded properly. The module grounding screws should be clean and tight. Measure the resistance from the antenna module base plate to a good ground. Resistance should be 0.20 ohms or less. Find and correct the condition if the resistance is out of specification.
  2. The antenna enable signal circuit to the radio antenna module is open or shorted to ground. Test the antenna enable signal circuit for an open or short to ground. Refer to Circuit Testing and Wiring Repairs in Wiring Systems.
  3. The FM composite signal circuit to the radio antenna module is open or shorted to ground. Test the FM composite signal circuit for an open or short to ground. Refer to Circuit Testing and Wiring Repairs in Wiring Systems.
  4. Improper retention of the antenna cable in the floating retainer. Poor or no connection with the radio will result when the radio is installed if the antenna cable is not properly attached in the floating retainer. Inspect the antenna cable for movement in the floating retainer. Replace the antenna cable if movement is found. Refer to Antenna Cable Replacement for service procedure.
  5. Defective radio antenna module. Replace radio antenna module.
  6. No FM composite signal voltage output from the radio. Disconnect the radio antenna module connector. Turn ON the radio and tune the radio to the FM band. Measure the voltage from the FM composite signal circuit of the radio antenna module to a good ground. Voltage measured should be near 8 volts. If no voltage is measured, replace the radio. Refer to Radio Replacement for service procedure.
  7. After finding and correcting the condition, operate the system in order to verify the repair.