GM Service Manual Online
For 1990-2009 cars only
Figure 1:

Instrument Panel and Center Console - Pontiac


Object Number: 760711  Size: LF
(1)Instrument Cluster
(2)Driver's Information/HUD Switches
(3)A/C Sunload Sensor (CJ2)/Ambient Light Sensor (CJ3/C60)
(4)Security Indicator Lamp
(5)Inflatable Restraint I/P Module
(6)HVAC Control Module
(7)Fuse Block-Center Console
(8)Cigar Lighter
(9)Auxiliary Power Outlet-Center Console Lower (2002 and earlier)
(10)Auxiliary Power Outlet-Center Console Upper
(11)Radio
(12)Ignition Switch
(13)Turn Signal, Wiper, Washer, Cruise and High Beam Switch
Figure 2:

Instrument Panel - Buick


Object Number: 828192  Size: LF
(1)Headlamp Switch
(2)Turn Signal Switch/Multifunction Switch
(3)Hazard Switch
(4)Instrument Panel Cluster (IPC)
(5)Automatic Transmission Shift Lever
(6)Radio
(7)A/C Sunload Sensor (CJ2)/Ambient Light Sensor (CJ3/C60)
(8)Alarm LED
(9)Fuse Block - Center Console
(10)Center Console Switchbank
(11)HVAC Control Module
(12)Steering Wheel Controls - Right
(13)Ignition Switch
(14)Head Up Display (HUD) Switch and Driver Information Center (DIC) Switch
(15)Steering Wheel Controls - Left
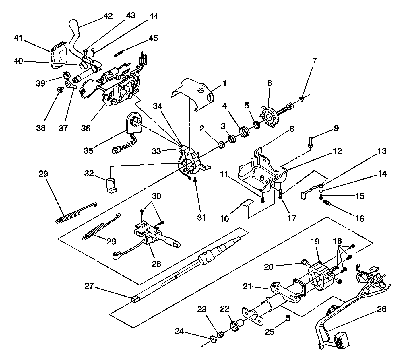
Figure 3:

Steering Column - Pontiac


Object Number: 790982  Size: LF
(1)Upper Trim Cover
(2)Upper Bearing
(3)Upper Bearing Seat
(4)Steering Shaft Upper Bearing Spring
(5)Inflatable Restraint Steering Wheel Module Coil
(6)Bearing Retainer
(7)Steering Wheel Nut
(8)Trim Cover Protector
(9)Sleeve
(10)Cover, Housing Trim Extension
(11)Lower Trim Cover Screws
(12)Lower Trim Cover
(13)Tilt Lever
(14)Tilt Lever Spring
(15)Tilt Lever Bolt
(16)Tilt Lever Spring
(17)Lower Trim Cover Screw
(18)Lower Tilt Head Mounting Bolts
(19)Lower Tilt Head
(20)Tilt Head Pivot Pins
(21)Steering Column Jacket Assembly
(22)Adapter and Bearing Assembly
(23)Lower Bearing Seat
(24)Lower Bearing Retainer
(25)Wire Harness Retainer
(26)Wire Harness Assembly
(27)Shaft Assembly
(28)Multifunction Switch
(29)Tilt Head Springs
(30)Multifunction Switch Screws
(31)Trim Cover Screw
(32)Actuator, Automatic Transmission Shift Lock Control
(33)Ignition Switch
(34)Ignition Key Alarm Switch
(35)Upper Tilt Head
(36)Theft Deterrent Module
Figure 4:

Steering Column - Buick


Object Number: 794345  Size: LF
(1)Upper Trim Cover
(2)Upper Bearing
(3)Upper Bearing Seat
(4)Steering Shaft Upper Bearing Spring
(5)Bearing Retainer
(6)Inflatable Restraint Steering Wheel Module Coil
(7)Steering Wheel Nut
(8)Trim Cover Protector
(9)Sleeve
(10)Cover, Housing Trim Extension
(11)Lower Trim Cover Screws
(12)Lower Trim Cover
(13)Tilt Lever
(14)Tilt Lever Spring
(15)Tilt Lever Bolt
(16)Tilt Lever Spring
(17)Lower Trim Cover Screw
(18)Lower Tilt Head Mounting Bolts
(19)Lower Tilt Head
(20)Tilt Head Pivot Pins
(21)Steering Column Jacket Assembly
(22)Adapter and Bearing Assembly
(23)Lower Bearing Seat
(24)Lower Bearing Retainer
(25)Wire Harness Retainer
(26)Wire Harness Assembly
(27)Shaft Assembly
(28)Multifunction Switch
(29)Tilt Head Springs
(30)Multifunction Switch Screws
(31)Trim Cover Screw
(32)Ignition Switch
(33)Ignition Key Alarm
(34)Upper Tilt Head
(35)Theft Deterrent Module
(36)Control Assembly
(37)Shift Lever Pivot Pin
(38)Pivot Pin Bolt
(39)Lower Shift Lever Bushing
(40)Upper Shift Lever Bushing
(41)Steering Column Boot
(42)Shift Lever
(43)Shift Lever Screw
(44)Shift Lever Pin
(45)Shift Lever Spring
Figure 5:

Theft Deterrent Control Module


Object Number: 1398767  Size: SH
(1)Theft Deterrent Control Module
(2)Ignition Key Housing
(3)Key Warning Switch
Figure 6:

Lower Front Of Engine (LA1)


Object Number: 327373  Size: LF
(1)Crankshaft Position (CKP) Sensor A Connector and Bracket
(2)Knock Sensor (KS) Connector
(3)Engine Oil Pressure (EOP) Switch Connector
(4)Fusible Links (Starter)
(5)A/C Compressor Clutch Diode
Figure 7:

Fuel Tank


Object Number: 761614  Size: LF
(1)Fuel Pump and Sender Assembly
(2)Fuel Pump
(3)Canister Vent Solenoid
(4)EVAP Canister
(5)Fuel Level Sender