- Inspect the control valve body (301)
for the following conditions:
| • | Worn or damaged oil pump drive shaft bearing journal (not serviceable
separately from the control valve body) |
| • | Damaged or porous casting |
| • | Damaged sealing surfaces |
| • | Debris in fluid passages |
- Use a small pick or screwdriver. Before
disassembly, inspect the control valve body (301) components for the following
conditions:
| • | Valves binding or sticking in their bores or bushings |
| • | Broken, missing or damaged springs |
| • | Missing or damaged retainers |
| • | Damaged solenoid valves |
| • | Debris in valve line-ups or solenoid valves |
- During disassembly, inspect the control
valve body for the following conditions:
| • | Worn or damaged valves, valve bores or bushings |
| • | Broken, missing or damaged springs |
| • | Missing or damaged retainers |
| • | Damaged solenoid valves |
| • | Debris in valve line-ups or solenoid valves |
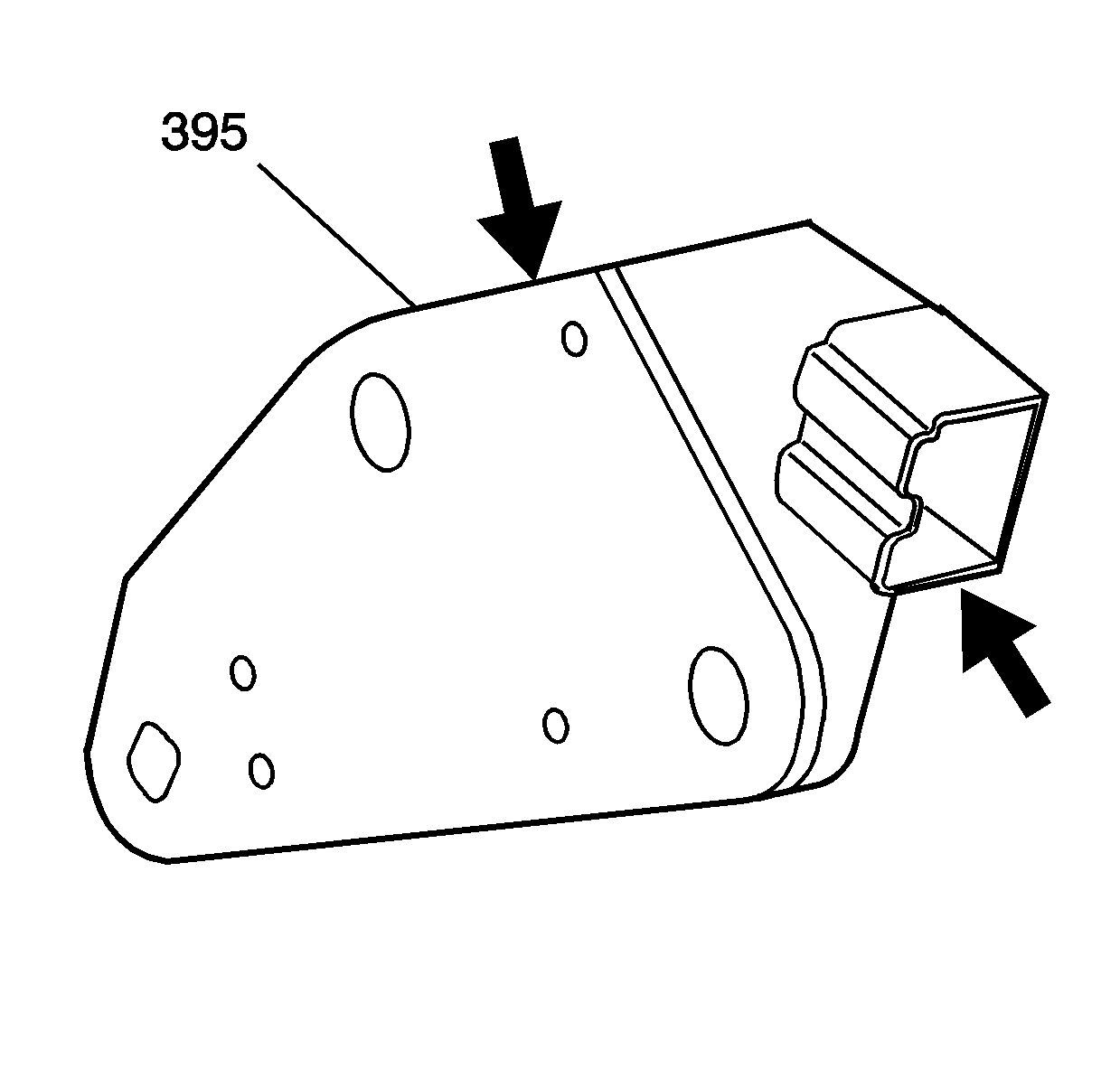
- Inspect the transmission
fluid pressure (TFP) manual valve position switch assembly (395) for the
following conditions:
| • | Damaged electrical connector terminals |
| • | Damaged switch membranes |
| • | Debris on the switch membranes |