GM Service Manual Online
For 1990-2009 cars only

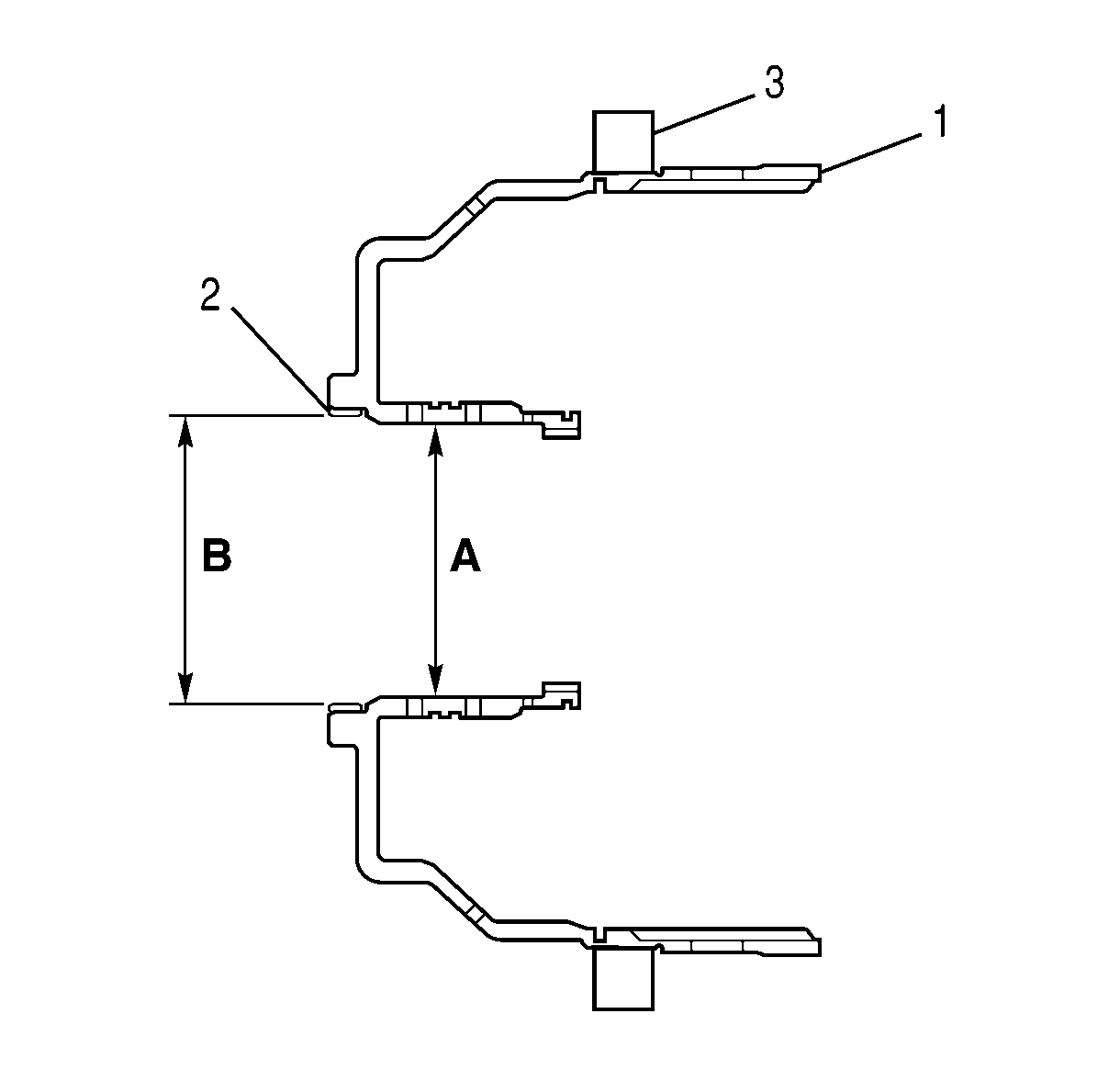
    Object Number: 1217080  Size: SH

    Important: The power take-off (PTO) gears are permanently staked to the 1-2-3-4, 4-5 clutch housing and are not serviceable. Turbine tone wheels are serviceable.

    Inspect the turbine tone wheel or PTO gear (3) for damage. Make sure a tone wheel is not dented or out-of-round.

  1. If the PTO gear is damaged, replace the 1-2-3-4, 4-5 clutch housing. If the tone wheel is damaged, replace the tone wheel.
  2. Measure the inside diameter (ID) of the 1-2-3-4, 4-5 clutch seal bore in the 1-2-3-4, 4-5 clutch housing (1) at dimension A.
  3. Replace the 1-2-3-4, 4-5 clutch housing (1) if the measurement exceeds the specification.

    Specification
    The 1-2-3-4, 4-5 clutch seal bore maximum ID is 74.05 mm (2.9154 in)

    Important: Replace the 1-2-3-4, 4-5 clutch housing bushing if the bushing is damaged or the specifications are not met.

  4. Inspect the bushing (2) inside the front of the 1-2-3-4, 4-5 clutch housing (1) for damage.
  5. Measure the ID of the bushing at dimension B.
  6. Replace the bushing if the measurement exceeds the specification.

    Specification
    The 1-2-3-4, 4-5 clutch housing bushing maximum ID is 78.17 mm (3.0776 in).