GM Service Manual Online
For 1990-2009 cars only

Removal Procedure


    Object Number: 12831  Size: SH
  1. Disconnect the accelerator cable cross slug from the throttle body lever.
  2. Disconnect the accelerator cable from the accelerator cable bracket.

  3. Object Number: 319387  Size: SH
  4. Disconnect the cruise control cable from the throttle lever and accelerator bracket, if applicable.

  5. Object Number: 260171  Size: SH
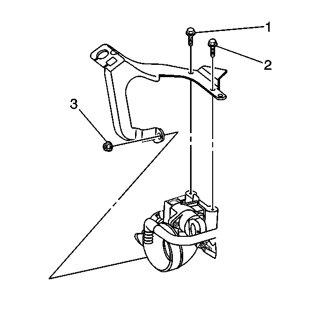
  6. Remove the nut (3) and bolts (1, 2) holding the accelerator cable bracket to the throttle body.
  7. Remove the accelerator cable bracket.

Installation Procedure


    Object Number: 260171  Size: SH
  1. Position the accelerator cable bracket on the throttle body.
  2. Notice: Use the correct fastener in the correct location. Replacement fasteners must be the correct part number for that application. Fasteners requiring replacement or fasteners requiring the use of thread locking compound or sealant are identified in the service procedure. Do not use paints, lubricants, or corrosion inhibitors on fasteners or fastener joint surfaces unless specified. These coatings affect fastener torque and joint clamping force and may damage the fastener. Use the correct tightening sequence and specifications when installing fasteners in order to avoid damage to parts and systems.

  3. Install the nut (3) and bolts (1, 2).
  4. Tighten

        • Tighten the bolts in sequence (2, 1) to 13 N·m (115 lb in).
        • Tighten the nut in sequence (3) to 10 N·m (89 lb in).

    Object Number: 12831  Size: SH
  5. Connect the cruise control cable into accelerator cable bracket.
  6. Connect the accelerator cable to the throttle body lever.
  7. Connect the cruise control cable to the throttle lever and accelerator bracket, if applicable.