GM Service Manual Online
For 1990-2009 cars only
Table 1: Lock Cylinder Switch - Endgate
Table 2: Security Indicator Lamp
Table 3: Theft Deterrent Control Module

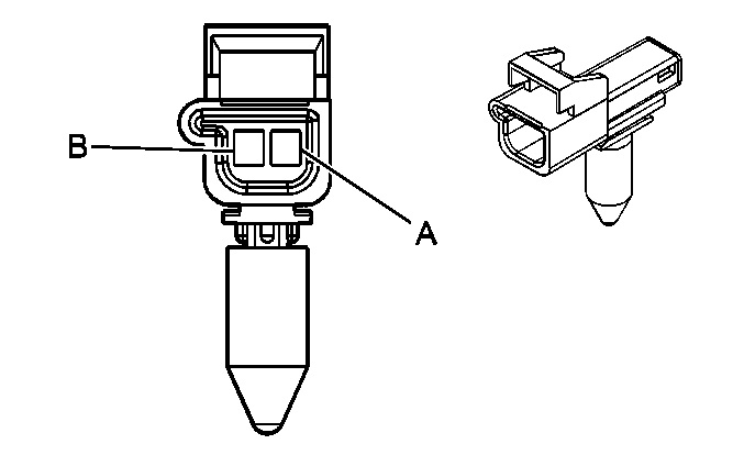
Lock Cylinder Switch - Endgate


Object Number: 684945  Size: CH

Connector Part Information

    • 15354699
    • 2-Way M METRI PAC 150 (NAT)

Pin

Wire Color

Circuit No.

Function

A

PPL

9124

Tailgate Key Cylinder Switch Signal

B

BLK

450

Ground

Security Indicator Lamp


Object Number: 35451  Size: CH

Connector Part Information

    • 12059251
    • 2-Way F Metri-Pack 150 Series (RED)

Pin

Wire Color

Circuit No.

Function

A

YEL

749

Security Indicator Control

B

ORN

640

Battery Positive Voltage

Theft Deterrent Control Module


Object Number: 40422  Size: CH

Connector Part Information

    • 12064762
    • 6-Way F Metri-Pack 150 Series (GRY)

Pin

Wire Color

Circuit No.

Function

A

ORN

2340

Battery Positive Voltage

B

BLK

1550

Ground

C

--

--

Not Used

D

PPL

1807

Class 2 Serial Data

E

PPL

1500

Ignition 0 Voltage

F

--

--

Not Used