| Table 1: | Cruise Control Module (CCM) |
| Table 2: | Turn Signal/Multifunction Switch C4 (K34) |
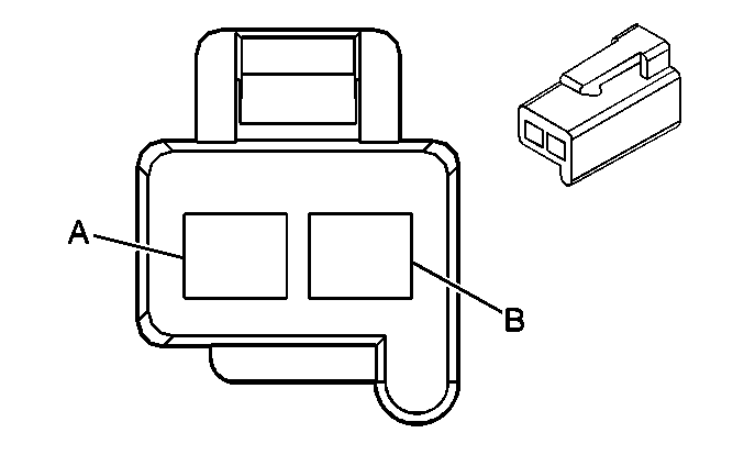
| Table 3: | Cruise Control Release Switch |
| |||||||
|---|---|---|---|---|---|---|---|
Connector Part Information |
| ||||||
Pin | Wire Color | Circuit No. | Function | ||||
A | GRY | 397 | Cruise Control On Switch Signal | ||||
B | DK BLU | 84 | Cruise Control Set/Coast Switch Signal | ||||
C | GRY/BLK | 87 | Cruise Control Resume/Accel Switch Signal | ||||
D | BRN | 86 | Cruise Control Release Signal | ||||
E | BLK/WHT | 451 | Ground | ||||
F | PNK | 39 | Ignition 1 Voltage | ||||
G | WHT | 17 | Stop Lamp Switch Signal | ||||
H | DK GRN | 83 | Cruise Control Inhibit Signal | ||||
J | WHT | 85 | Cruise Control Engaged Signal | ||||
K | DK GRN | 389 | Vehicle Speed Signal | ||||
| |||||||
|---|---|---|---|---|---|---|---|
Connector Part Information |
| ||||||
Pin | Wire Color | Circuit No. | Function | ||||
A | PNK | 39 | Ignition 1 Voltage | ||||
B | GRY | 397 | Cruise Control On Switch Signal | ||||
C | GRY/BLK | 87 | Cruise Control Resume/Accel Switch Signal | ||||
D | DK BLU | 84 | Cruise Control Set/Coast Switch Signal | ||||
| |||||||
|---|---|---|---|---|---|---|---|
Connector Part Information |
| ||||||
Pin | Wire Color | Circuit No. | Function | ||||
A | BRN | 86 | Cruise Control Release Signal | ||||
B | PNK | 39 | Ignition 1 Voltage | ||||