GM Service Manual Online
For 1990-2009 cars only

Removal Procedure

  1. Disable the SIR System. Refer to Disabling the SIR System in SIR.
  2. Remove the steering column trim covers. Refer to Steering Column Trim Covers Replacement - On Vehicle .

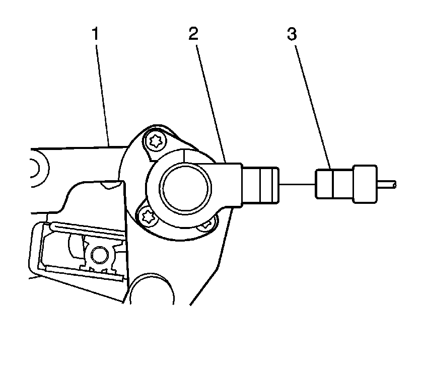
  3. Object Number: 891848  Size: SH
  4. Remove the automatic transaxle selector cable retainer (3) and cable (2) from the steering column control lever (1).
  5. Remove the shift lever . Refer to Shift Lever Replacement - On Vehicle .

  6. Object Number: 891843  Size: SH
  7. Remove the retaining screws (1) from the linear shift assembly.

  8. Object Number: 891841  Size: SH
  9. Twist to remove the linear shift park lock cable (2) from the lock housing (1).

  10. Object Number: 891839  Size: SH
  11. Remove the electrical connector (3).

  12. Object Number: 324916  Size: SH
  13. Remove the liner shift assembly.

Installation Procedure

Important: If the lock cylinder does not rotate to off/lock position, the linear shift park lock cable needs to be adjusted.


    Object Number: 324916  Size: SH
  1. Install the linear shift assembly.

  2. Object Number: 891843  Size: SH

    Notice: Use the correct fastener in the correct location. Replacement fasteners must be the correct part number for that application. Fasteners requiring replacement or fasteners requiring the use of thread locking compound or sealant are identified in the service procedure. Do not use paints, lubricants, or corrosion inhibitors on fasteners or fastener joint surfaces unless specified. These coatings affect fastener torque and joint clamping force and may damage the fastener. Use the correct tightening sequence and specifications when installing fasteners in order to avoid damage to parts and systems.

  3. Install the retaining screws.
  4. Tighten
    Tighten the screws to 13 N·m (10 lb ft).


    Object Number: 891839  Size: SH
  5. Connect the electrical connector (3).

  6. Object Number: 891841  Size: SH
  7. Twist to install the linear shift park lock cable (2) into the lock housing (1).

  8. Object Number: 891848  Size: SH
  9. Install the automatic transaxle selector cable (2) and retainer (3) to the steering column control lever (1).
  10. Install the shift lever. Refer to Shift Lever Replacement - On Vehicle .
  11. Install the steering column trim covers. Refer to Steering Column Trim Covers Replacement - On Vehicle .
  12. Enable the SIR system. Refer to Enabling the SIR System .