GM Service Manual Online
For 1990-2009 cars only

If a tire goes flat, avoid further tire and wheel damage by driving slowly to a level place. Turn on your hazard warning flashers.

Caution: Changing a tire can be dangerous. The vehicle can slip off the jack and roll over or fall on you or other people. You and they could be badly injured or even killed. Find a level place to change your tire. To help prevent the vehicle from moving:

  1. Set the parking brake firmly.
  2. Put the shift lever in P (Park).
  3. Turn off the engine and do not restart while the vehicle is raised.
  4. Do not allow passengers to remain in the vehicle.
To be even more certain the vehicle will not move, you should put blocks at the front and rear of the tire farthest away from the one being changed. That would be the tire, on the other side, at the opposite end of the vehicle.


Object Number: 819558  Size: B4

The following steps will tell you how to use the jack and change a tire.

Removing the Spare Tire and Tools


Object Number: 807139  Size: A3

The equipment you'll need is located in the storage compartment at the rear of the vehicle, on the passenger's side.

  1. Remove the side convenience net.
  2. Open the jack storage compartment by lifting up the tab and pulling the cover off.

  3. Object Number: 807141  Size: B3

      Jack

      Wing Bolt

      Jacking Instructions

      Folding Wrench

  4. Remove the jack and jacking tools by turning the wing bolt counterclockwise. Slightly lift up the jack from the bracket tab and then take it out of the storage compartment.
  5. Separate the jack and remove the folding wrench from the jack.

Object Number: 807145  Size: B3

The tools you'll be using include the jack (A), folding wrench (B), extension tube (C), wing nut (D), and J-Hook (E).

Removing the Spare Tire (Vehicles without the Sliding Rear Convenience Tray)

The compact spare tire is located under the vehicle, behind the rear bumper. Use the spare tire hoist to raise, lower and store the compact spare. See Compact Spare Tire for more information about the compact spare.


Object Number: 807143  Size: B3
  1. Hoist Shaft

  2. Folding Wrench

  3. Hoist Assembly

  4. Retainer

  5. Spring

  6. Compact Spare Tire

  1. Flip the rear cargo area carpet cut out, to expose the hoist shaft.
  2. Attach the folding wrench into the hoist shaft.
  3. Turn the folding wrench counterclockwise to lower the compact spare tire to the ground. Continue turning the wrench until the spare tire can be pulled out from under the vehicle.

  4. Object Number: 806433  Size: B3
  5. To remove the spare tire from the cable, tilt the retainer and slip it through the wheel opening.
  6. After removing the spare tire, turn the wrench clockwise to raise the cable back up.
  7. Do not store a full-size or a flat road tire under the vehicle. See "Storing a Flat (Vehicles without the Sliding Rear Convenience Tray)" and "Storing a Flat (Vehicles with the Sliding Rear Convenience Tray)" later in this section.

To continue changing the flat tire see "Removing the Flat Tire and Installing the Spare Tire" later in this section.


Object Number: 806384  Size: B3

If the spare tire will not lower, the secondary latch may be engaged causing the tire not to lower. Do the following to check the cable:

  1. Check under the vehicle to see if the cable is visible.
  2. If it's not visible, see "Secondary Latch System" later in this section.
  3. If it is visible, first try to tighten the cable by turning the folding wrench clockwise until you hear two clicks or feel it skip twice. You cannot over-tighten the cable.

  4. Then loosen the cable by turning the wrench counterclockwise three or four turns.
  5. If the spare tire has not lowered, tighten the cable all the way and then loosen it at least two times.
  6. If the spare tire did lower to the ground, continue with Step 4 under "Removing the Spare Tire (Vehicles without the Sliding Rear Convenience Tray)" earlier in this section.

  7. If you still cannot lower the spare tire to the ground, see "Secondary Latch System" later in this section.

Removing the Spare Tire (Vehicles with the Sliding Rear Convenience Tray)

The compact spare tire is located under the vehicle, ahead of the rear bumper. Use the spare tire hoist to raise, lower and store the compact spare. See Compact Spare Tire for more information about the compact spare.


  1. Object Number: 823214  Size: B3

    Sliding Rear Convenience Tray

  2. Storage Compartment Cap Hole

  3. Folding Wrench

  4. Extension Tube

  5. Retainer

  6. Compact Spare Tire

  7. Spring

  8. Hoist Shaft Assembly

  9. Hoist Shaft

  1. Push the release lever located in front of the handle of the sliding rear tray to release the pin from the floor track assembly.
  2. Pull the sliding rear tray toward you without lifting it up.
  3. You will hear a click when the sliding rear tray is locked into the extended position. This is where the sliding rear tray needs to be in order to be able to remove the compact spare tire.
  4. Open the driver's side storage compartment door of the sliding rear tray.
  5. Remove the cap on the bottom of the storage compartment and flip the carpet cut out, to expose the hoist shaft.
  6. Remove the extension tube that is attached at the front of the storage compartment.
  7. Insert one end of the extension tube to the hoist shaft and attach the folding wrench to the other end of the extension tube.
  8. Turn the folding wrench counterclockwise to lower the spare tire to the ground. Continue turning the wrench until the spare tire can be pulled out from under the vehicle.

  9. Object Number: 806433  Size: B3
  10. To remove the compact spare tire from the cable, tilt the retainer and slip it through the wheel opening.
  11. After removing the spare tire, turn the wrench clockwise to raise the cable back up.
  12. Do not store a full-size or a flat road tire under the vehicle. See "Storing a Flat (Vehicles without the Sliding Rear Convenience Tray)" and "Storing a Flat (Vehicles with the Sliding Rear Convenience Tray)" later in this section.

To continue changing the flat tire see "Removing the Flat Tire and Installing the Spare Tire" later in this section.


Object Number: 806384  Size: B3

If the spare tire will not lower, the secondary latch may be engaged causing the tire not to lower. Do the following to check the cable:

  1. Check under the vehicle to see if the cable is visible.
  2. If it's not visible, see "Secondary Latch System" following.
  3. If it is visible, first try to tighten the cable by turning the folding wrench clockwise until you hear two clicks or feel it skip twice. You cannot over-tighten the cable.

  4. Then loosen the cable by turning the wrench counterclockwise three or four turns.
  5. If the spare tire has not lowered, tighten the cable all the way and then loosen it at least two times.
  6. If the spare tire did lower to the ground, continue with Step 9 under "Removing the Spare Tire (Vehicles without the Sliding Rear Convenience Tray)" earlier in this section.

  7. If you still cannot lower the spare tire to the ground, see "Secondary Latch System" following.

Secondary Latch System

Your vehicle has an underbody mounted tire hoist assembly equipped with a secondary latch system. It's designed to stop the compact spare tire from suddenly falling off your vehicle if the cable holding the spare tire is damaged. For the secondary latch to work, the tire must be stowed with the valve stem pointing down. See "Storing the Spare Tire and Tools" later in this section for instructions on storing the compact spare tire correctly.

Caution: Before beginning this procedure read all the instructions. Failure to read and follow the instructions could damage the hoist assembly and you and others could get hurt. Read and follow the instructions listed next.

Front-Wheel Drive

To release the spare tire from the secondary latch, do the following:

Caution: Someone standing too close during the procedure could be injured by the jack. If the spare tire does not slide off the jack completely, make sure no one is behind you or on either side of you as you pull the jack out from under the spare.

If the cable is not visible, start this procedure at Step 2.


    Object Number: 806546  Size: B3
  1. Turn the wrench counterclockwise until approximately 6 inches (15 cm) of cable is exposed.
  2. Attach the folding wrench to the jack and raise the jack at least 10 turns.
  3. Place the jack under the vehicle, ahead of the rear bumper. Position the center lift point of the jack under the center of the spare tire.

  4. Object Number: 812746  Size: B3
  5. Turn the folding wrench clockwise to raise the jack until it lifts the secondary latch spring.
  6. Keep raising the jack until the spare tire stops moving upward and is held firmly in place, this lets you know that the secondary latch has released and the spare tire is balancing on the jack.

  7. Object Number: 808599  Size: B3
  8. Lower the jack by turning the folding wrench counterclockwise. Keep lowering the jack until the spare tire slides off the jack.

  9. Object Number: 830399  Size: B3
  10. Disconnect the wrench from the jack and carefully remove the jack. Use one hand to push against the spare while firmly pulling the jack out from under the spare tire with the other hand.
  11. When the spare tire has been completely lowered, tilt the retainer and slip it through the wheel opening.
  12. If the cable is hanging, turn the wrench clockwise to raise the cable back up.

Have the hoist assembly inspected as soon as you can. You will not be able to store a spare tire using the hoist assembly until it has been repaired or replaced.

All-Wheel Drive

To release the spare tire from the secondary latch, do the following:

Caution: Someone standing too close during the procedure could be injured by the jack. If the spare tire does not slide off the jack completely, make sure no one is behind you or on either side of you as you pull the jack out from under the spare.

If the cable is not visible, start this procedure at Step 2.


    Object Number: 806546  Size: B3
  1. Turn the wrench counterclockwise until approximately 6 inches (15 cm) of cable is exposed.
  2. Attach the folding wrench to the jack and raise the jack at least 10 turns.
  3. Place the jack under the vehicle, ahead of the rear bumper. Position the center lift point of the jack under the center of the spare tire.

  4. Object Number: 812746  Size: B3
  5. Turn the folding wrench clockwise to raise the jack until it lifts the secondary latch spring.
  6. Keep raising the jack until the spare tire stops moving upward and is held firmly in place, this lets you know that the secondary latch has released.

  7. Object Number: 806547  Size: B3
  8. Lower the jack by turning the folding wrench counterclockwise. Keep lowering the jack until the spare tire is resting on the folding wrench.

  9. Object Number: 806548  Size: B3
  10. Grasp the spare tire with both hands and pull it out from under the vehicle.
  11. Reach under the vehicle and remove the folding wrench and jack.
  12. When the spare tire has been completely lowered, tilt the retainer and slip it through the wheel opening.
  13. If the cable is hanging, turn the wrench clockwise to raise the cable back up.

Have the hoist assembly inspected as soon as you can. You will not be able to store a spare tire using the hoist assembly until it has been repaired or replaced.

Removing the Flat Tire and Installing the Spare Tire

  1. If there is a wheel cover, loosen the plastic nut caps with the wheel wrench. They won't come off. Then, using the flat end of the wheel wrench, pry along the edge of the cover until it comes off. Be careful; the edges may be sharp. Don't try to remove the cover with your bare hands.
  2. If your vehicle has aluminum wheels, remove the wheel nut caps using the wheel wrench.


    Object Number: 811580  Size: A2

    Loosen the wheel nuts - but do not remove them - using the folding wrench. (Turn the handle about 180 degrees, then flip the handle back to the starting position. This avoids taking the wrench off the lug nut for each turn.)

  3. For wheels with a wheel lock key, use the wheel lock key between the lock nut and folding wrench. The key is supplied in the front passenger door pocket.
  4. Notice: If this vehicle has wheel locks and an impact wrench is used to remove the wheel nuts, the lock nut or wheel lock key could be damaged. Do not use an impact wrench to remove the wheel nuts if this vehicle has wheel locks.


    Object Number: 823217  Size: A3

    Near each wheel, there is a notch in the vehicle's body. Position the jack and raise the jack head until it fits firmly into the notch in the vehicle's frame nearest the flat tire.

    Notice: If a jack is used to raise the vehicle without positioning it correctly, the vehicle could be damaged. When raising the vehicle on a jack, avoid contact with the rear axle control arms.

  5. Do not raise the vehicle yet. Put the compact spare tire near you.
  6. Caution: Getting under a vehicle when it is jacked up is dangerous. If the vehicle slips off the jack you could be badly injured or killed. Never get under a vehicle when it is supported only by a jack.

    Caution: Raising your vehicle with the jack improperly positioned can damage the vehicle and even make the vehicle fall. To help avoid personal injury and vehicle damage, be sure to fit the jack lift head into the proper location before raising the vehicle.


    Object Number: 808425  Size: A2

    Attach the folding wrench to the jack, and turn the wrench clockwise to raise the jack head 3 inches (7.6 cm).

  7. Raise the vehicle by turning the folding wrench clockwise in the jack. Raise the vehicle far enough off the ground so there is enough room for the spare tire to fit under the wheel well.
  8. Remove all the wheel nuts and take off the flat tire.

  9. Object Number: 811105  Size: A2

    Remove any rust or dirt from the wheel bolts, mounting surfaces and spare wheel.

    Caution: Rust or dirt on a wheel or other parts to which it is fastened, can make the wheel nuts become loose and eventually the wheel could come off and cause a crash. Always remove all rust and dirt from wheels and other parts.

    Caution: Never use oil or grease on bolts or nuts because the nuts might come loose. The vehicle's wheel could fall off, causing a crash.

  10. Install the spare tire and put the wheel nuts back on with the rounded end of the nuts toward the wheel. Tighten each nut by hand until the wheel is held against the hub.

  11. Object Number: 811586  Size: B3
  12. Lower the vehicle by attaching the folding wheel wrench to the jack and turning the wrench counterclockwise. Lower the jack completely.

  13. Object Number: 806545  Size: A2

    Tighten the wheel nuts firmly in a crisscross sequence, as shown.

    Caution: Incorrect wheel nuts or improperly tightened wheel nuts can cause the wheel to become loose and even come off. This could lead to an accident. Be sure to use the correct wheel nuts. If you have to replace them, be sure to get new GM original equipment wheel nuts. Stop somewhere as soon as you can and have the nuts tightened with a torque wrench to 100 lb-ft (140 N·m).

    Notice: Improperly tightened wheel nuts can lead to brake pulsation and rotor damage. To avoid expensive brake repairs, evenly tighten the wheel nuts in the proper sequence and to the proper torque specification.

  14. Don't try to put a wheel cover on the compact spare tire. It won't fit. Store the wheel cover securely in the rear of the vehicle until you have the flat tire repaired or replaced.
  15. Notice: Wheel covers will not fit on your vehicle's compact spare. If you try to put a wheel cover on the compact spare, the cover or the spare could be damaged.

Storing a Flat or Spare Tire and Tools

Caution: Storing a jack, a tire, or other equipment in the passenger compartment of the vehicle could cause injury. In a sudden stop or collision, loose equipment could strike someone. Store all these in the proper place.

Caution: The underbody-mounted spare tire needs to be stored with the valve stem pointing down. If the spare tire is stored with the valve stem pointing upwards, the secondary latch will not work properly and the spare tire could loosen and suddenly fall from the vehicle. If this happened when the vehicle was being driven, the tire might contact a person or another vehicle, causing injury and damage to itself. Be sure the underbody-mounted spare tire is stored with the valve stem pointing down.

Storing the Spare Tire and Tools

  1. Lay the compact spare tire on the ground at the rear of the vehicle. Position the compact spare tire so the valve stem is pointed down facing the rear of the vehicle.
  2. Lower the cable to the ground. See "Removing the Spare Tire without the Sliding Rear Convenience Tray" or "Removing the Spare Tire with the Sliding Rear Convenience Tray" earlier in this section.
  3. Tilt the retainer downward and slip it through the center hole of the spare tire.
  4. Make sure the retainer is fully seated across the underside of the wheel.

  5. Attach the folding wrench to the hoist shaft.
  6. Use the extension tube if you have the sliding rear convenience tray.

  7. Turn the folding wrench clockwise to lift the spare tire.
  8. For all-wheel-drive vehicles, when the tire reaches the stabilizer bar, move the tire over the bar, then continue to turn the folding wrench clockwise to lift the spare tire.

  9. When the tire is almost in the stored position, turn the tire so the valve stem is towards the rear of the vehicle.
  10. This will help when you check and maintain tire pressure in the spare.

  11. Raise the tire fully against the underside of the vehicle. Continue turning the folding wrench until you feel more than two clicks. This indicates that the compact spare tire is secure and the cable is tight. The spare tire hoist cannot be overtightened.

  12. Object Number: 806301  Size: B4

      Push and Pull

      Turn Tire

  13. Make sure the tire is stored securely. Push, pull, and then try to turn the tire. If the tire moves, use the folding wrench to tighten the cable.

Put back all tools as they were stored in the jack storage compartment and put the compartment cover back on.

To put the cover back on, slip the tabs on the bottom of the cover into the bottom of the cover opening. Push the cover in place and push down the tab on the top of the cover so that it rests in the groove. This secures the cover in place.

When you replace the compact spare with a full-size tire, reinstall the bolt-on wheel covers or the center cap, which ever your vehicle has. Tighten them "hand tight" over the wheel nuts, using the folding wrench.

Storing the Flat Tire without the Sliding Rear Convenience Tray


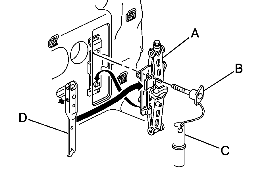
  1. Object Number: 852767  Size: B3

    D-ring

  2. Wing Nut

  3. J-hook

  4. Valve Stem

  5. Full-size Tire

  1. Flip up the D-ring located in the rear cargo area.
  2. Lay the tire in the rear cargo area of the vehicle with the valve stem up with the center hole of the tire over the D-ring.
  3. For vehicles with aluminum wheels, remove the center cap by tapping the back of the cap with the folding wrench.

  4. Remove the J-hook and the wing nut from the back of the jack access door. Assemble the wing nut and the J-hook.
  5. Install the wing nut and the J-hook to the D-ring through the center hole of the tire.
  6. Tighten the wing nut to secure the tire to the floor.
  7. Push and pull on the tire to make sure the tire is secure and does not move.

  8. Put back all tools as they were stored in the jack storage compartment. Attach the wrench back to the jack. Put the jack base on the bracket tab and sit the jack properly between the two "ears" of the bracket. Use the bolt to tighten the jack.
  9. Put the compartment cover back on, slip the tabs on the bottom of the cover into the bottom of the cover opening. Push the cover in place and push down the tab on the top of the cover so that it rests in the groove. This secures the cover in place.

Storing the Flat Tire with the Sliding Rear Convenience Tray


  1. Object Number: 852768  Size: B3

    D-ring

  2. Sliding Rear Convenience Tray

  3. Wing Nut

  4. J-hook

  5. Full-size Tire

  6. Storage Compartment Cap Hole

  1. Push the sliding rear tray forward to the stored position.
  2. Open the driver's side storage compartment door of the sliding rear tray.
  3. Remove the rear cap on the bottom of the storage compartment and flip the D-ring up.
  4. Lay the tire on top of the driver's side storage compartment with the valve stem down. Make sure you can see the D-ring through the center hole of the tire.
  5. Remove the J-hook and the wing nut from the back of the jack access door. Assemble the wing nut and the J-hook.
  6. Install the wing nut and the J-hook to the D-ring through the center hole of the tire.
  7. Tighten the wing nut to secure the tire to the floor.
  8. Push and pull on the tire to make sure the tire is secure and does not move.
  9. Put back all tools as they were stored in the storage compartment. Attach the wrench back to the jack. Put the jack base on the bracket tab and sit the jack properly between the two ears of the bracket. Use the bolt to tighten the jack.
  10. Put the compartment cover back on, slip the tabs on the bottom of the cover into the bottom of the cover opening. Push the cover in place and push down the tab on the top of the cover so that it rests in the groove. This secures the cover in place.