GM Service Manual Online
For 1990-2009 cars only

Information on 4T65-E MN7, M15 and M76 Front Wheel Drive Automatic Transmission Valve Body Reconditioning DTCs P0741, P0742, P0757, P0842, Harsh Shifts or Slips

Subject:Information On 4T65-E MN7, M15 and M76 Front Wheel Drive Automatic Transmission Valve Body Reconditioning, DTCs P0741, P0742, P0757, P842, Harsh Shifts or Slips

Models:2001-2005 Buick LeSabre, Park Avenue
2002-2007 Buick Rendezvous, Rendezvous AWD
2005-2007 Buick Terraza, Terraza EXT, Terraza 4WD
2005-2008 Buick Allure (Canada Only), LaCrosse
2006-2008 Buick Lucerne
2001 Chevrolet Lumina
2001-2005 Chevrolet Venture, Venture EXT, Venture 4WD
2001-2007 Chevrolet Monte Carlo
2001-2008 Chevrolet Impala, Lumina (Export Only)
2005-2008 Chevrolet Uplander, Uplander EXT, Uplander 4WD
2001-2002 Oldsmobile Intrigue
2001-2003 Oldsmobile Silhouette, Silhouette EXT
2004 Oldsmobile Silhouette EXT
2001-2005 Pontiac Montana, Montana EXT
2001-2005 Pontiac Aztek, Aztek AWD, Bonneville
2001-2008 Pontiac Grand Prix
2002-2005 Pontiac Montana 4WD
2005-2006 Pontiac Montana SV6 (AWD)
2005-2008 Pontiac Montana SV6, Montana SV6 EXT
2005-2006 Saturn Relay, Relay AWD
2005-2007 Saturn Relay EXT
with Hydra-Matic® 4T65-E (RPOs - MN7, M15, M76) Automatic Transmission



This bulletin is being updated to include Related Service Document information. Please discard Corporate Bulletin Number 08-07-30-002 (Section 07 -- Transmission/Transaxle).


The following new service information will aid technicians in providing easy to follow valve body reconditioning instructions and new illustrations to simplify reassembly of the valve body.

Related Service Document

Corporate Bulletin Number 02-07-30-013 : Incorrect Transmission Shifts, Poor Engine Performance, Harsh 1-2 Upshifts, Slips 1st and Reverse, Torque Converter Clutch (TCC) Stuck Off/On, DTCs P0757, P0741, P0742, P0730, P0756.

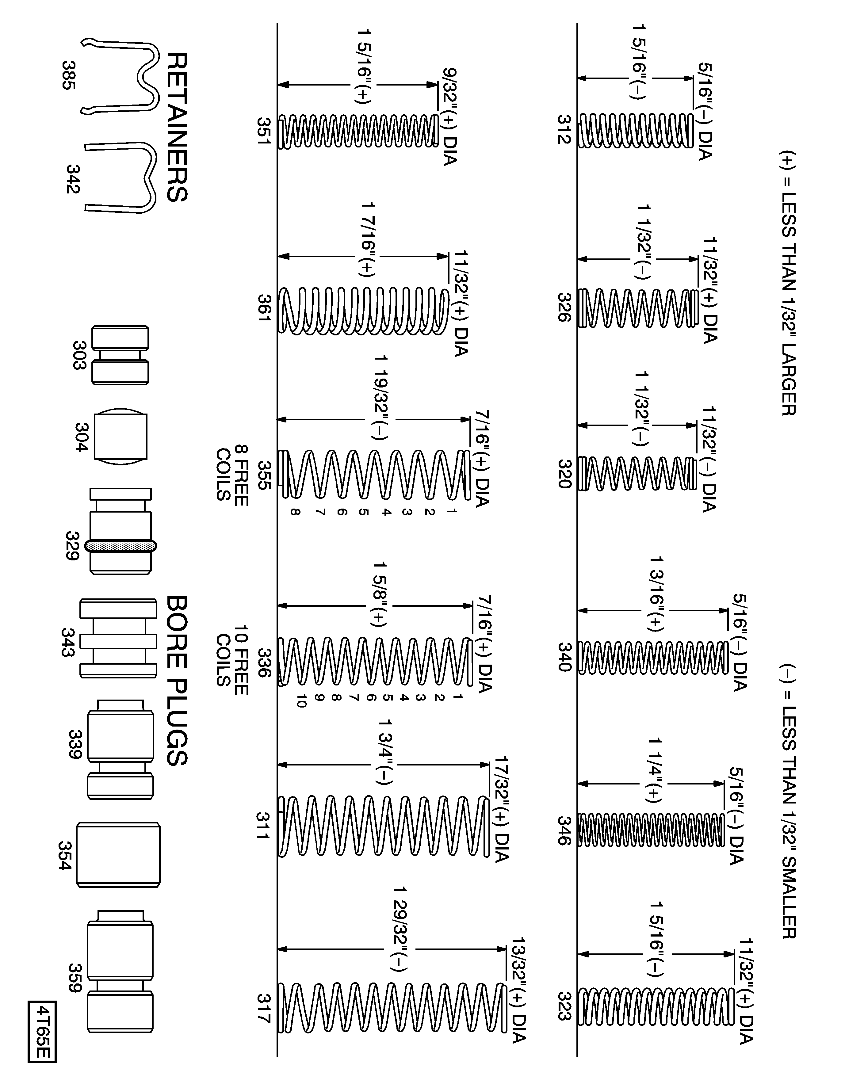
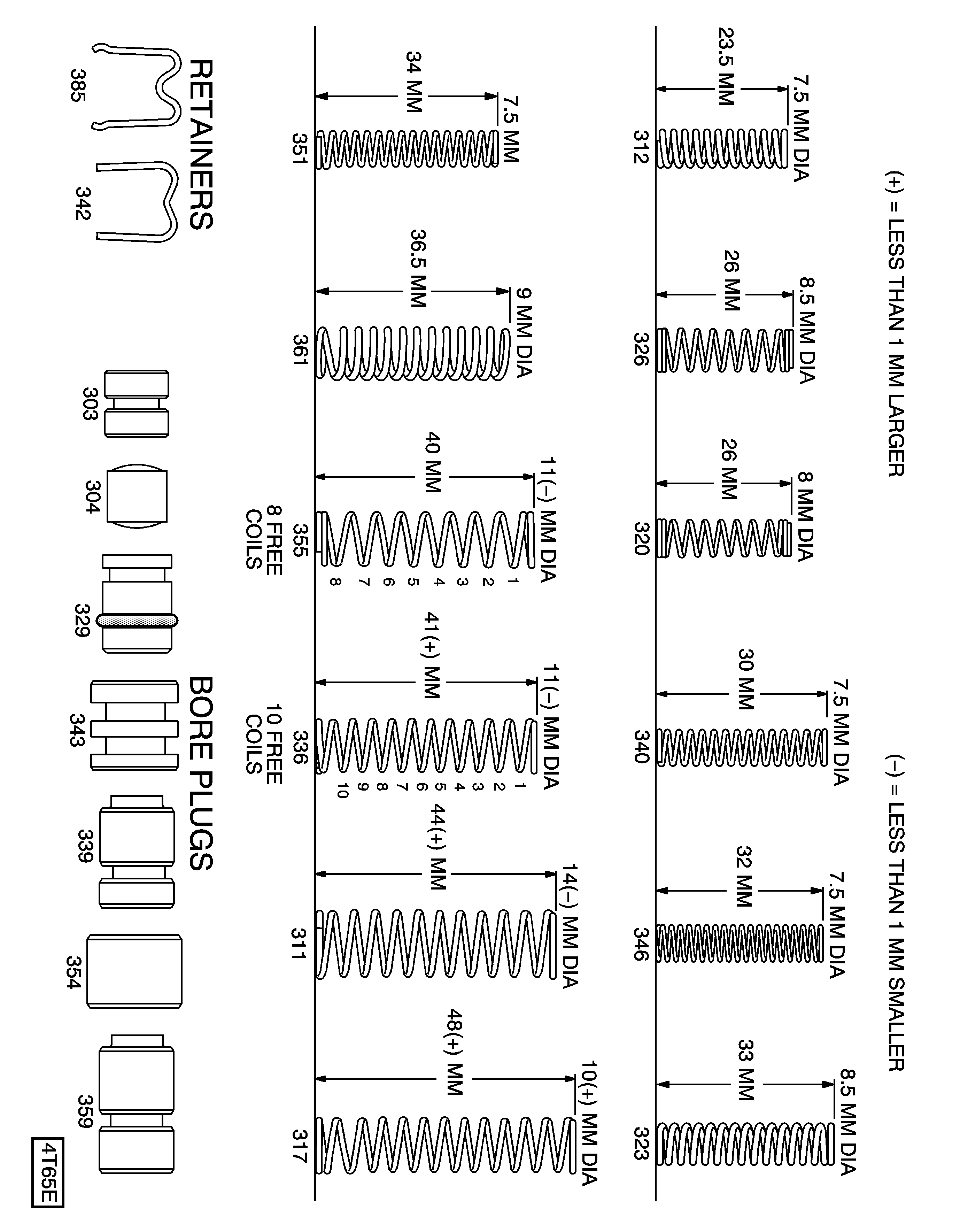
Important: If valve body cleaning is not required, DO NOT disassemble bores unless it is necessary to verify movement of valves.

Inspection Procedure

  1. Using the exploded views in this bulletin, inspect each bore for freedom of valve(s) movement and evidence of debris. Pay particular attention to those valves related to the customer’s concern.
  2. Verify movement of the valves in their normal installed position. Valves may become restricted during removal or installation. This is normal due to small tolerances between the valves and bores.
  3. If a valve is restricted and cannot be corrected by cleaning the valve and bore, replace the valve body. Describe the restricted valve on the repair order.

Notice: Be sure all solenoids are installed with the electrical connectors facing the non-machined (cast) side of the valve body. Otherwise, the solenoids will bind against the transmission case as the valve body bolts are tightened and damage may occur.

Disassembly/Reassembly

  1. If a valve is restricted by a metal burr from machining that bore, remove the valve and burr, then inspect movement in the valve’s normal position. If no other debris or restrictions are found, reassemble the valve body and install in the transmission.
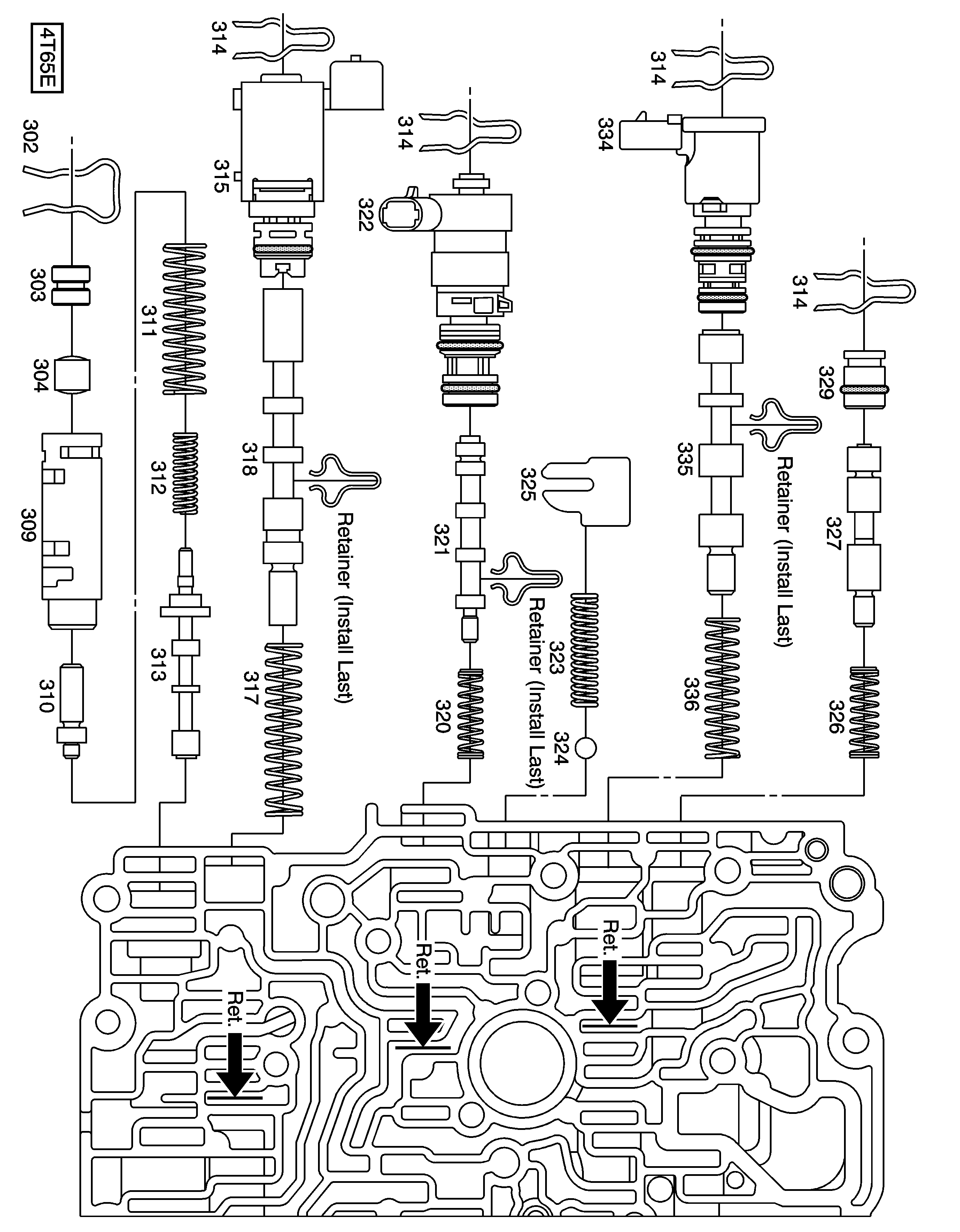
  2. If the valve body has been contaminated with debris from another transmission component failure, disassemble all bores for complete cleaning of all valve body components. If possible, keep individual bore parts separated for ease of reassembly. Use the following illustrations in this bulletin for a positive identification and location of individual parts:
  3. • Left Side Control Valve Body Assembly
    • Right Side Control Valve Body Assembly
    • Control Valve Body Assembly Chart, Valve Springs and Bore Plugs

    Caution: Use appropriate eye protection when cleaning the valve body to prevent injury.

  4. Using GM Brake Clean, or equivalent, in a safe and clean environment (clean aluminum pan) clean the valve body and dry it with compressed air.
  5. Clean individual valve body components with GM Brake Clean, or equivalent. Coat each valve with clean ATF and reassemble in each bore. Check each valve for free movement during assembly of each bore.

Left Side Control Valve Body Assembly

 


Object Number: 2021845  Size: FP

Call Out Number

Description

301

Control Valve Body (Machined)

302

Line Boost Valve And Bushing Retainer

303

Line Boost Valve Bore Plug

304

Line Boost Valve

309

Reverse Boost Valve Bushing

310

Reverse Boost Valve

311

Pressure Regulator Valve Spring Outer

312

Pressure Regulator Valve Inner Spring

313

Pressure Regulator Valve

314

1-2, 3-4 Shift Solenoid Valve Retainer

Pressure Control Solenoid Valve Retainer

TCC PWM Solenoid Valve Retainer

TCC Regulator Apply Valve Bore Plug Retainer

315

1-2, 3-4 Shift Solenoid Assembly

317

1-2 Shift Valve Spring

318

1-2 Shift Valve

320

Torque Signal Regulator Valve Spring

321

Torque Signal Regulator Valve

322

Pressure Control Solenoid Valve Assembly

323

Line Pressure Relief Valve Spring

324

Line Pressure Relief Valve

325

Line Pressure Relief Valve Spring Retainer

326

TCC Regulator Apply Valve Spring

327

TCC Regulator Apply Valve

329

TCC Regulator Apply Valve Bore Plug

334

TCC PWM Solenoid Valve Assembly

335

TCC Control Valve

336

TCC Control Valve Spring

Right Side Control Valve Body Assembly

 


Object Number: 2021850  Size: FP

Call Out Number

Description

301

Control Valve Body (Machined)

314

1-2, 3-4 Accumulator Valve Retainer

4-3 Manual Downshift Valve Retainer

2-3 Shift Solenoid Valve Retainer

315

1-2, 3-4 Shift Solenoid Valve Assembly

339

1-2 Accumulator Valve Bore Plug

340

3-4 Accumulator Valve Spring

341

3-4 Accumulator Valve

342

2-3 Accumulator Valve Bushing

343

2-3 Accumulator Valve Bore Plug

344

2-3 Accumulator Valve

345

2-3 Accumulator Valve Bushing

346

2-3 Accumulator Valve Spring

350

1-2 Accumulator Valve

351

1-2 Accumulator Valve Spring

353

3-2 Manual Downshift Valve Retainer

354

3-2 Manual Downshift Valve Bore Plug

355

3-2 Manual Downshift Valve Spring

356

3-2 Manual Downshift Valve

357

2-3 Shift Valve

359

4-3 Manual Downshift Valve Bore Plug

360

4-3 Manual Downshift Valve

361

4-3 Manual Downshift Valve Spring

362

3-4 Shift Valve

363

Reverse Servo Boost Valve Bore Pin

Forward Servo Boost Valve Bore Pin

366

Reverse Servo Boost Valve Spring

Forward Servo Boost Valve Spring

367

Reverse Servo Boost Valve

Forward Servo Boost Valve

385

2-3 Accumulator Valve Retainer

1997-2000 M.Y. Only -- Right Side Control Valve Body Assembly

 


Object Number: 2045364  Size: FP

Call Out Number

Description

363

Reverse Servo Boost Valve Bore Pin

Forward Servo Boost Valve Bore Pin

366

Reverse Servo Boost Valve Spring

Forward Servo Boost Valve Spring

367

Reverse Servo Boost Valve

Forward Servo Boost Valve

Valve Body Spring and Bore Plug Chart (Metric)

 


Object Number: 2021849  Size: FP

Valve Body Spring and Bore Plug Chart (Inch)

 


Object Number: 2021853  Size: FP