GM Service Manual Online
For 1990-2009 cars only

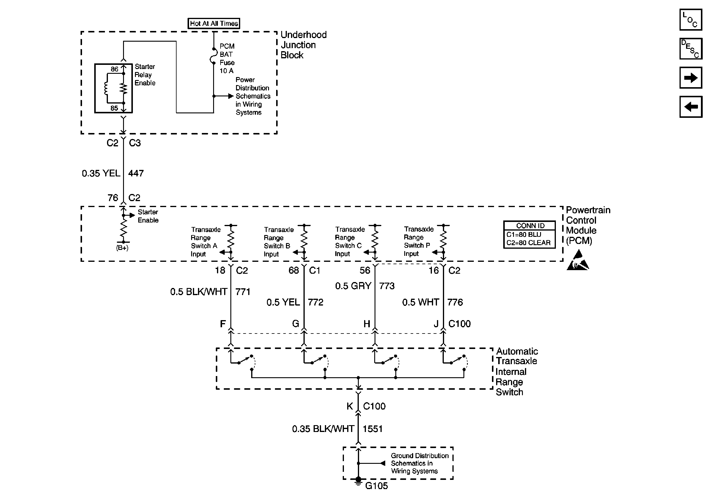
Refer to Engine Controls Schematics

Starter Enable Control


Object Number: 397479  Size: FS
Engine Controls Components
Powertrain On Board Diagnostic (OBD) System Check
.

Circuit Description

The PCM has the ability to disable the starter operation if conditions inappropriate for starter operation exist. The PCM disables the starter if the engine is running, if a correct VTD password is not received from the VTD system, or if the vehicle operator attempts to engage the starter for an extended period of time.

The PCM controlled starter system consists of the following components:

    • The starter enable relay
    • The transaxle range or park/neutral position (PNP) switch
    • The ignition switch
    • The starter solenoid
    • The PCM

Diagnostic Aids

The PCM Controlled Starter Diagnosis table is intended to identify electrical malfunctions that can occur with the system. For additional system diagnosis, refer to Diagnostic System Check - Engine Electrical in Engine Electrical.

Check for the following conditions:

    • A faulty connection at the PCM , the starter enable relay, the PNP switch, the ignition switch, or the starter solenoid
        Inspect the harness connectors for the following conditions:
       - Backed out terminals
       - Improper mating
       - Broken locks
       - Improperly formed or damaged terminals
       - Faulty terminal-to-wire connections
    • Inspect the wiring harness for damage.
    • VIN 1--Either of the following conditions can cause the PCM to disable the starter operation:
       - The engine is running.
       - The starter has been continuously engaged for more than 30 seconds.
       - A correct password has not been received from the VTD system.
    • VIN K--Either of the following conditions can cause the PCM to disable the starter operation:
       - The engine is running.
       - The starter has been continuously engaged for more than 15 seconds.
       - A correct password has not been received from the VTD system.

Step

Action

Values

Yes

No

1

Does the starter run continuously?

--

Go to Step 8

Go to Step 2

2

Was the Powertrain On-Board Diagnostic (OBD) System Check performed?

--

Go to Step 3

Go to Powertrain On Board Diagnostic (OBD) System Check

3

Are any other DTCs set?

 

Go to Diagnostic Trouble Code (DTC) List/Type

Go to Step 4

4

Remove the starter relay and probe the relay switch feed with a test lamp connected to ground.

Does the test lamp illuminate?

--

Go to Step 5

Go to Step 10

5

Important: When performing this step, the engine may crank. Ensure that the following conditions are met:

   • Leave the ignition off.
   • Place the vehicle in PARK and set the parking brake.
   • Remove all diagnostic tools, equipment, and shop towels from the engine compartment.

  1. Leave the starter relay disconnected.
  2. Connect a fused jumper between the relay switch feed and the relay solenoid feed in the relay cavity.

Does the engine crank?

--

Go to Step 6

Go to Step 22

6

  1. Turn on the ignition.
  2. Probe the relay coil feed with a test lamp that is connected to ground.

Does the test lamp illuminate?

--

Go to Step 7

Go to Step 11

7

Probe the relay control circuit with a test lamp connected to B+.

Does the test lamp illuminate?

--

Go to Step 24

Go to Step 23

8

Remove the starter relay.

Does the starter run continuously?

--

Go to Step 19

Go to Step 9

9

  1. Verify that the ignition is OFF.
  2. Probe the relay coil feed circuit at the relay connector with a test lamp connected to ground.

Does the test lamp illuminate?

--

Go to Step 14

Go to Step 30

10

Is the relay switch feed fuse open?

--

Go to Step 12

Go to Step 13

11

Is the relay coil feed fuse open?

--

Go to Step 15

Go to Step 17

12

Test the feed circuit of the relay switch for a short to ground. Repair the circuit if necessary. Refer to Wiring Repairs in Wiring Systems.

Was a repair necessary?

--

Go to Step 32

Go to Step 20

13

Test the feed circuit of the relay switch for an open. Repair the circuit if necessary. Refer to Wiring Repairs in Wiring Systems.

Was a repair necessary?

--

Go to Step 32

--

14

Test the feed circuit of the relay coil and all shared circuits for a short to voltage. Repair the circuit if necessary. Refer to Wiring Repairs in Wiring Systems.

Was a repair necessary?

--

Go to Step 32

Go to Step 28

15

Test the feed circuit of the relay coil and all shared circuits for a short to ground. Repair the circuit if necessary. Refer to Wiring Repairs in Wiring Systems.

Was a repair necessary?

--

Go to Step 32

Go to Step 16

16

  1. Install the starter relay.
  2. Verify that the relay coil feed fuse is good.
  3. Disconnect the PCM connector C2.
  4. Set the DMM to measure amps.
  5. Connect the DMM between the relay control circuit at the PCM connector and ground.
  6. Turn the ignition to the START position.
  7. Monitor the current reading for at least 2 minutes.

Is the current reading within the specified range?

0.5-1.5 A

Go to Step 32

Go to Step 30

17

Test the feed circuit of the relay coil for an open. Repair the circuit if necessary. Refer to Wiring Repairs in Wiring Systems.

Was a repair necessary?

--

Go to Step 32

Go to Step 18

18

Test the feed circuit for the ignition switch for an open. Repair the circuit if necessary.

Was a repair necessary?

--

Go to Step 32

Go to Step 27

19

Test the feed circuit for the starter solenoid for a short to voltage. Repair the circuit if necessary.

Was a repair necessary?

--

Go to Step 32

Go to Step 29

20

Test the feed circuit for the starter solenoid for a short to ground. Repair the circuit if necessary.

Was a repair necessary?

--

Go to Step 32

Go to Step 21

21

  1. Verify that the relay and a good relay switch feed fuse are installed.
  2. Disconnect the solenoid feed circuit at the solenoid.
  3. Connect a test lamp to ground and probe the solenoid feed at the solenoid.
  4. Turn the ignition switch to START.

Does the test lamp illuminate for more than 5 seconds?

--

Go to Step 29

Go to Step 30

22

Test the feed for the starter solenoid for an open. Repair the circuit if necessary.

Was a repair necessary?

--

Go to Step 32

Go to Step 25

23

Test the control circuit for the starter relay for an open or a short to voltage. Repair the circuit if necessary.

Was a repair necessary?

--

Go to Step 32

Go to Step 26

24

Inspect for a faulty connection at the relay, and repair if necessary.

Was a repair necessary?

--

Go to Step 32

Go to Step 30

25

Inspect for a faulty connection in the feed circuit for the starter solenoid at the starter solenoid, and repair if necessary.

Was a repair necessary?

--

Go to Step 32

Go to Step 29

26

Inspect for a faulty connection in the control circuit for the relay at the PCM, and repair if necessary.

Was a repair necessary?

--

Go to Step 32

Go to Step 31

27

Inspect for a faulty connection in the feed circuits for the relay and the ignition switch at the ignition switch, and repair if necessary.

Was a repair necessary?

--

Go to Step 32

Go to Step 28

28

Replace the ignition switch. Refer to Ignition and Start Switch Replacement in Instrument Panel, Gauges, and Console.

Did you complete the repair?

--

Go to Step 32

--

29

Replace the starter solenoid. Refer to Starter Motor Replacement in Engine Electrical.

Did you complete the repair?

--

Go to Step 32

--

30

Replace the starter relay.

Did you complete the repair?

--

Go to Step 32

--

31

Important: The replacement PCM must be programmed. Refer to Powertrain Control Module Replacement/Programming .

Replace the PCM.

Did you complete the repair?

--

Go to Step 32

--

32

  1. Install any parts that were removed in order to perform the tests.
  2. Attempt to crank the engine.

Does the engine crank normally?

--

System OK

Go to Step 2