GM Service Manual Online
For 1990-2009 cars only
Makes
🢒
Pontiac
🢒
2000
🢒
Bonneville
🢒
Restraints
🢒
SIR
🢒 SIR Schematics
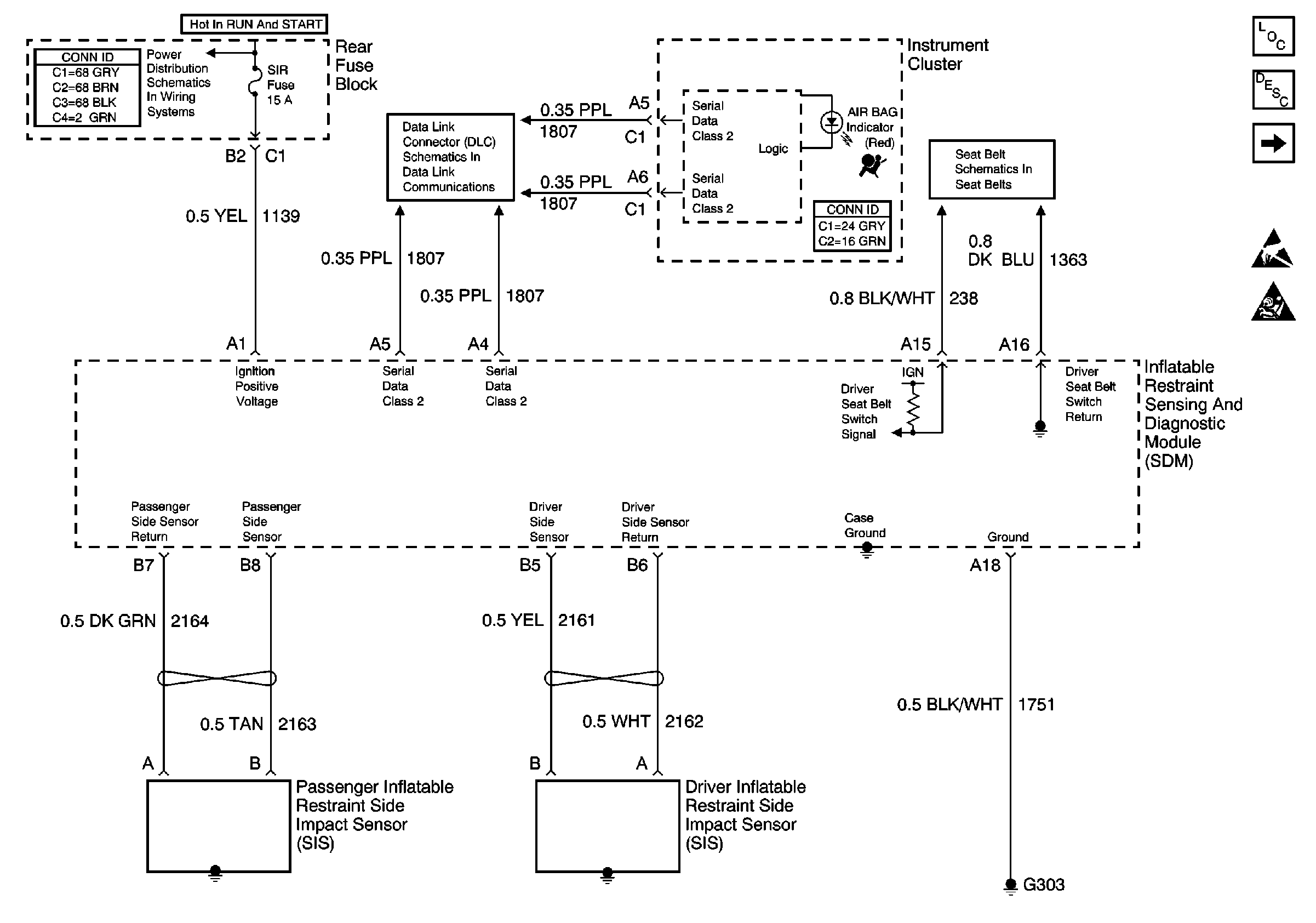
Figure
1:
Power, Ground, and Side Impact Sensors
SIR Components
SIR System Component Description and Definitions
SDM and Inflator Modules
Handling ESD Sensitive Parts Notice
SIR Handling Caution
Seat Belt Schematics
IGN-1, VENT SOL and SIR Fuse (Rear Fuse Block)
Data Link Connector Schematics
Figure
2:
SDM and Inflator Modules
SIR Components
SIR System Component Description and Definitions
Power, Ground, and Side Impact Sensors
Handling ESD Sensitive Parts Notice
SIR Handling Caution
SIR Schematic Icons
SIR Schematic Icons
SIR Schematic Icons
SIR Schematic Icons