GM Service Manual Online
For 1990-2009 cars only
Makes
🢒
Pontiac
🢒
2000
🢒
Bonneville
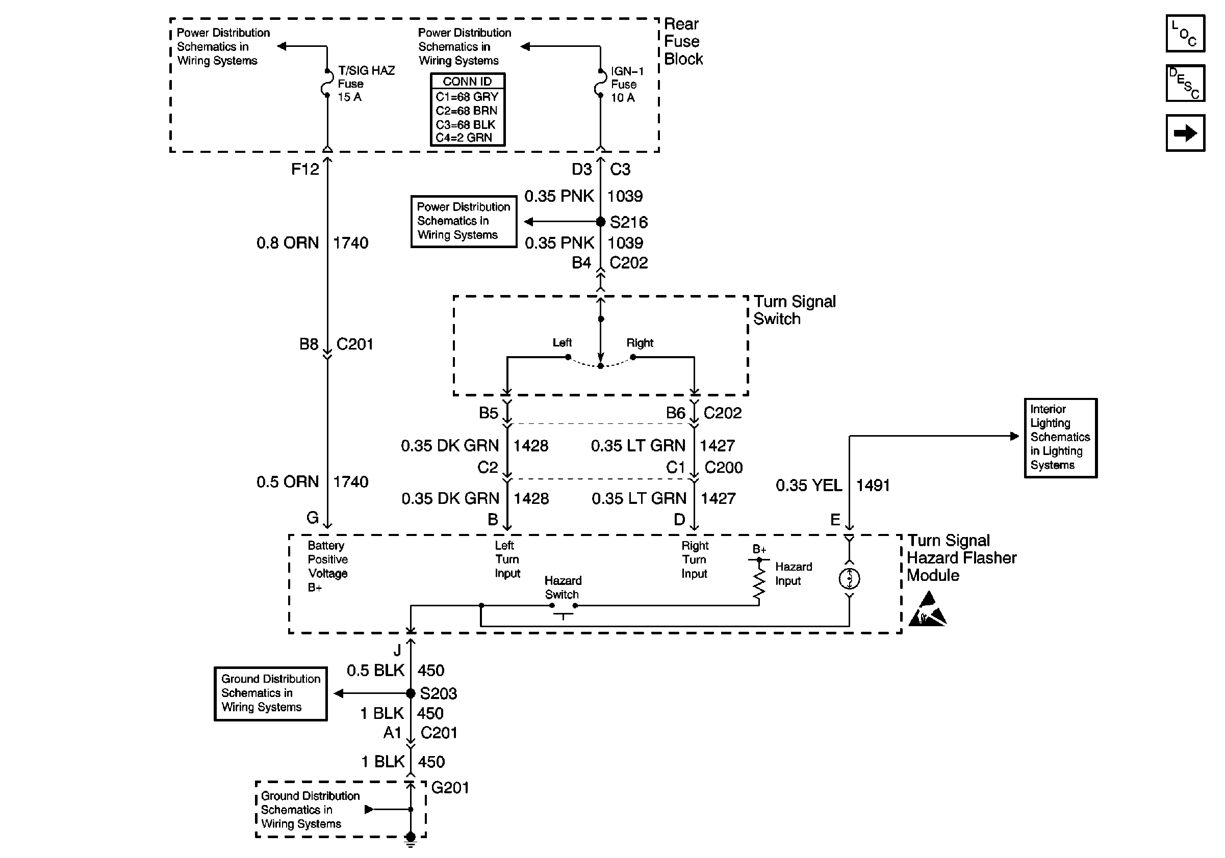
🢒 Turn Signal, Hazard Flasher Module Inputs
Turn Signal, Hazard Flasher Module Inputs
Turn Signal, Hazard Flasher Module Inputs
Lighting Systems Components
Exterior Lights Circuit Description
Turn Signal Lamps
Handling ESD Sensitive Parts Notice
Battery Voltage to the Rear Fuse Block
Battery Voltage to the Rear Fuse Block
IGN-1 Relay, TRANS, DIS, OXY SEN, and IGN 1 Fuses (Underhood Fuse Block)
Instrument Panel and Console Dimming
G201 (1 of 3)
G201 (1 of 3)