GM Service Manual Online
For 1990-2009 cars only
Makes
🢒
Pontiac
🢒
2000
🢒
Bonneville
🢒 Backup Lamps
Backup Lamps
Backup Lamps
Lighting Systems Components
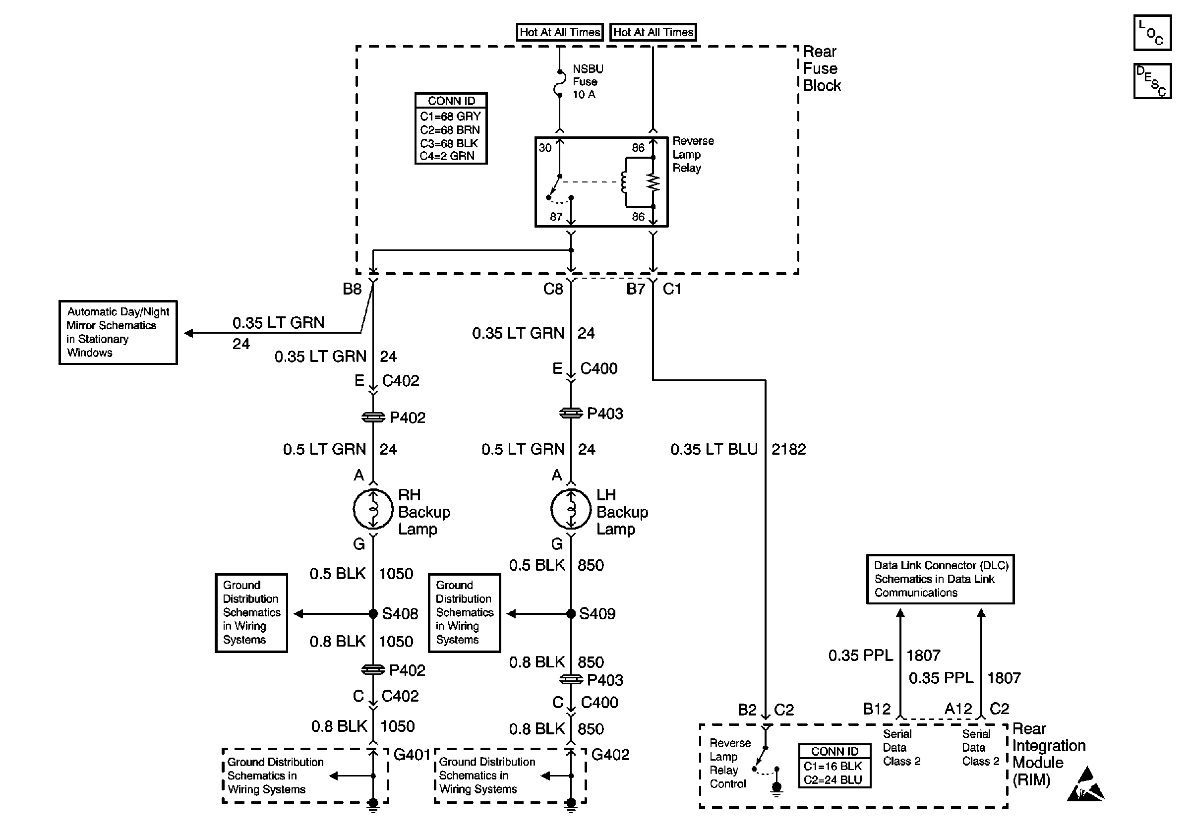
Backup Lamp Circuit Description
Handling ESD Sensitive Parts Notice
Inside Rear View Mirror W/DD7 or DD8
G401 (2 of 2)
G402
Serial Data Class 2
G401 (2 of 2)
G402