GM Service Manual Online
For 1990-2009 cars only
Makes
🢒
Pontiac
🢒
2000
🢒
Bonneville
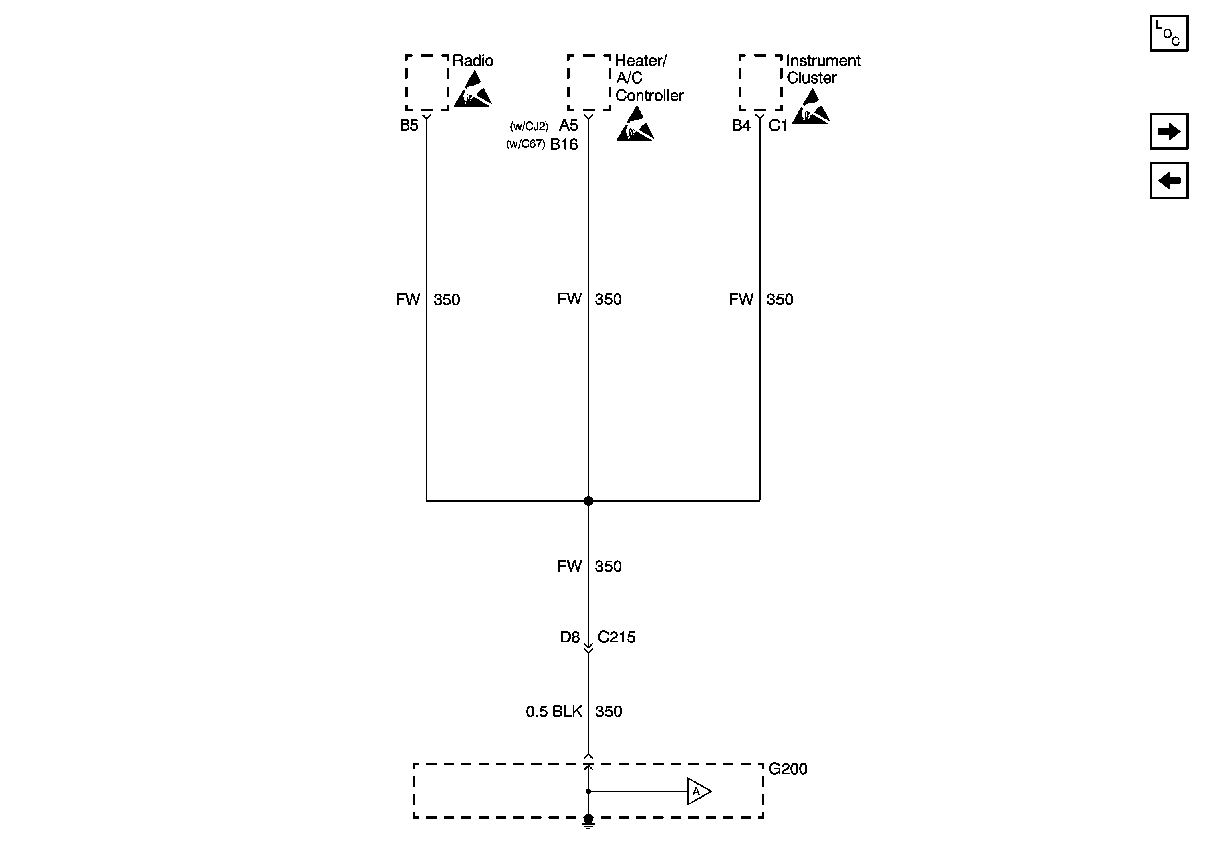
🢒 G200 (1 of 3)
G200 (1 of 3)
G200 (1 of 3)
Power and Grounding Components
G200 (1 of 2)
G101, G106, and G107
Handling ESD Sensitive Parts Notice
G200 (1 of 2)