GM Service Manual Online
For 1990-2009 cars only
Makes
🢒
Pontiac
🢒
2000
🢒
Bonneville
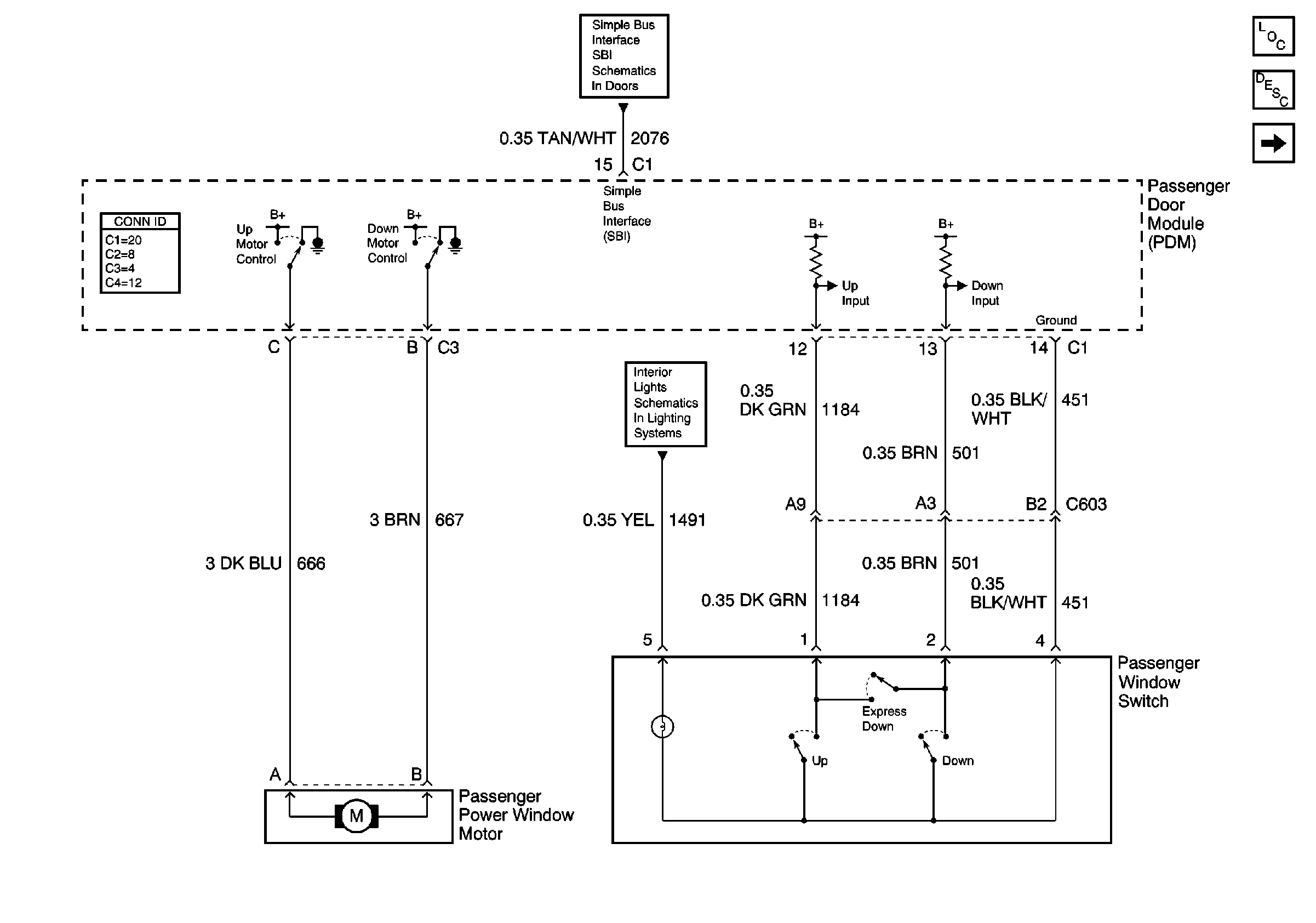
🢒 RH Front Door
RH Front Door
RH Front Door
Power Door Systems Components
LH Front Door
Simple Bus Interface
Front Door Dimming