GM Service Manual Online
For 1990-2009 cars only
Makes
🢒
Pontiac
🢒
2000
🢒
Bonneville
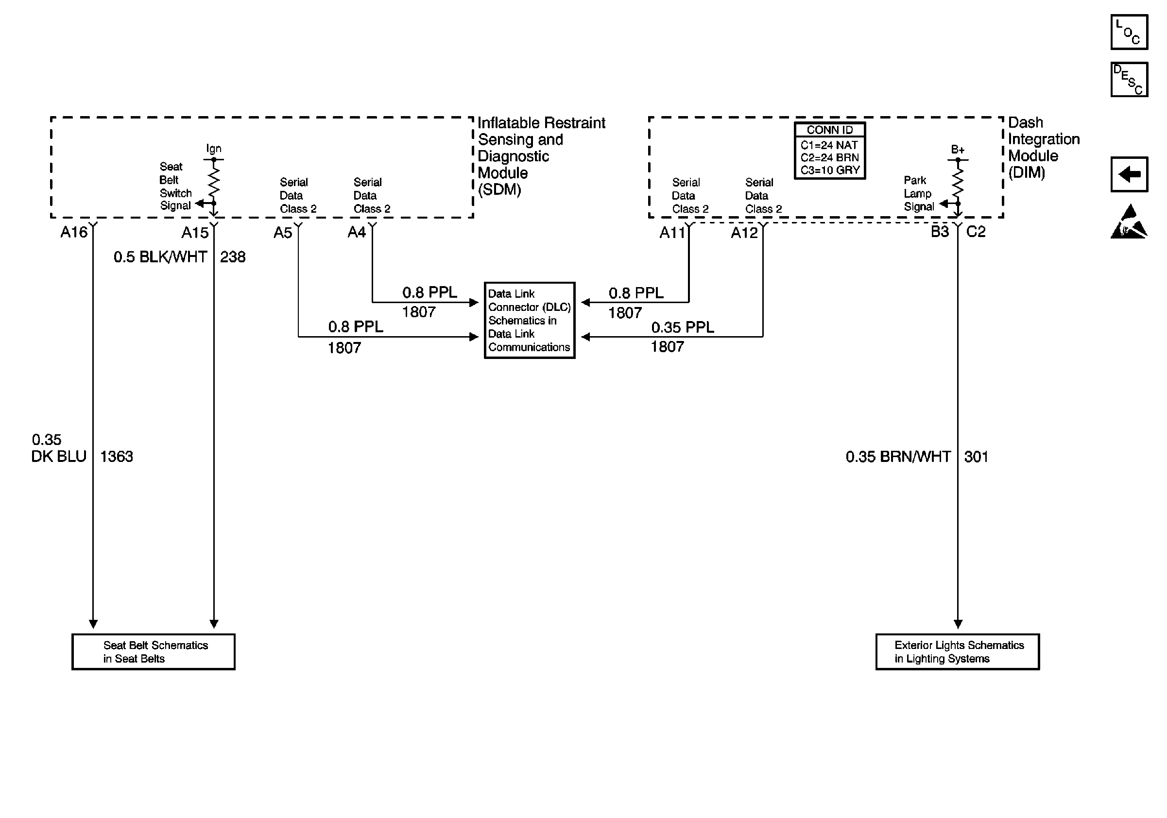
🢒 Seat Belt, Headlamp Switches
Seat Belt, Headlamp Switches
Seat Belt, Headlamp Switches
Master Electrical Component List
160 cell 76 radio output, door ign switch
Handling ESD Sensitive Parts Notice
Serial Data Class 2
Seat Belt Schematics