GM Service Manual Online
For 1990-2009 cars only
Makes
🢒
Pontiac
🢒
2000
🢒
Bonneville
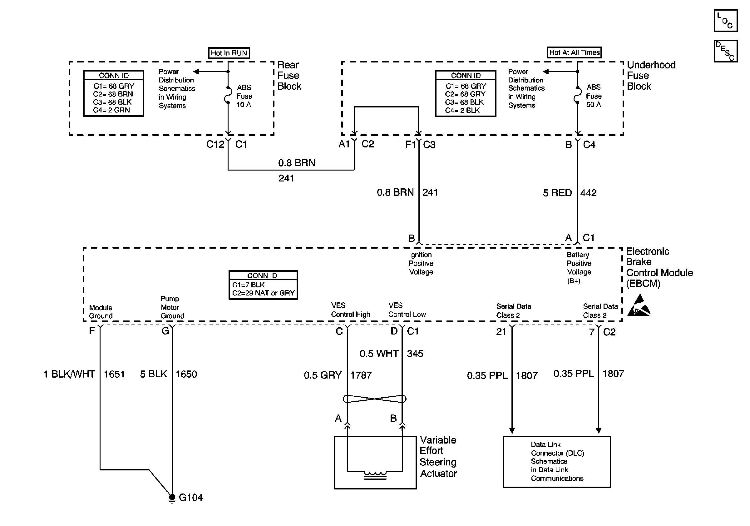
🢒 Variable Effort Steering Schematic
Variable Effort Steering Schematic
Steering Controls Components
Variable Effort Steering Description
Handling ESD Sensitive Parts Notice
ABS and IGN 3 Fuses (Rear Fuse Block)
Battery Positive Voltage Circuits from the Battery
Serial Data Class 2