GM Service Manual Online
For 1990-2009 cars only
Makes
🢒
Pontiac
🢒
2000
🢒
Bonneville
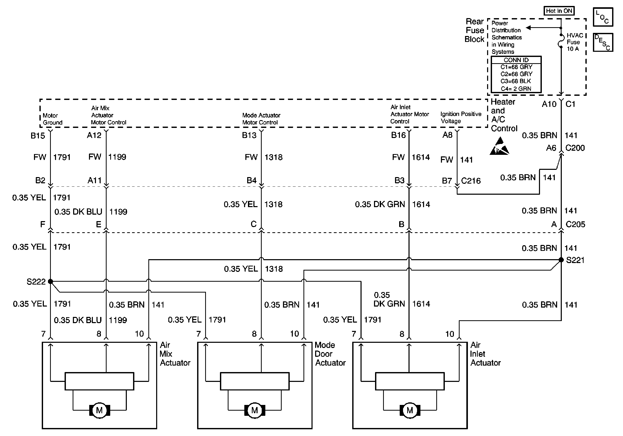
🢒 Air Delivery W/C67
Air Delivery W/C67
Air Delivery W/C67
HVAC Components
HVAC Air Delivery/Temperature Control Circuit Description
Battery Voltage to the Rear Fuse Block
Handling ESD Sensitive Parts Notice