GM Service Manual Online
For 1990-2009 cars only
Makes
🢒
Pontiac
🢒
2000
🢒
Bonneville
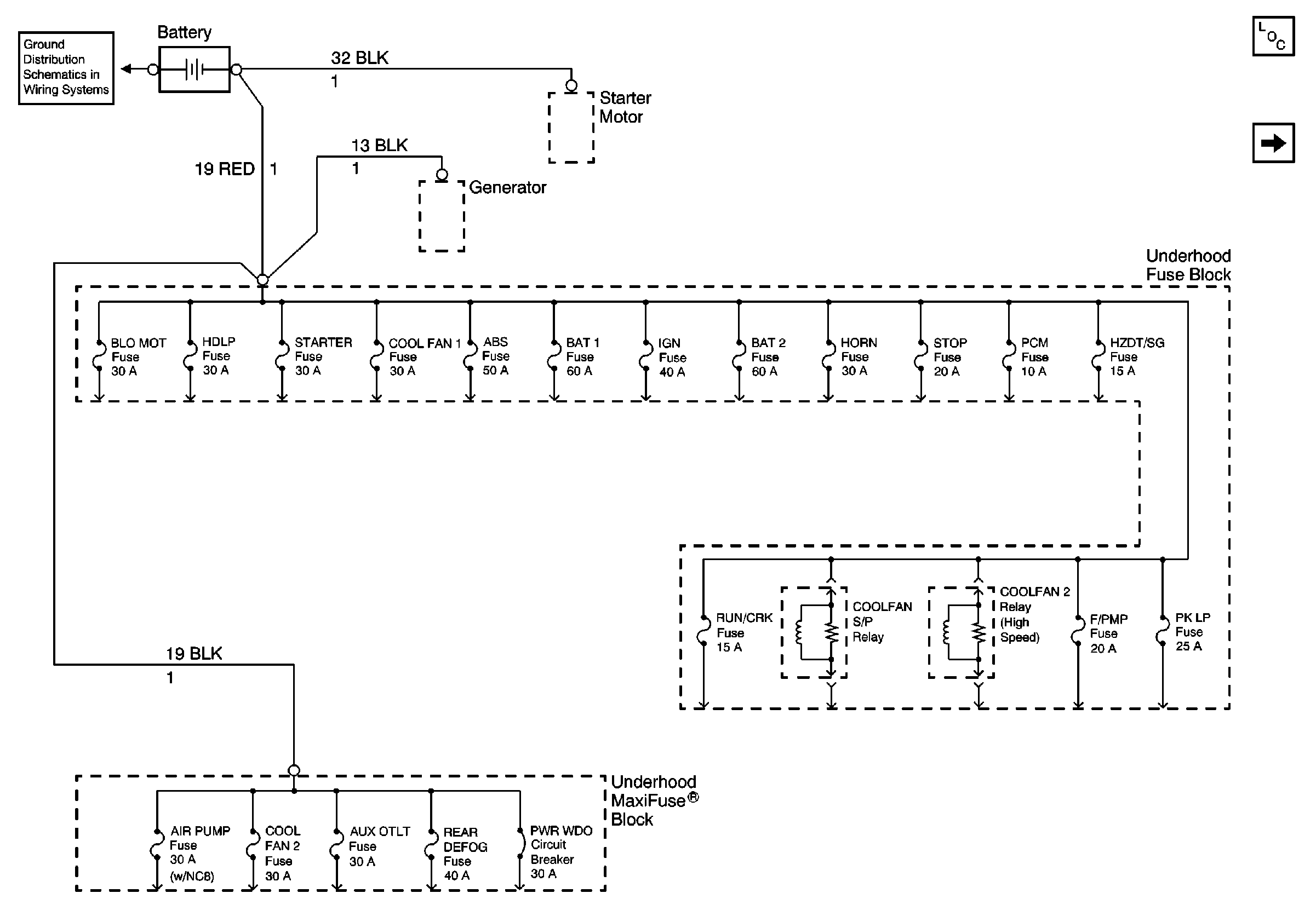
🢒 Underhood Fuse Block and Underhood Maxi-Fuse Block
Underhood Fuse Block and Underhood Maxi-Fuse Block
Underhood Fuse Block and Underhood Maxi-Fuse Block
Power and Grounding Components
Underhood Fuse Block, RUN/CRANK Fuse and IGN-1 Relay
G100, G101, G102, G103