GM Service Manual Online
For 1990-2009 cars only
Makes
🢒
Pontiac
🢒
2000
🢒
Bonneville
🢒 Heated Oxygen Sensors
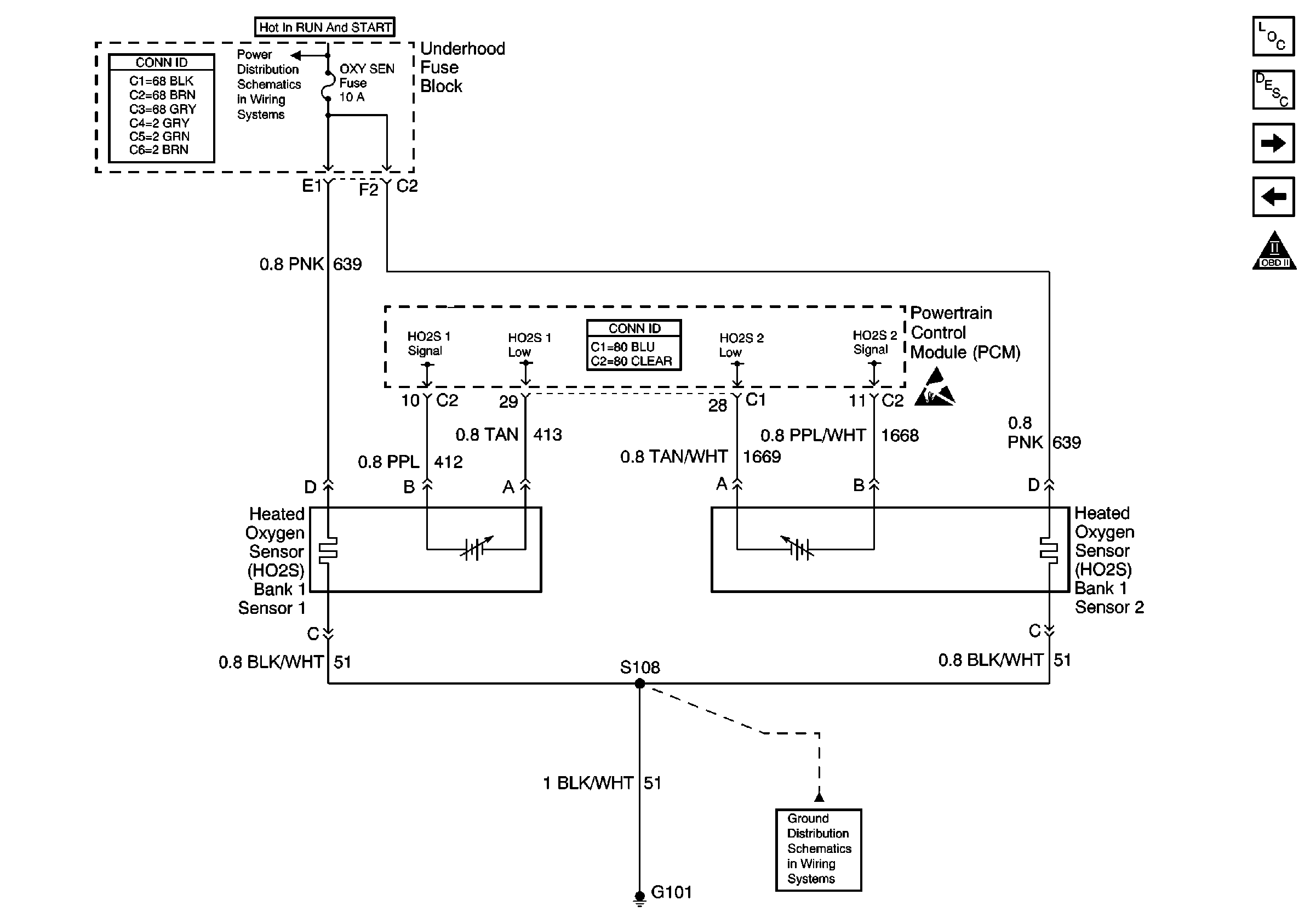
Heated Oxygen Sensors
Heated Oxygen Sensors
Engine Controls Components
Powertrain Control Module Description
OBD II Symbol Description Notice
MAF, IAC, and Knock Sensors
Fuel Tank Pressure Sensor, EVAP Vent Valve
Underhood Fuse Block, OXYGEN SENSOR and IGN-1 Fuses
Handling ESD Sensitive Parts Notice
G100, G101, G102, G103