GM Service Manual Online
For 1990-2009 cars only
Makes
🢒
Pontiac
🢒
2000
🢒
Bonneville
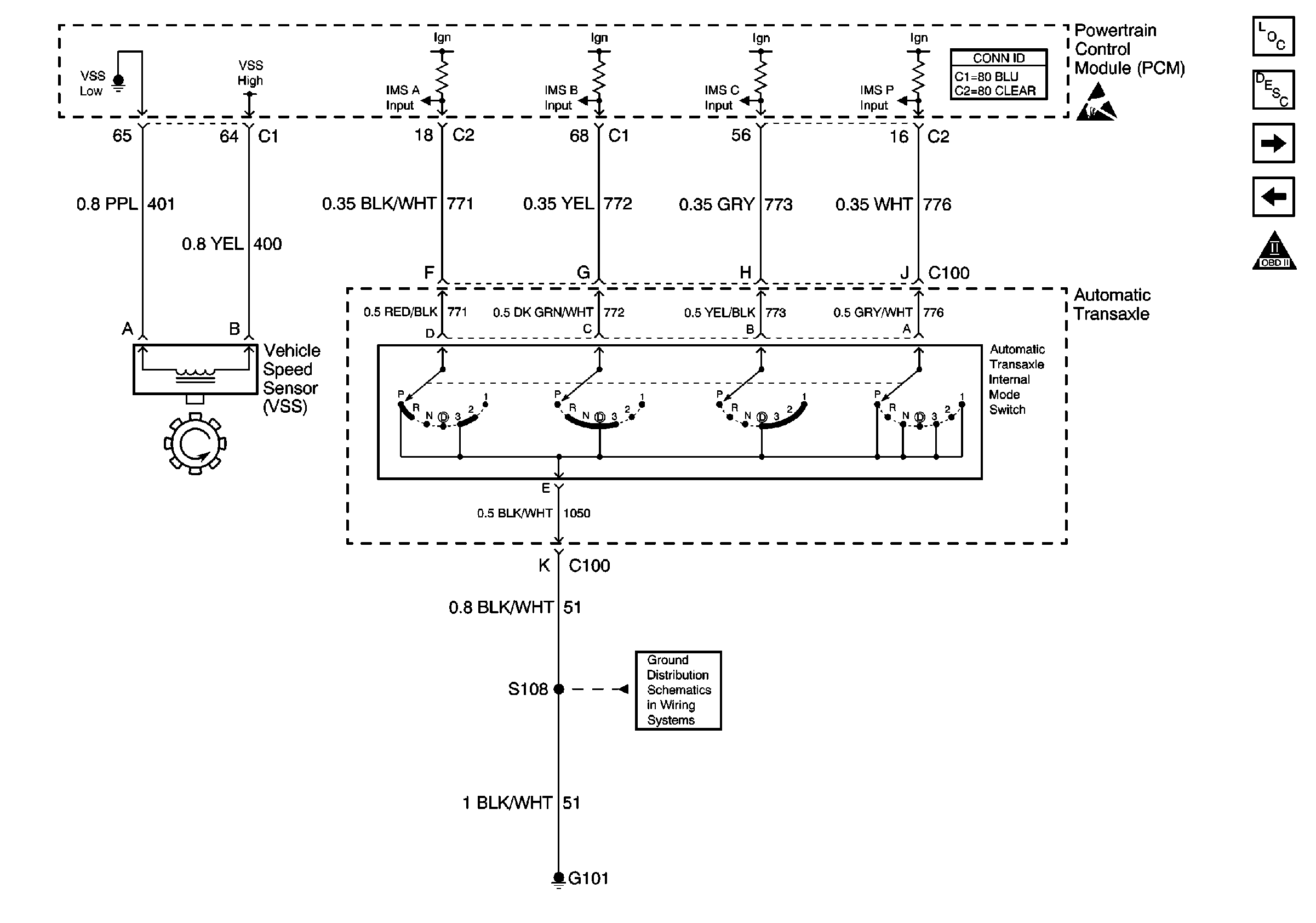
🢒 Park/Neutral Position (PNP) Switch and VSS
Park/Neutral Position (PNP) Switch and VSS
Park/Neutral Position (PNP) Switch and VSS
Engine Controls Components
Powertrain Control Module Description
OBD II Symbol Description Notice
A/C Clutch Control
Transaxle Sensors
Handling ESD Sensitive Parts Notice
G100, G101, G102, G103