GM Service Manual Online
For 1990-2009 cars only
Makes
🢒
Pontiac
🢒
2000
🢒
Bonneville
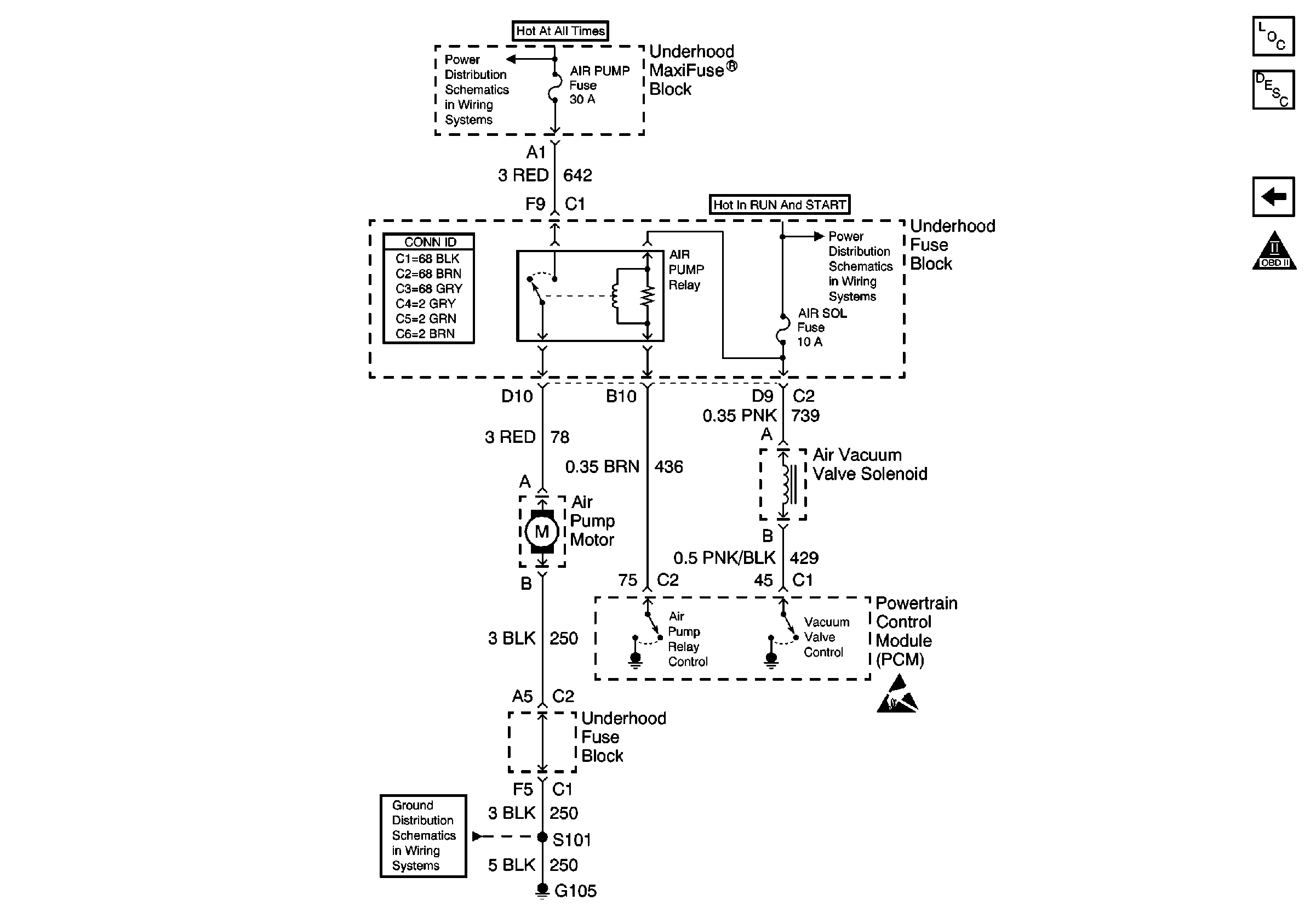
🢒 Air Pump Motor and Vacuum Valve Solenoid, NC8 Only
Air Pump Motor and Vacuum Valve Solenoid, NC8 Only
Air Pump Motor and Vacuum Valve Solenoid, NC8 Only
Engine Controls Components
Powertrain Control Module Description
OBD II Symbol Description Notice
Engine Cooling Fan Motor Controls
Underhood Maxi-Fuse Block, AIR PUMP, HI FAN, AUX PWR, and REARDEFOG Fuses
Underhood Fuse Block, AIR SOLENOID, C3I and TRANS/EGR Fuses
Handling ESD Sensitive Parts Notice
G105