GM Service Manual Online
For 1990-2009 cars only
Makes
🢒
Pontiac
🢒
2000
🢒
Bonneville
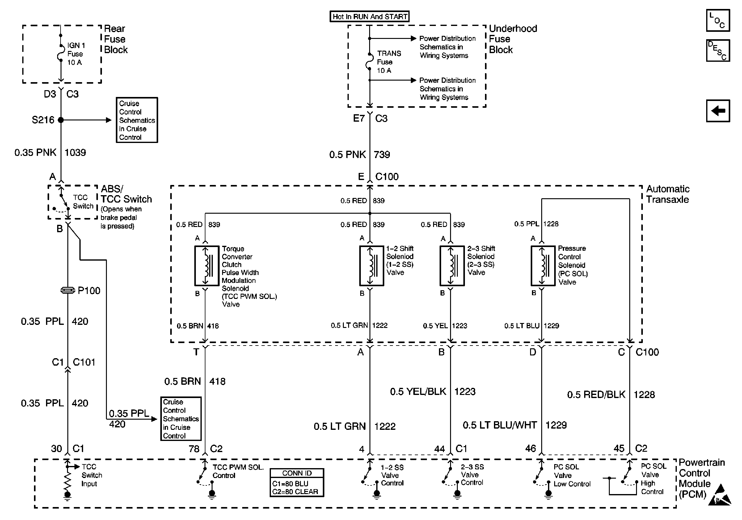
🢒 Transmission Solenoids L36/L67
Transmission Solenoids L36/L67
Transmission Soleniods L36/L67
Automatic Transmission Components
Transmission Component and System Description
Transmission Inputs L36/L67
IGN-1 Relay, TRANS, DIS, OXY SEN, and IGN 1 Fuses (Underhood Fuse Block)
Handling ESD Sensitive Parts Notice
Cruise Control Switch, CCM Power and Grounds
Cruise Control Switch, CCM Power and Grounds