GM Service Manual Online
For 1990-2009 cars only
Makes
🢒
Pontiac
🢒
2000
🢒
Bonneville
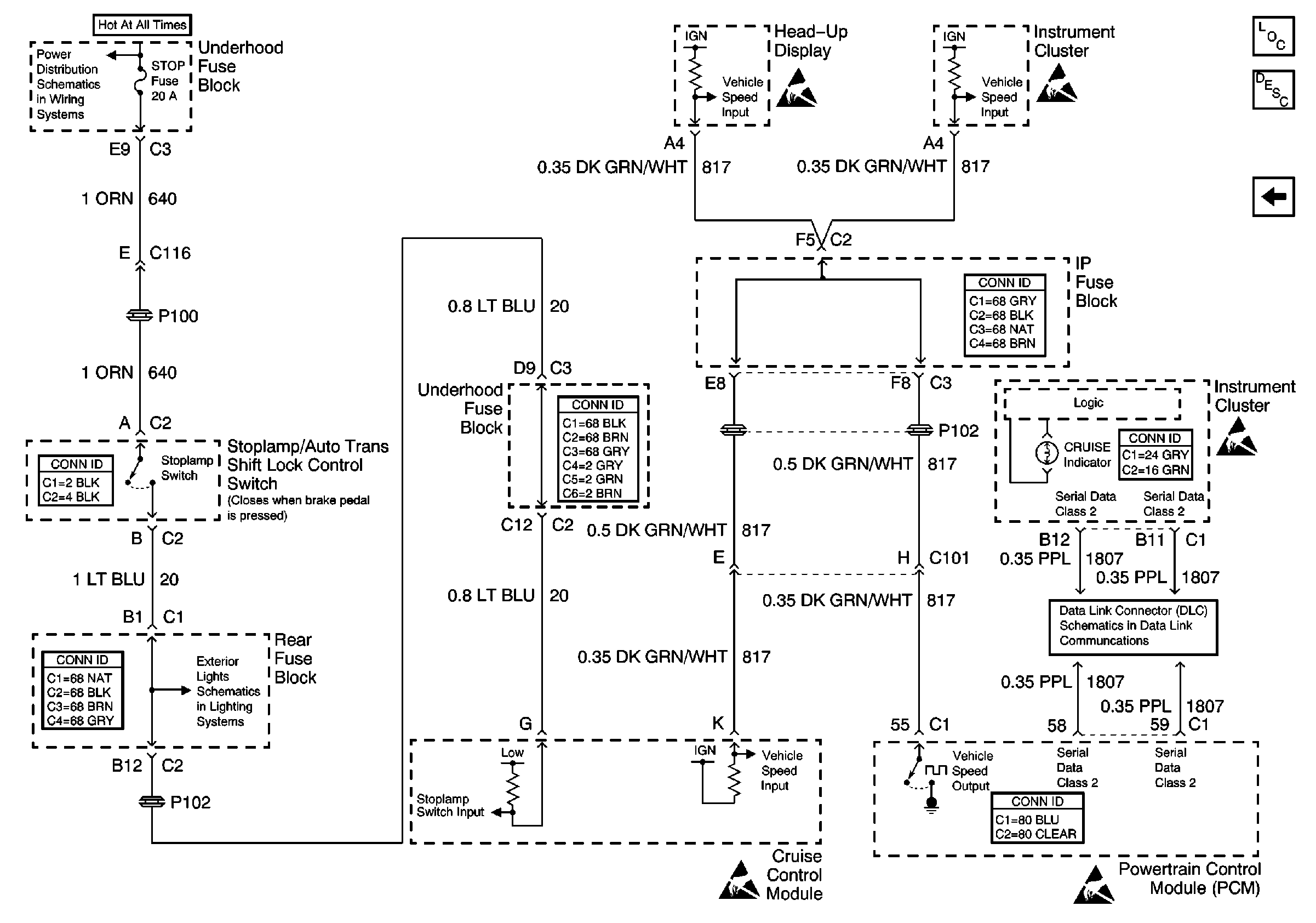
🢒 Stoplamp Switch
Stoplamp Switch
Stoplamp Switch
Cruise Control Components
Cruise Control System Circuit Description
ABS/TCC Switch
Handling ESD Sensitive Parts Notice
Handling ESD Sensitive Parts Notice
Handling ESD Sensitive Parts Notice
Handling ESD Sensitive Parts Notice
Underhood Fuse Block, BLOWER and BRAKE Fuses, Low Fan and Horn Relays
Powertrain Control Module Connector End Views