GM Service Manual Online
For 1990-2009 cars only
Makes
🢒
Pontiac
🢒
2000
🢒
Bonneville
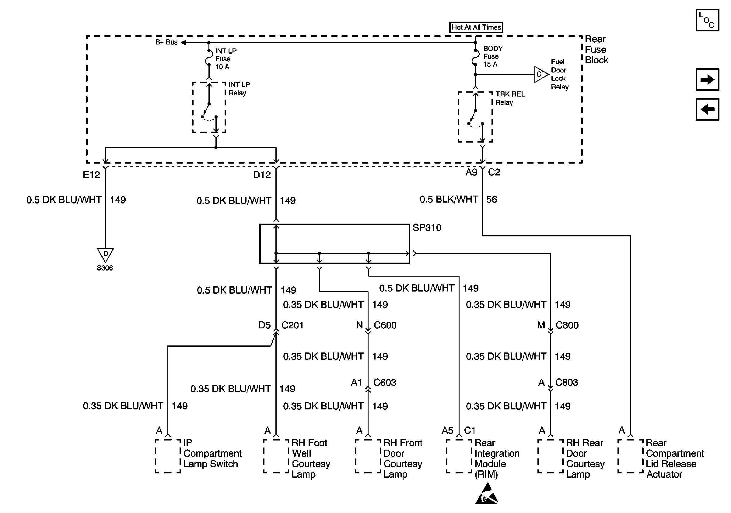
🢒 INT LP and BODY Fuses (Rear Fuse Block)
INT LP and BODY Fuses (Rear Fuse Block)
INT LP and BODY Fuses (Rear Fuse Block)
Power and Grounding Components
INT LP Relay, SP306 Circuits
PWR WDO and PWR SEAT Circuit Breakers (Rear Fuse Block)
INT LP Relay, SP306 Circuits
DIMR, LP PKR, LP PKL Fuses, F/TRNKDRLOCK and F/TNKDR REL Relays
Handling ESD Sensitive Parts Notice