GM Service Manual Online
For 1990-2009 cars only
Makes
🢒
Pontiac
🢒
2000
🢒
Bonneville
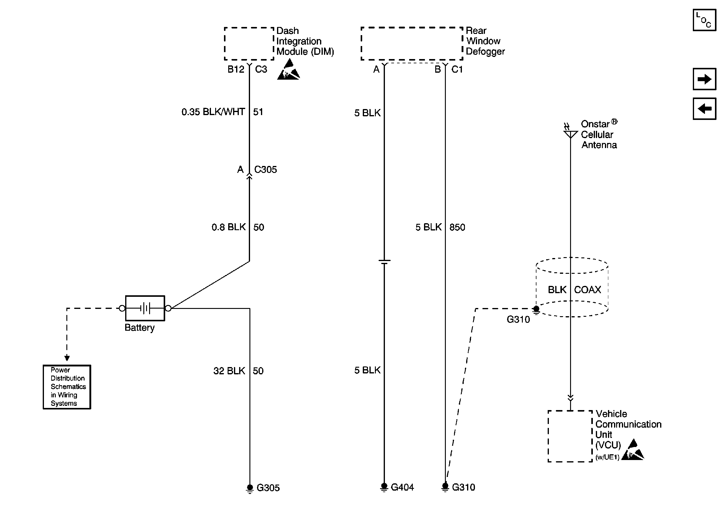
🢒 G305
G305
G305
Power and Grounding Components
G401 (1 of 2)
G303
Handling ESD Sensitive Parts Notice
Battery Positive Voltage Circuits from the Battery