GM Service Manual Online
For 1990-2009 cars only
Makes
🢒
Pontiac
🢒
2000
🢒
Bonneville
🢒 Content Theft Deterrent Indicators
Content Theft Deterrent Indicators
Content Theft Deterrent Indicators
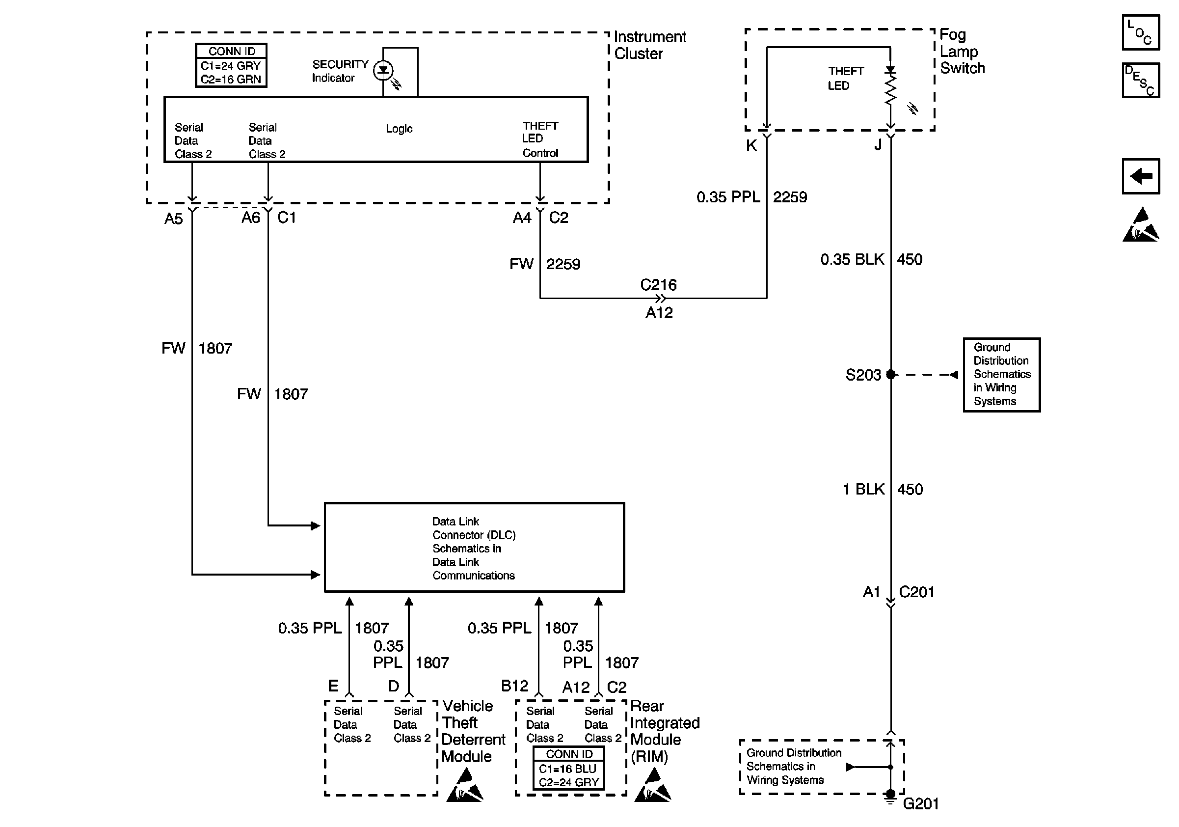
Theft Deterrent System Components
Content Theft Deterrent (CTD) Circuit Description
Vehicle Theft Deterrent Module (VTD)
Handling ESD Sensitive Parts Notice
G201 (1 of 3)
G201 (1 of 3)