GM Service Manual Online
For 1990-2009 cars only
Makes
🢒
Pontiac
🢒
2000
🢒
Bonneville
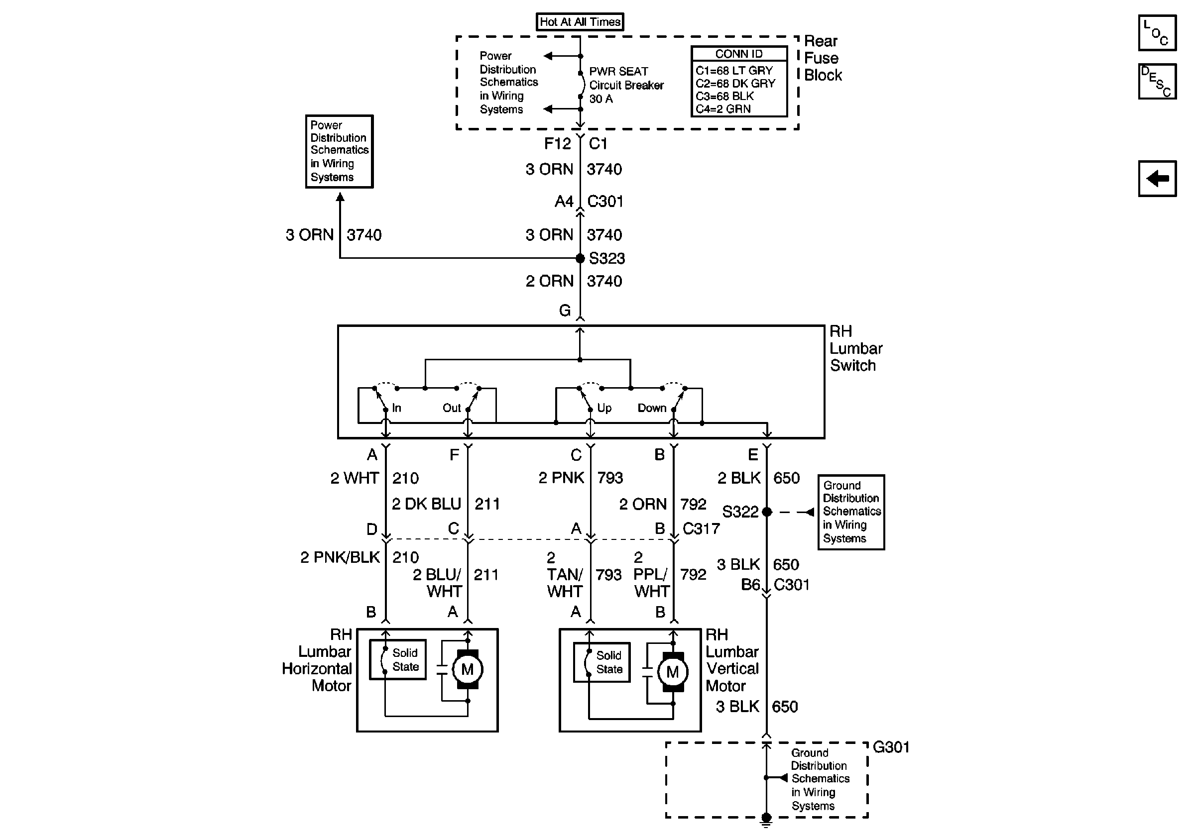
🢒 RH Lumbar Switch
RH Lumbar Switch
RH Lumbar Switch
Power Seat Systems Components
Power Lumbar Circuit Description w/o A45
LH Lumbar Switch, Motors and Sensors (w/ A45)
PWR WDO and PWR SEAT Circuit Breakers (Rear Fuse Block)
G301 (1 of 2)
G301 (1 of 2)