GM Service Manual Online
For 1990-2009 cars only

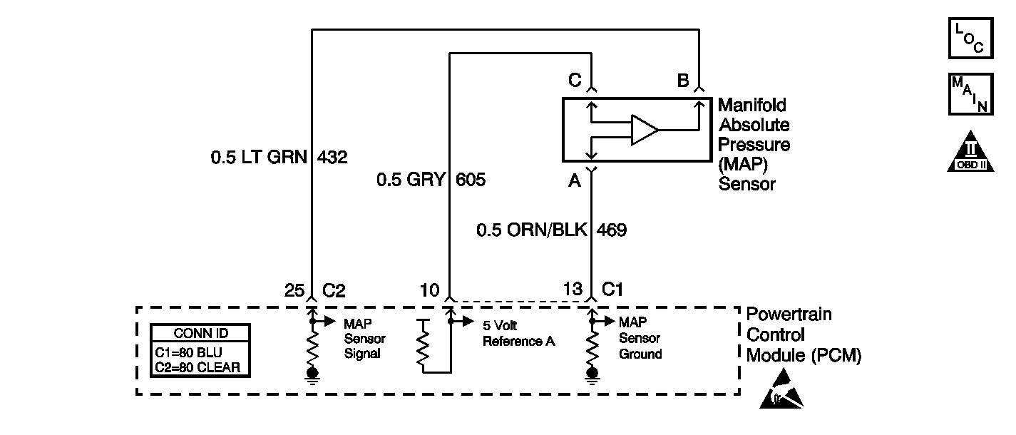
Object Number: 573630  Size: SF
Engine Controls Components
Sensors
OBD II Symbol Description Notice
Powertrain Control Module Connector End Views
Handling ESD Sensitive Parts Notice

Circuit Description

VIN K

The manifold absolute pressure (MAP) sensor responds to changes in the intake manifold pressure. The PCM supplies a 5 volt reference and a ground for the MAP sensor. The MAP sensor provides a signal to the PCM relative to pressure changes in the manifold. The MAP sensor signal voltage to the PCM varies from less than 2 volts at idle (low manifold absolute pressure - high vacuum) to more than 4 volts with the key ON, and the engine not running or at wide-open throttle (high manifold absolute pressure - low vacuum). The PCM monitors the MAP signals for voltages outside the normal range of the MAP sensor. If the PCM detects a MAP signal voltage that is intermittently high, DTC P1106 will be set.

VIN 1

The manifold absolute pressure (MAP) sensor responds to changes in intake manifold pressure. The PCM supplies a 5 volt reference and a ground for the MAP sensor. The MAP sensor circuit provides a signal to the PCM relative to pressure changes in the manifold. With the key ON and the engine not running, the MAP sensor signal voltage to the PCM varies between 1.5 to 2.5 volts. With the engine running, the MAP sensor voltage to the PCM varies from less than 2 volts at idle (low manifold absolute pressure - high vacuum) to more than 4 volts at wide-open throttle (high manifold absolute pressure - low vacuum). The PCM monitors the MAP signals for voltages outside the normal range of the MAP sensor. If the PCM detects a MAP signal voltage that is intermittently high, DTC P1106 will be set.

Conditions for Running the DIC

    • No throttle position (TP) sensor DTCs are present.
    • The ignition is ON.
    • The throttle angle is steady at less than 5 percent if the engine speed is less than 1000 RPM.
    • The throttle angle is steady at less than 10 percent if the engine speed is more than 1000 RPM.

Conditions for Setting the DTC

The MAP sensor intermittently indicates a manifold absolute pressure of more than 90 kPa.

Action Taken When the DTC Sets

The PCM stores conditions which were present when the DTC set as Failure Records only. This information will not be stored as Freeze Frame Records.

Conditions for Clearing the MIL/DTC

    • The DTC becomes history when the conditions for setting the DTC are no longer present.
    • The history DTC clears after 40 malfunction free warm-up cycles.
    • The PCM receives a clear code command from the scan tool.

Diagnostic Aids

Check for the following conditions:

    • Poor connection at the PCM or the MAP sensor
        Inspect PCM harness connectors for backed out terminals, improper mating, broken locks, improperly formed or damaged terminals, and poor terminal to wire connection.
    • Damaged harness
        Inspect the wiring harness for damage.
    • If the harness appears to be OK, observe the MAP display on the scan tool while moving connectors and wiring harnesses related to the sensor. A change in the display will indicate the location of the malfunction.

Reviewing the Fail Records vehicle mileage since the diagnostic test last failed may help determine how often the condition that caused the DTC to be set occurs. This may assist in diagnosing the condition.

DTC P1106 - MAP Sensor Circuit Intermittent High Voltage

Step

Action

Values

Yes

No

1

Did you perform the Powertrain On Board Diagnostic (OBD) System Check?

--

Go to Step 2

Go to Powertrain On Board Diagnostic (OBD) System Check

2

Important: If DTC P1635 5 Volt Reference Circuit is set, perform that diagnostic first.

Is DTC P0108 also set?

--

Go to DTC P0108 Manifold Absolute Pressure (MAP) Sensor Circuit High Voltage

Go to Step 3

3

Is DTC P1111, P1115, and/or P1121 also set?

--

Go to Step 6

Go to Step 4

4

Inspect the ground circuit of the MAP sensor for a faulty connection at the harness connector. Refer to Testing for Intermittent Conditions and Poor Connections and Connector Repairs in Wiring Systems.

Did you find and correct the condition?

--

Go to Step 9

Go to Step 5

5

Inspect the ground circuit of the PCM for a faulty connection at the harness connector. Refer to Testing for Intermittent Conditions and Poor Connections and Connector Repairs in Wiring Systems.

Did you find and correct the condition?

--

Go to Step 9

Go to Step 6

6

Test the signal circuit of the MAP sensor for an intermittent short to voltage. Refer to Circuit Testing and Wiring Repairs in Wiring Systems.

Did you find and correct the condition?

--

Go to Step 9

Go to Step 7

7

Test the 5 volt reference A circuit of the MAP for an intermittent short to voltage. Refer to Circuit Testing and Wiring Repairs in Wiring Systems.

Did you find and correct the condition?

--

Go to Step 9

Go to Step 8

8

Test the ground circuit for an intermittent open.

Did you find and correct the condition?

--

Go to Step 9

Go to Diagnostic Aids

9

  1. Use the scan tool in order to clear the DTCs.
  2. Operate the vehicle within the Conditions for Running the DTC as specified in the supporting text.

Does the DTC reset?

--

Go to Step 2

System OK