GM Service Manual Online
For 1990-2009 cars only

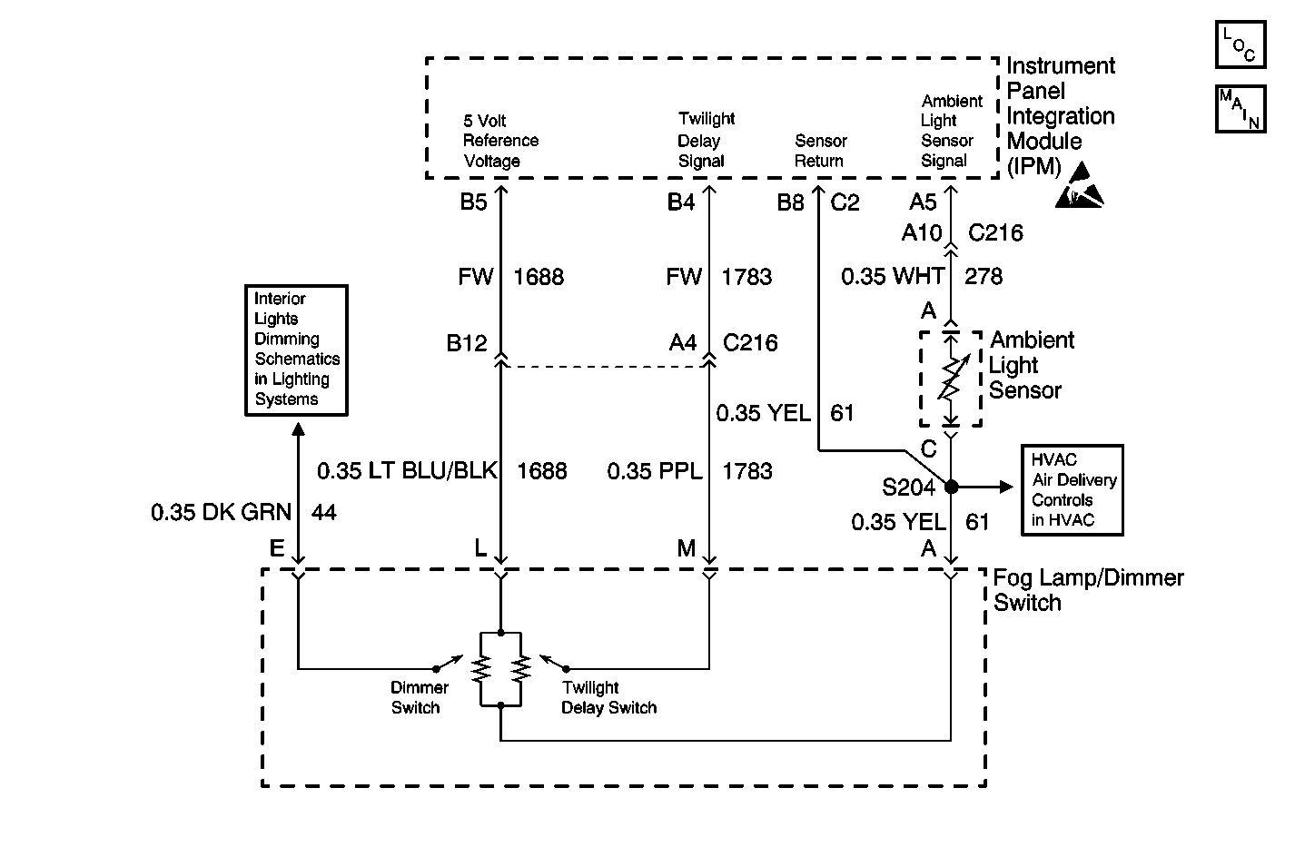
Object Number: 471550  Size: MF
Lighting Systems Components
Headlamp Switch, Ambient Light Sensor (CJ2)
Handling ESD Sensitive Parts Notice
HVAC Air Delivery/Temperature Control Schematics
Interior Lights Dimming Schematics

Circuit Description

The ambient light sensor is a photo transistor that the output changes as the light level changes. The instrument panel module (IPM) determines the ambient light based on the voltage from the ambient light sensor. The IPM sends out a class 2 message to the dash integration module (DIM).

Conditions for Running the DTC

The IPM is powered.

Conditions for Setting the DTC

The feedback voltage is less than 0.09V or greater than 4.75V.

Action Taken When the DTC Sets

The IPM sets the ambient light status to DARK.

Conditions for Clearing the DTC

The IPM does not detect a voltage that is less than or greater than the predetermined value during the diagnostic self test.

Test Description

The numbers below refer to the step numbers on the diagnostic table.

  1. This step tests the ambient light sensor signal circuit for an open, short to power or short to ground.

  2. This step test the signal return circuit for an open or short to power.

Step

Action

Value(s)

Yes

No

1

Did you perform the Lighting Systems Diagnostic System Check?

--

Go to Step 2

Go to Diagnostic System Check - Lighting Systems

2

  1. Install a scan tool.
  2. Turn ON the ignition, with the engine OFF.
  3. With a scan tool, observe the Ambient Light Sensor parameter in the instrument panel module (IPM) data list.

Does the scan tool indicate the voltage is within the specified range?

0.09-4.75 V

Go to Step 8

Go to Step 3

3

  1. Turn OFF the ignition.
  2. Disconnect the twilight photocell sensor.
  3. Turn ON the ignition leaving the engine OFF.
  4. Measure the voltage from the ambient light sensor signal circuit to a good ground.

Does the voltage measure near the specified value?

5 V

Go to Step 4

Go to Step 5

4

Measure the voltage from the ambient light sensor signal circuit to the sensor return circuit.

Does the voltage measure near the specified value?

5 V

Go to Step 7

Go to Step 6

5

Test the ambient light sensor signal circuit for a short or an open. Refer to Circuit Testing and Wiring Repairs in Wiring Systems.

Did you find and correct the condition?

--

Go to Step 11

Go to Step 8

6

Test the ambient light sensor ground circuit for an open. Refer to Circuit Testing and Wiring Repairs in Wiring Systems.

Did you find and correct the condition?

--

Go to Step 11

Go to Step 8

7

Inspect for poor connections at the ambient light sensor harness connector. Refer to Testing for Intermittent Conditions and Poor Connections and Connector Repairs in Wiring Systems.

Did you find and correct the condition?

--

Go to Step 11

Go to Step 9

8

Inspect for poor connections at the IPM harness connector. Refer to Testing for Intermittent Conditions and Poor Connections and Connector Repairs in Wiring Systems.

Did you find and correct the condition?

--

Go to Step 11

Go to Step 10

9

Replace the ambient light sensor. Refer to Sunload and Twilight Sentinel Sensor Replacement in Instrument Panel, Gauges, and Console.

Did you complete the replacement?

--

Go to Step 11

--

10

Replace the IPM. Refer to Instrument Panel Module Replacement in Body Control System.

Did you complete the replacement?

--

Go to Step 11

--

11

Operate the system in order to verify the repair.

Did you find and correct the condition?

--

System OK

Go to Step 2