GM Service Manual Online
For 1990-2009 cars only

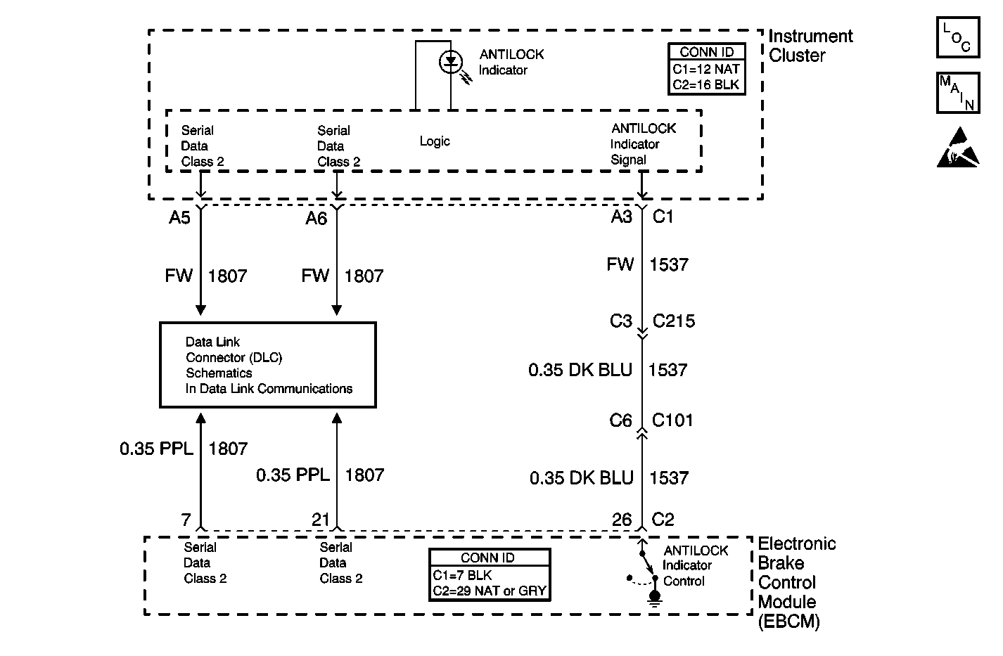
Object Number: 456480  Size: MF
ABS Components
Indicators and Traction Control Switch
Handling ESD Sensitive Parts Notice
Serial Data Class 2

Circuit Description

The instrument cluster controls the operation of the ANTILOCK indicator. The EBCM reports the desired status of the ANTILOCK indicator via class 2 serial data messages. The ANTILOCK indicator signal circuit is a back-up reporting circuit to the class 2 serial data messages. The EBCM supplies ground through the circuit when the ABS is operating properly. When there is a problem with ABS that should turn on the ANTILOCK indicator, the EBCM opens the ANTILOCK indicator signal circuit. If there is a problem with the ABS class 2 serial data messages, the instrument cluster uses the ANTILOCK indicator signal to determine if the ANTILOCK indicator should be illuminated. Using the serial data messages and back-up circuit, the instrument cluster decides whether to turn on the ANTILOCK indicator.

Conditions for Running the DTC

The EBCM commands the indicator OFF.

Conditions for Setting the DTC

The ANTILOCK indicator signal circuit voltage is greater than 4.5 volts for 2 seconds.

Action Taken When the DTC Sets

    • The ABS remains functional.
    • The ANTILOCK indicator remains OFF.

Conditions for Clearing the DTC

    • The condition for the DTC is no longer present and the DTC is cleared with a scan tool.
    • The electronic brake control module (EBCM) automatically clears the history DTC when a current DTC is not detected in 100 consecutive drive cycles.

Diagnostic Aids

A possible cause of this DTC is a short to battery in the ANTILOCK indicator signal circuit.

Test Description

The numbers below refer to the step numbers on the diagnostic table.

  1. This test uses the scan tool to check the normal state of the ANTILOCK indicator signal circuit.

  2. This test ensures that the instrument cluster can operate the ANTILOCK indicator.

Step

Action

Value(s)

Yes

No

1

Did you perform the ABS Diagnostic System Check?

--

Go to Step 2

Go to Diagnostic System Check - ABS

2

With a scan tool, observe the ABS Warning Indicator parameter in the DRP/ABS/TCS/TIM data list.

Does the scan tool display Off?

--

Go to Step 3

Go to Step 4

3

  1. Turn OFF the ignition.
  2. Turn ON the ignition, with the engine OFF.
  3. Observe the ANTILOCK indicator on the instrument cluster (IPC) during the bulb check.

Does the ANTILOCK indicator illuminate during the bulb check?

--

Go to Step 4

Go to Step 6

4

  1. Turn OFF the ignition.
  2. Important: Removing battery voltage or ground from the EBCM will result in the following conditions.

       • Loss of the TIM learned tire inflation configuration parameters
       • Set DTC C1245 Low Tire Pressure Detected
    When the diagnosis is complete, inspect the tire pressures and perform the TIM reset. Refer to Tire Inflation Monitor Resetting in Tire Pressure Monitoring.

  3. Disconnect the EBCM harness connector
  4. Connect the J 39700 universal pinout box using the J 39700-300 cable adapter to the EBCM harness connector only.
  5. Disconnect the instrument cluster harness connector.
  6. Test the ANTILOCK indicator signal circuit for a short to voltage. Refer to Circuit Testing and Wiring Repairs in Wiring Systems.

Did you find and correct the condition?

--

Go to Step 9

Go to Step 6

5

Inspect for poor connections at the harness connector of the EBCM. Refer to Testing for Intermittent Conditions and Poor Connections and Connector Repairs in Wiring Systems.

Did you find and correct the condition?

--

Go to Step 9

Go to Step 7

6

Inspect for poor connections at the harness connector of the instrument cluster. Refer to Testing for Intermittent Conditions and Poor Connections and Connector Repairs in Wiring Systems.

Did you find and correct the condition?

--

Go to Step 9

Go to Step 8

7

Important: Perform the setup procedure for the EBCM. An unprogrammed EBCM will result in the following conditions:

   • Inoperative or poorly functioning DRP/ABS/TCS/VSES/VES/TIM (if equipped)
   • Set DTC C1248 EBCM Turned the Red Brake Warning Indicator On
   • Set DTC C1255m3 EBCM Internal Malfunction

Replace the EBCM. Refer to Electronic Brake Control Module Replacement .

Did you complete the repair?

--

Go to Step 9

--

8

Replace the instrument cluster. Refer to Instrument Cluster Replacement in Instrument Panel, Gauges and Console.

Did you complete the repair?

--

Go to Step 9

--

9

  1. Use the scan tool in order to clear the DTCs.
  2. Operate the vehicle within the Conditions for Running the DTC as specified in the supporting text.

Does the DTC reset?

--

Go to Step 2

System OK