GM Service Manual Online
For 1990-2009 cars only
Figure 1:

Power and Ground


Object Number: 711056  Size: FS
Master Electrical Component List
Battery Voltage to the Rear Fuse Block
TSIG/HAZ, STOP LP, AUDIO, and CD Fuses (Fuse Block - Rear)
Class 2 Serial Data
IP and Console Lamp Dimming
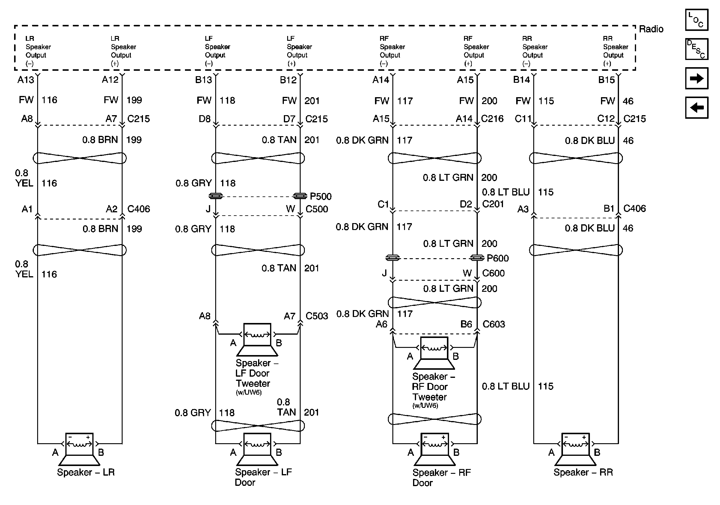
Speakers
G300 and G301 (1 of 2)
G201 (1 of 2)
G201 (1 of 2)
Figure 2:

Speakers


Object Number: 711057  Size: FS
Master Electrical Component List
Radio Output (w/U80)
Power and Ground
Figure 3:

Radio Output (w/U80)


Object Number: 711058  Size: FS
Master Electrical Component List
Front Speakers (w/U80)
Speakers
Figure 4:

Front Speakers (w/U80)


Object Number: 711059  Size: FS
Master Electrical Component List
Rear Speakers (w/U80)
Radio Output (w/U80)
Figure 5:

Rear Speakers (w/U80)


Object Number: 711060  Size: FS
Master Electrical Component List
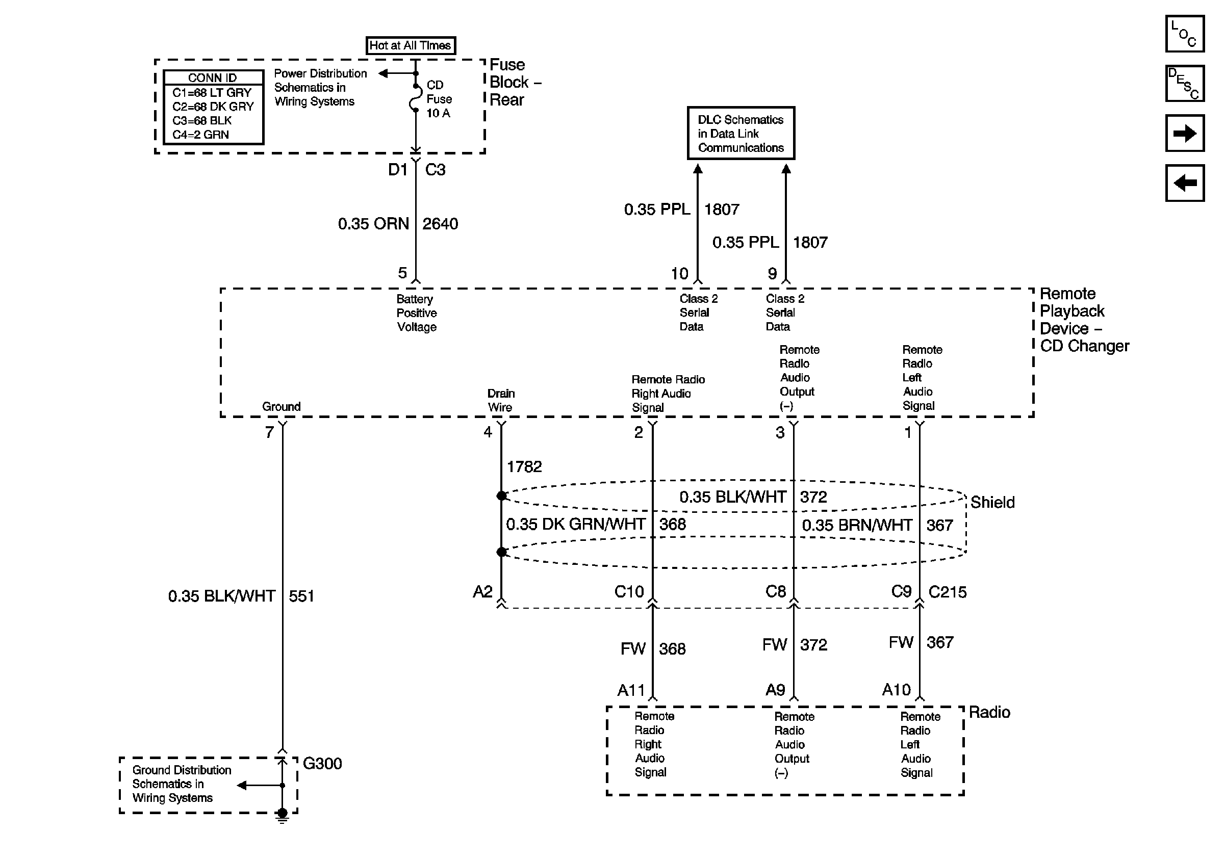
Remote Playback Device - CD Player
Front Speakers (w/U80)
Figure 6:

Remote Playback Device -- CD Player


Object Number: 711061  Size: FS
Master Electrical Component List
Battery Voltage to the Rear Fuse Block
Class 2 Serial Data
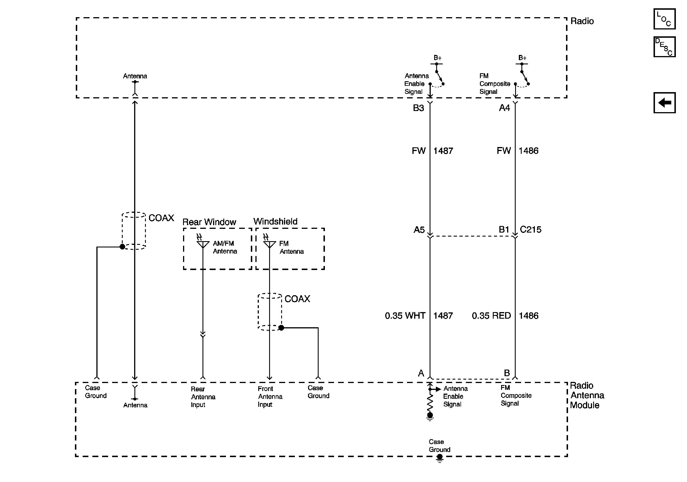
Antenna Module
Rear Speakers (w/U80)
G300 and G301 (1 of 2)
Figure 7:

Antenna Module


Object Number: 711062  Size: FS
Master Electrical Component List
Remote Playback Device - CD Player