GM Service Manual Online
For 1990-2009 cars only
Figure 1:

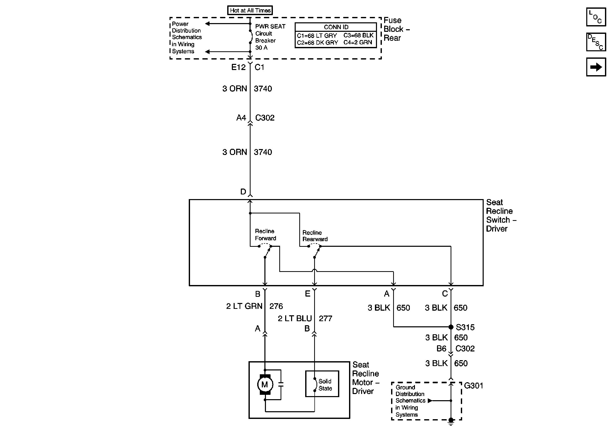
Left Power Recline Switch and Motor


Object Number: 710941  Size: FS
Master Electrical Component List
PWR WDO and PWR SEAT Fuses (Fuse Block - Rear)
G301 (2 of 2)
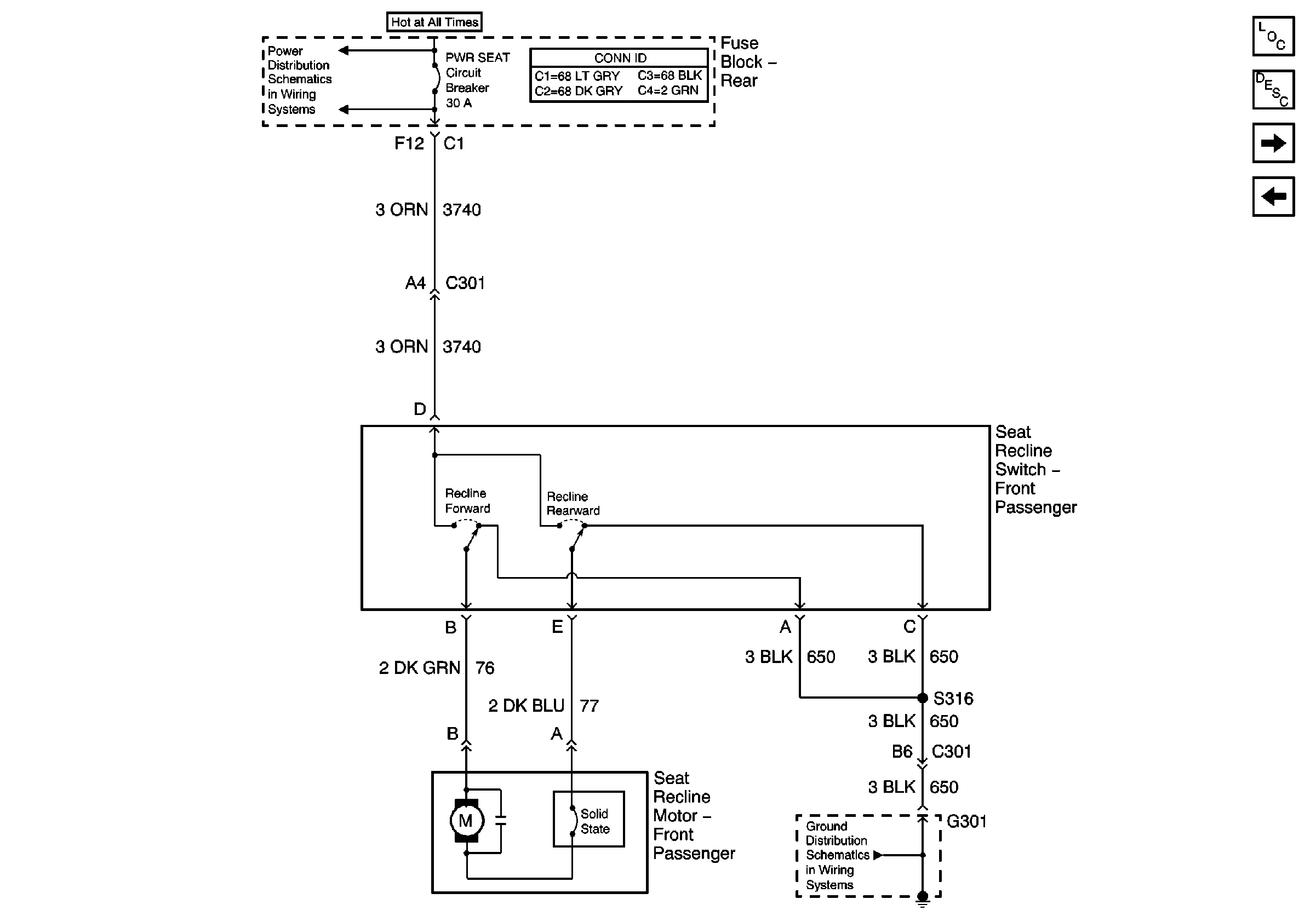
Right Power Recline Switch and Motor
Figure 2:

Right Power Recline Switch and Motor


Object Number: 710942  Size: FS
Master Electrical Component List
PWR WDO and PWR SEAT Fuses (Fuse Block - Rear)
G300 and G301 (1 of 2)
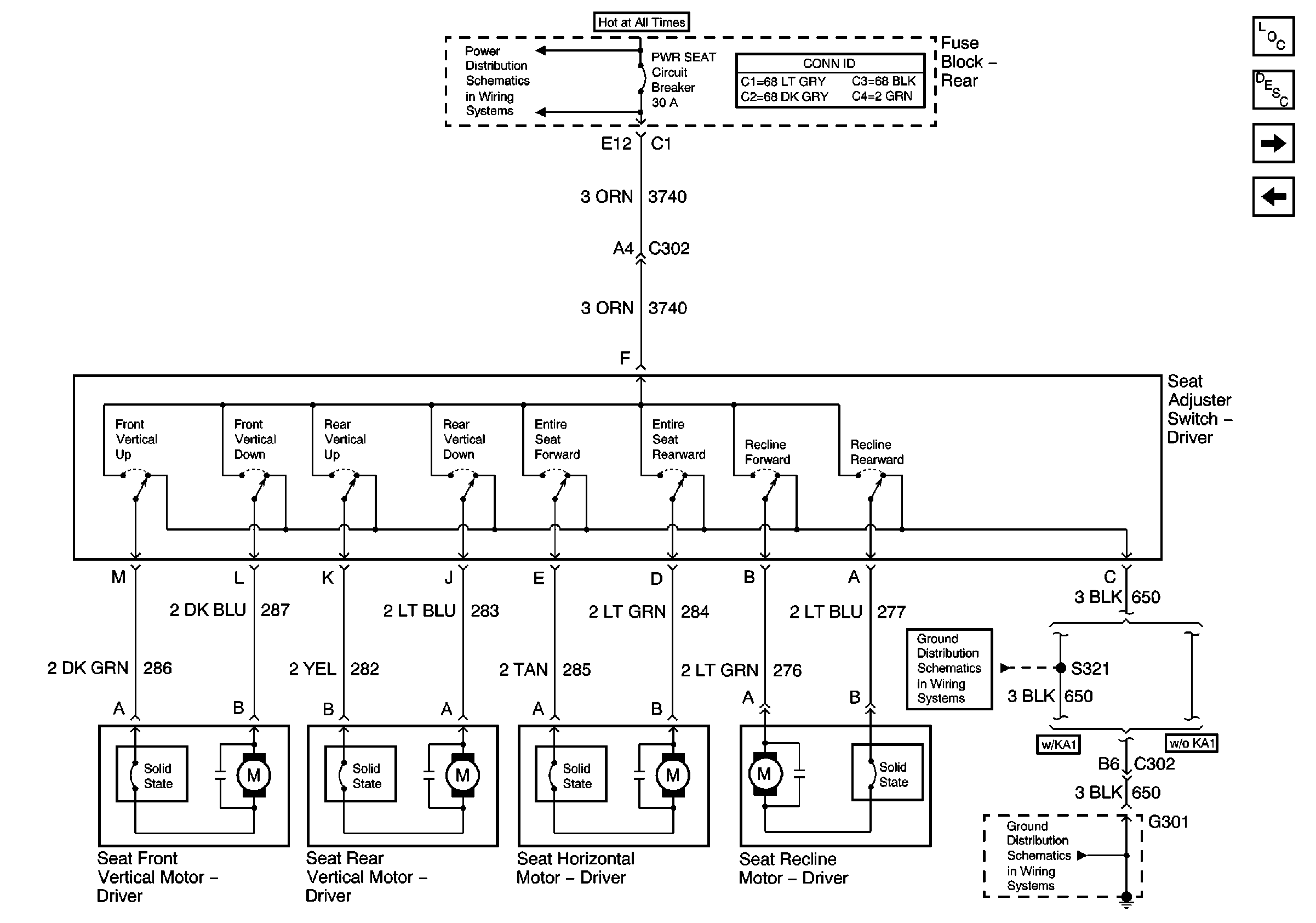
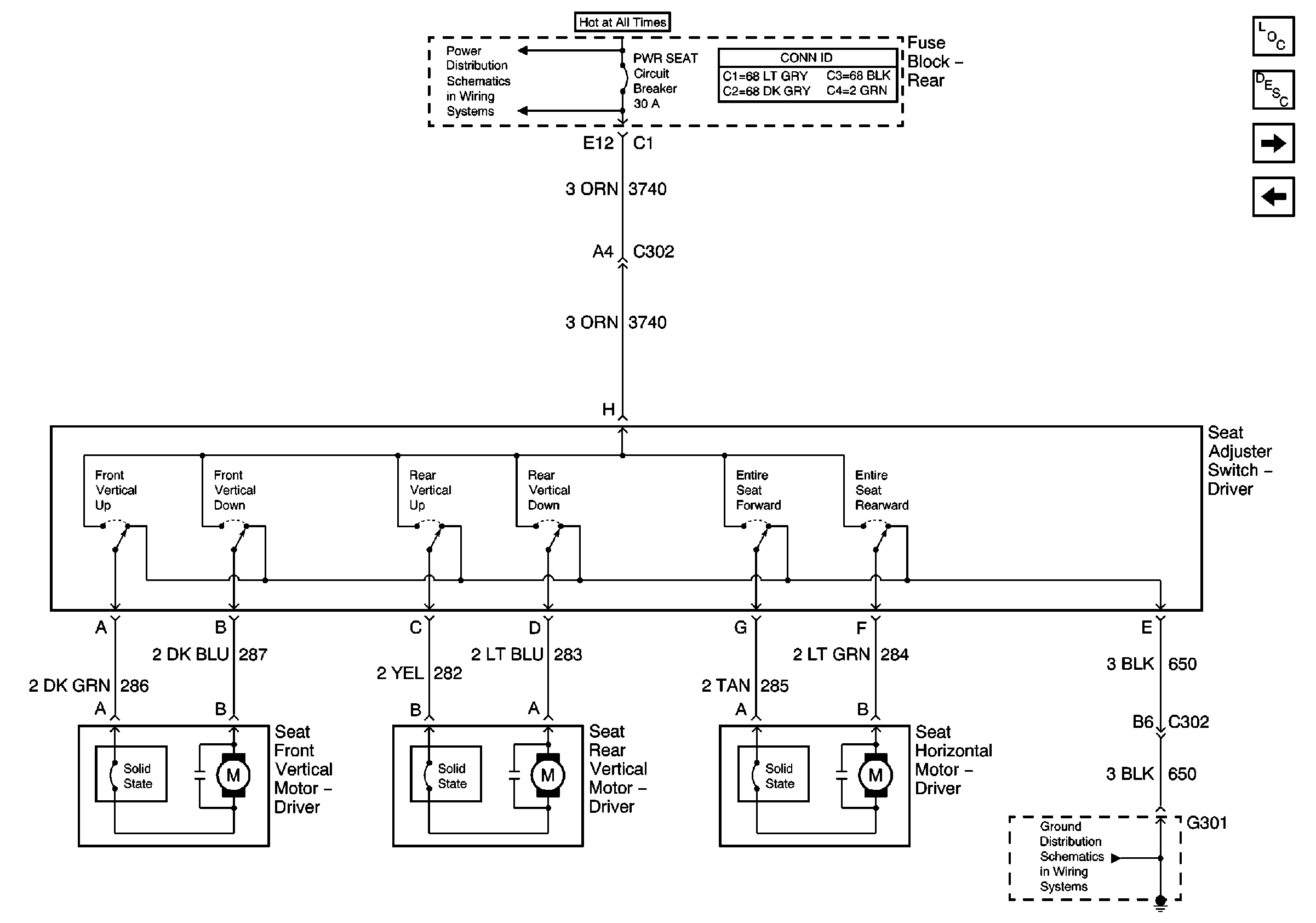
Left Seat Switch and Motors (w/AG1)
Left Power Recline Switch and Motor
Figure 3:

Left Seat Switch and Motors (w/AG1)


Object Number: 710943  Size: FS
Master Electrical Component List
PWR WDO and PWR SEAT Fuses (Fuse Block - Rear)
G301 (2 of 2)
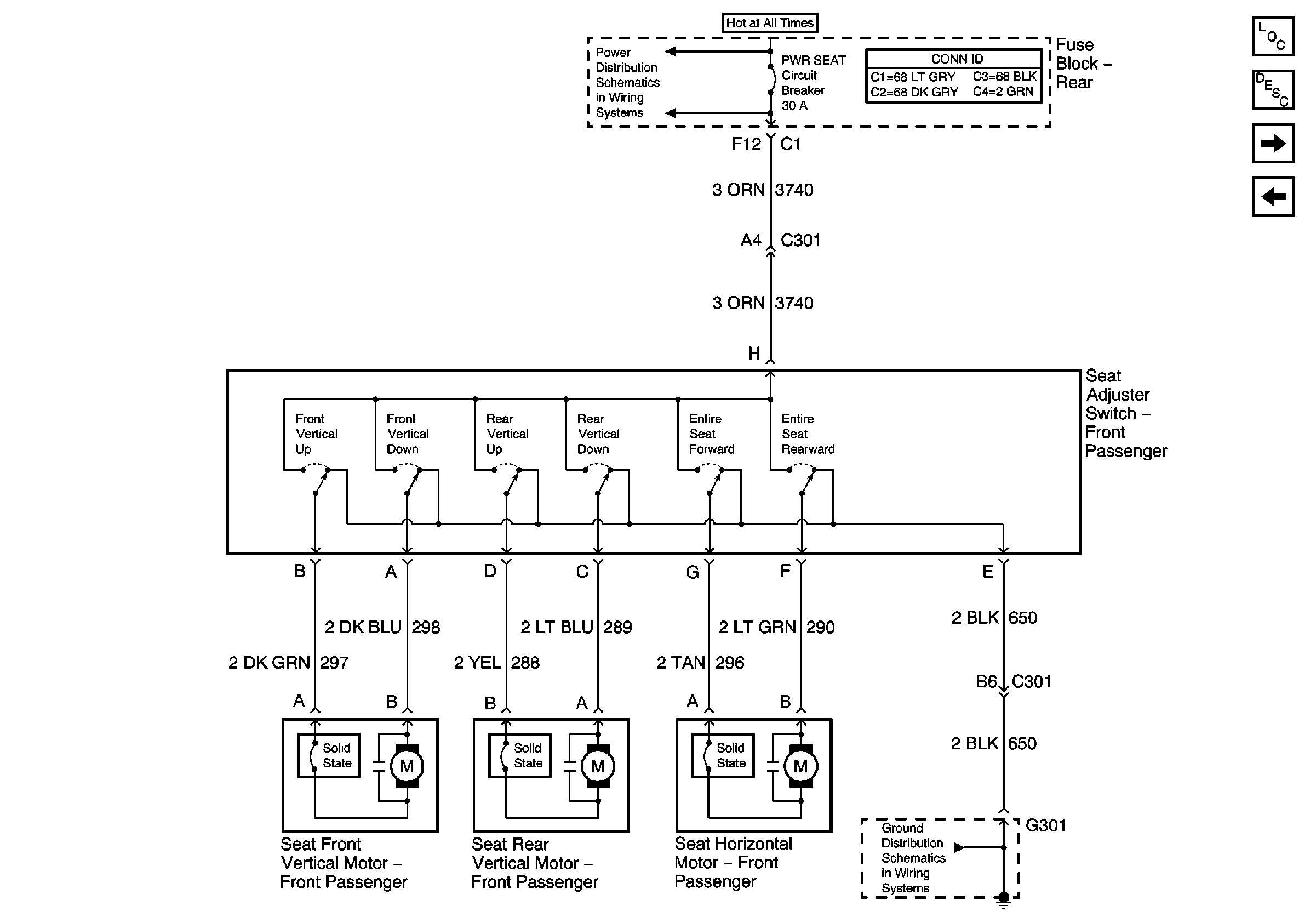
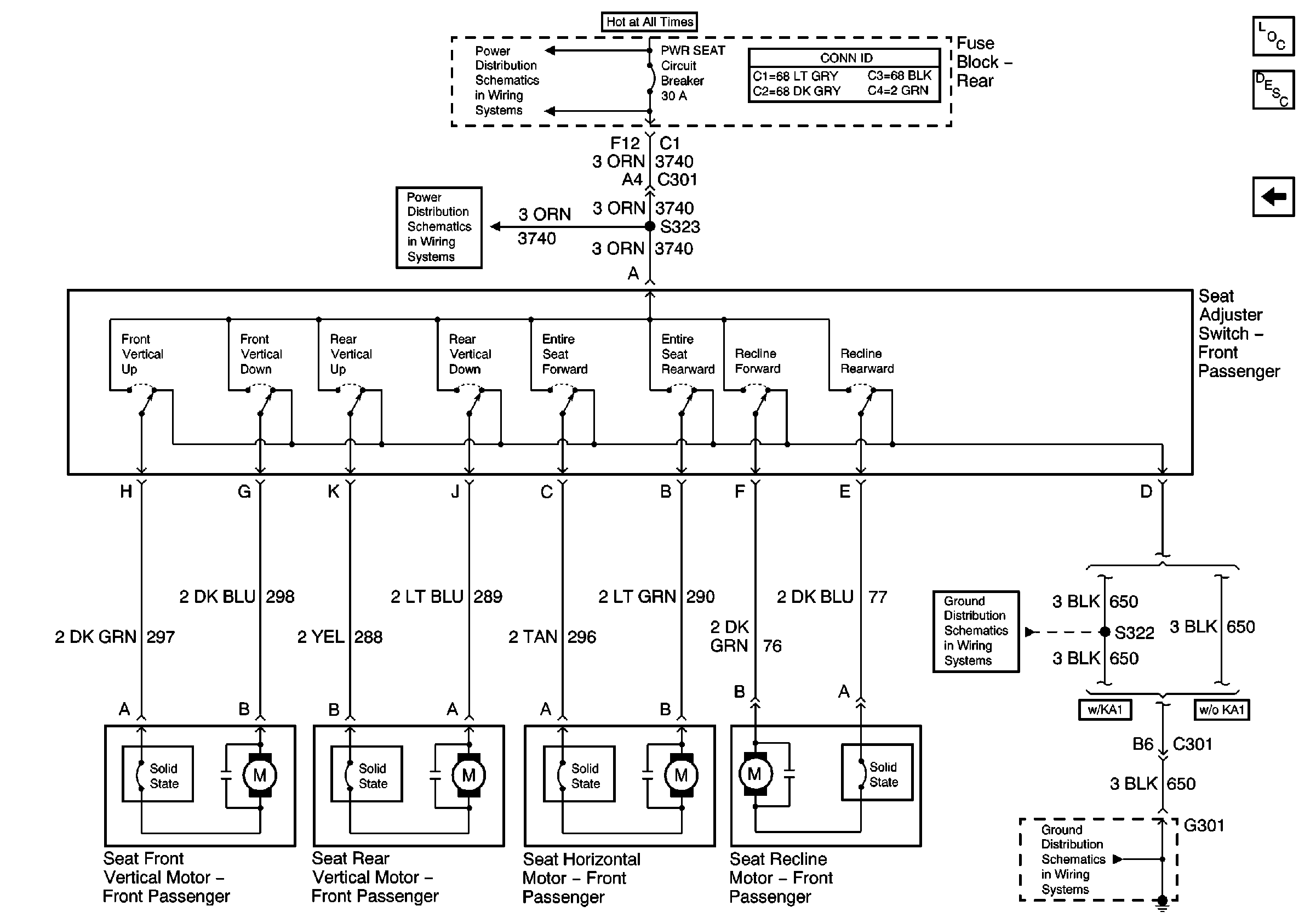
Right Seat Switch and Motors (w/AG2)
Right Power Recline Switch and Motor
Figure 4:

Right Seat Switch and Motors (w/AG2)


Object Number: 710945  Size: FS
Master Electrical Component List
PWR WDO and PWR SEAT Fuses (Fuse Block - Rear)
G300 and G301 (1 of 2)
Left Seat Switch and Motors (wAG1, A80)
Left Seat Switch and Motors (w/AG1)
Figure 5:

Left Seat Switch and Motors (wAG1, A80)


Object Number: 710947  Size: FS
Master Electrical Component List
PWR WDO and PWR SEAT Fuses (Fuse Block - Rear)
G301 (2 of 2)
G301 (2 of 2)
Right Seat Switch and Motors (w/AG2,A81)
Right Seat Switch and Motors (w/AG2)
Figure 6:

Right Seat Switch and Motors (w/AG2,A81)


Object Number: 710950  Size: FS
Master Electrical Component List
PWR WDO and PWR SEAT Fuses (Fuse Block - Rear)
PWR WDO and PWR SEAT Fuses (Fuse Block - Rear)
G300 and G301 (1 of 2)
G300 and G301 (1 of 2)
Left Seat Switch and Motors (wAG1, A80)