GM Service Manual Online
For 1990-2009 cars only
Figure 1:

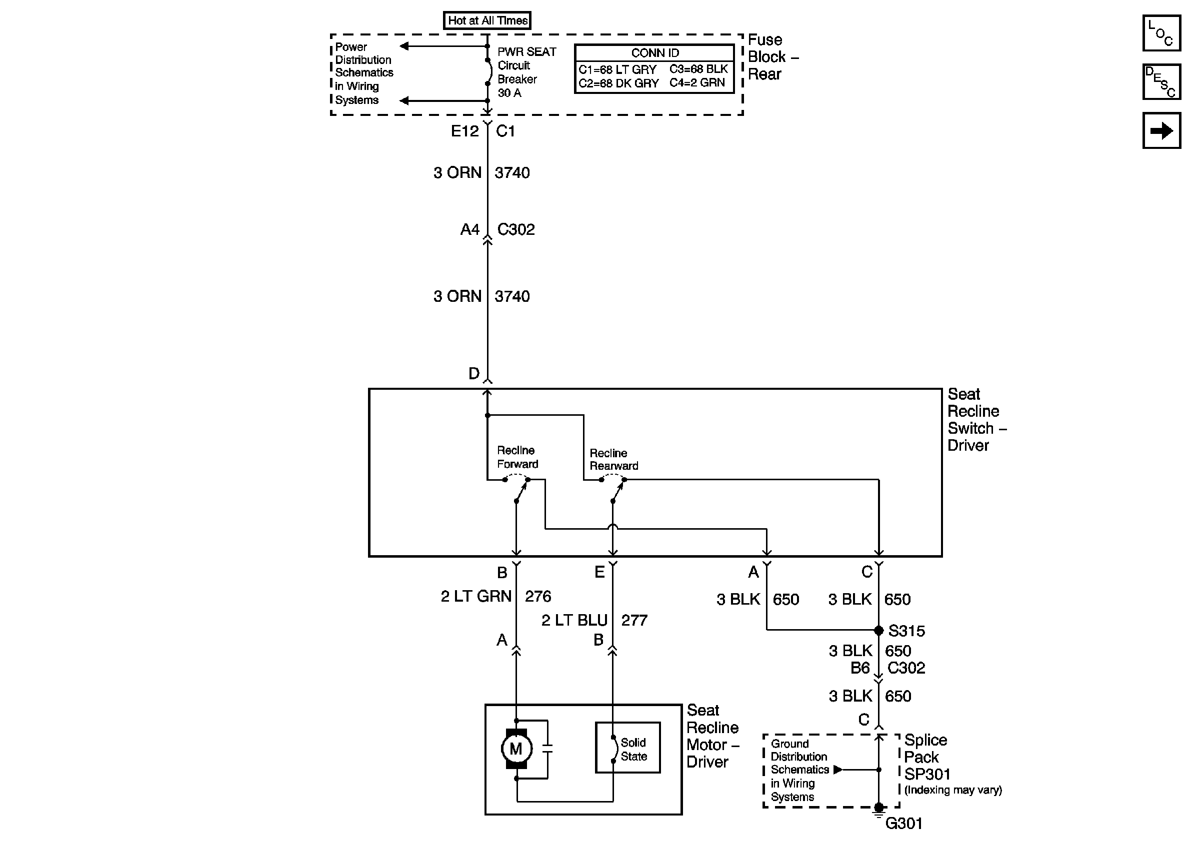
Left Power Recline Switch and Motor


Object Number: 793574  Size: FS
Master Electrical Component List
PWR WDO and PWR SEAT Fuses (Fuse Block Rear)
G301 (2 of 2)
Right Power Recline Switch and Motor
Figure 2:

Right Power Recline Switch and Motor


Object Number: 793576  Size: FS
Master Electrical Component List
PWR WDO and PWR SEAT Fuses (Fuse Block Rear)
Left Seat Switch and Motors (w/AG1)
Left Power Recline Switch and Motor
PWR WDO and PWR SEAT Fuses (Fuse Block Rear)
G300 and G301 (1 of 2)
Figure 3:

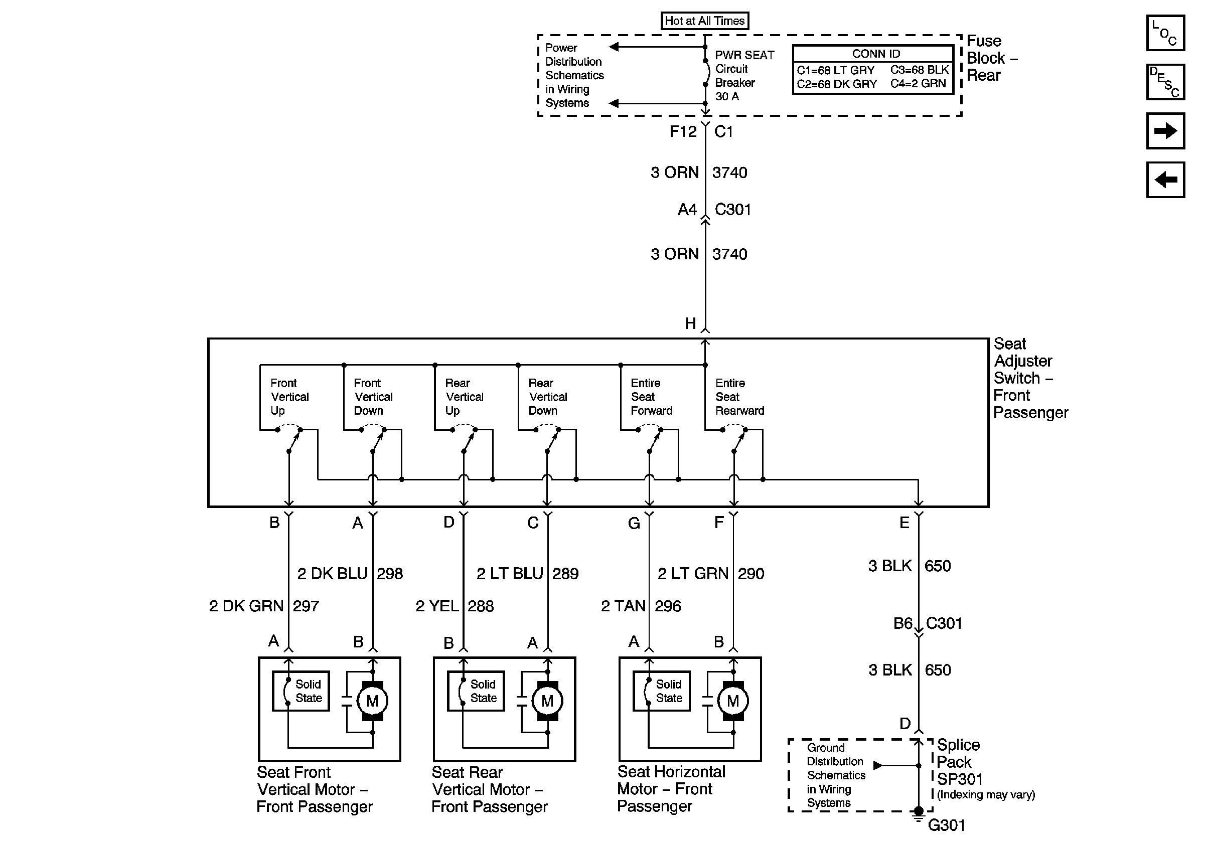
Left Seat Switch and Motors (w/AG1)


Object Number: 793581  Size: FS
Master Electrical Component List
PWR WDO and PWR SEAT Fuses (Fuse Block Rear)
Right Seat Switch and Motors (w/AG2)
Right Power Recline Switch and Motor
G300 and G301 (1 of 2)
Figure 4:

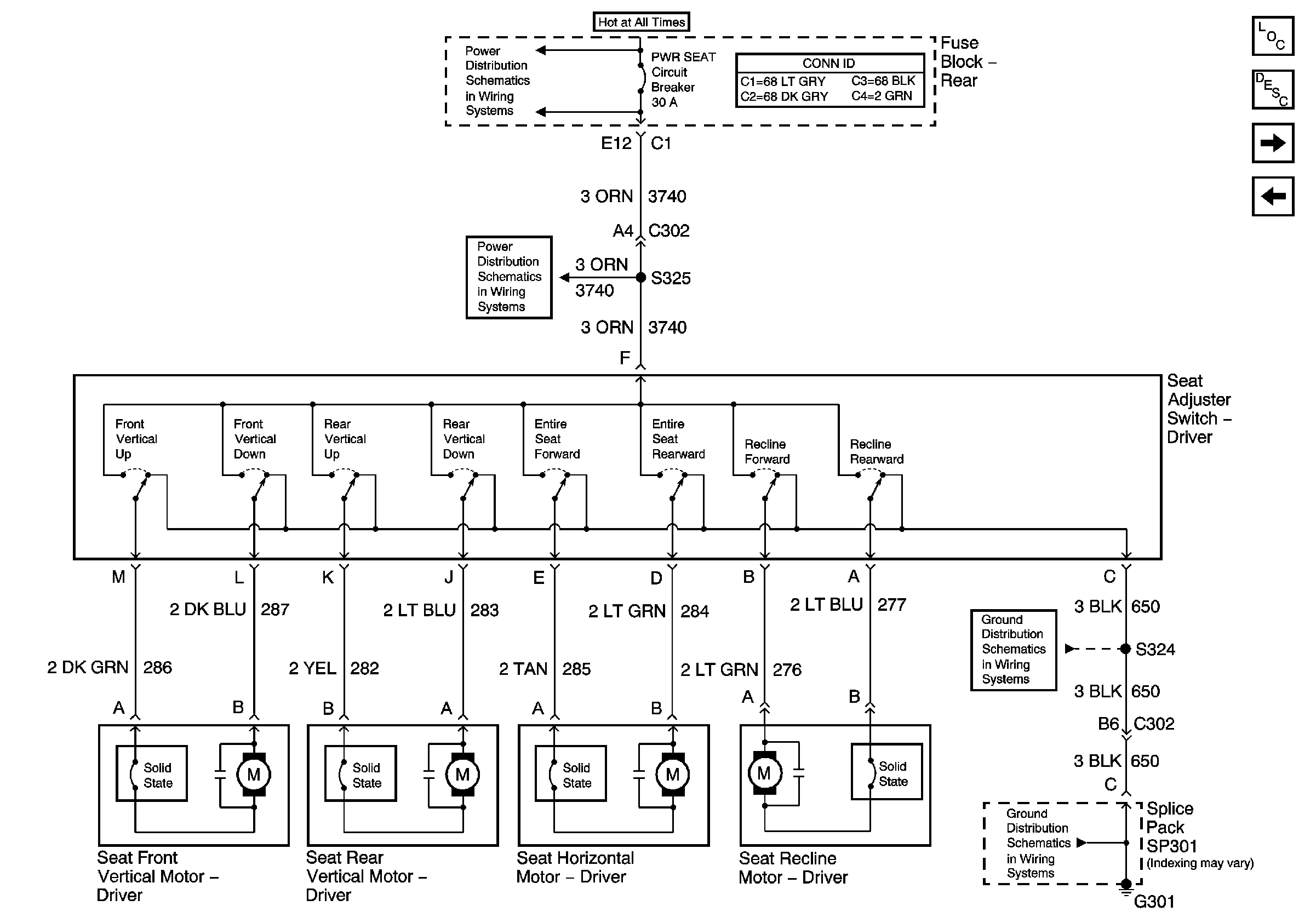
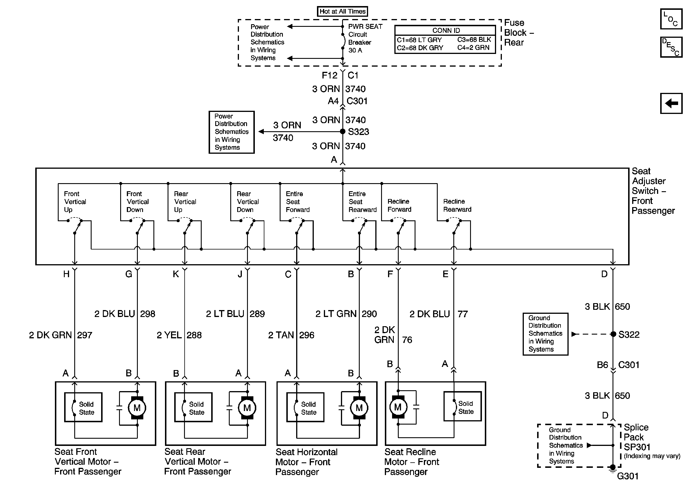
Right Seat Switch and Motors (w/AG2)


Object Number: 793583  Size: FS
Master Electrical Component List
PWR WDO and PWR SEAT Fuses (Fuse Block Rear)
G300 and G301 (1 of 2)
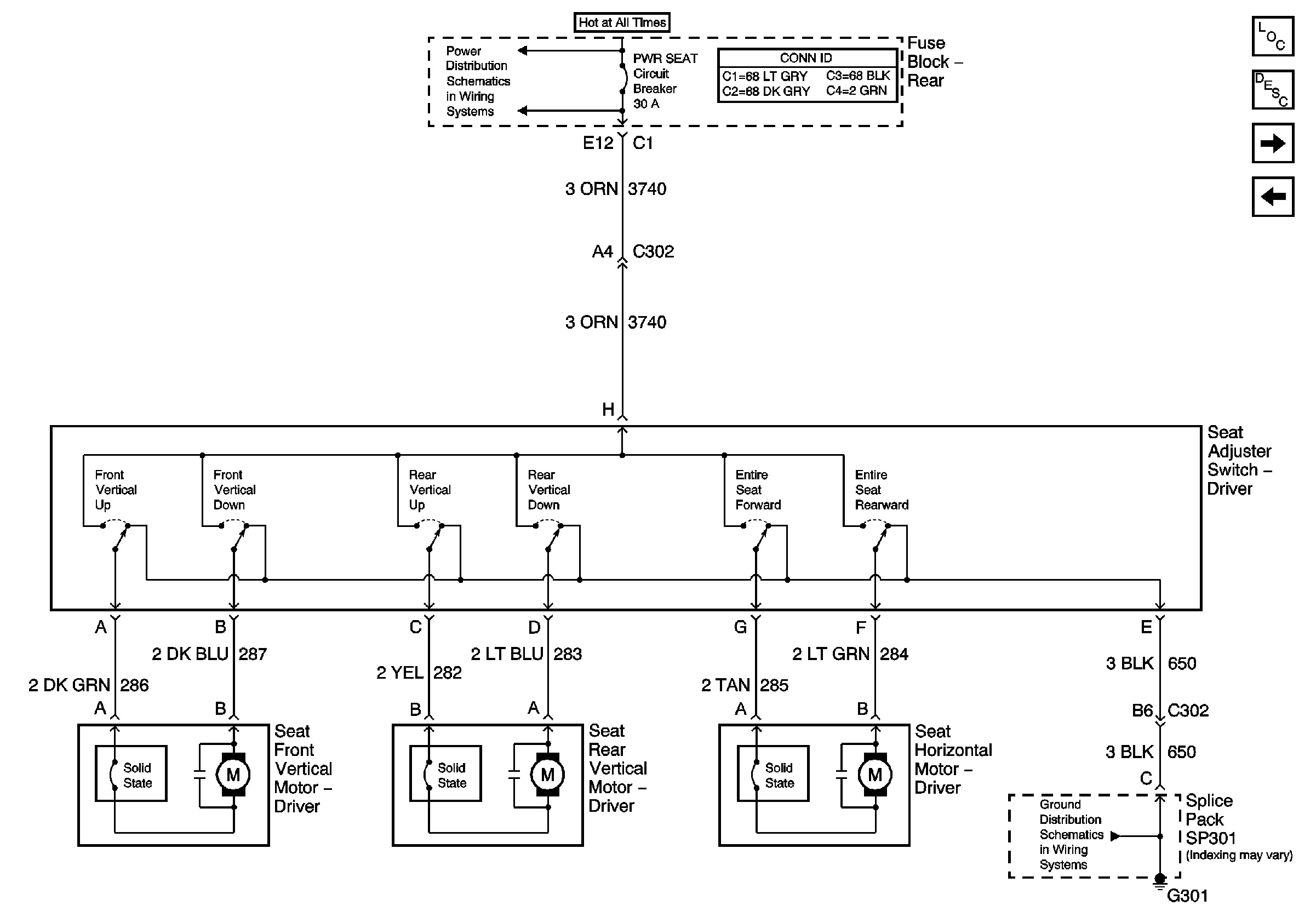
Left Seat Switch and Motors (w/AG1, A80)
Left Seat Switch and Motors (w/AG1)
PWR WDO and PWR SEAT Fuses (Fuse Block Rear)
Figure 5:

Left Seat Switch and Motors (w/AG1, A80)


Object Number: 793585  Size: FS
Master Electrical Component List
PWR WDO and PWR SEAT Fuses (Fuse Block Rear)
G301 (2 of 2)
G301 (2 of 2)
Right Seat Switch and Motors (w/AG2, A81)
Right Seat Switch and Motors (w/AG2)
Figure 6:

Right Seat Switch and Motors (w/AG2, A81)


Object Number: 793589  Size: FS
Master Electrical Component List
PWR WDO and PWR SEAT Fuses (Fuse Block Rear)
PWR WDO and PWR SEAT Fuses (Fuse Block Rear)
G300 and G301 (1 of 2)
G300 and G301 (1 of 2)
Left Seat Switch and Motors (w/AG1, A80)