GM Service Manual Online
For 1990-2009 cars only

Removal Procedure

  1. Raise and support the vehicle. Refer to Lifting and Jacking the Vehicle in General Information.

  2. Object Number: 457707  Size: SH
  3. Remove the push pin retainers (2) that secure the rear bumper fascia to the rear wheelhouse extensions.

  4. Object Number: 457574  Size: SH
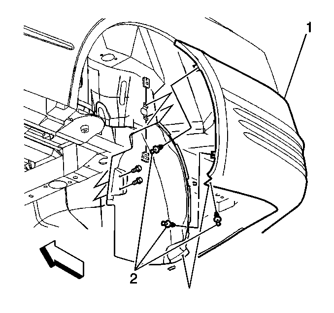
  5. Remove the fastener (5) securing the rear bumper fascia at the wheelhouse opening.
  6. Disconnect the license lamp electrical connector (2).
  7. Open the rear compartment lid.
  8. Remove the rear compartment sill trim. Refer to Rear Compartment Sill Trim Plate Replacement in Body Rear End.
  9. Fold back the rear compartment side trim panels. Refer to Rear Compartment Trim Panel Replacement in Body Rear End.
  10. Remove the fasteners (4) securing the rear bumper fascia (3) to the quarter panels.
  11. Remove the fasteners (1) securing the rear bumper fascia (3) to the rear end panel.
  12. Remove the rear bumper fascia (3) from the vehicle.
  13. Remove the energy absorber from the fascia. Refer to Rear Energy Absorber Replacement .

Installation Procedure

  1. Install the energy absorber to the fascia. Refer to Rear Energy Absorber Replacement .

  2. Object Number: 457574  Size: SH
  3. Align the fasteners (1, 4, 5) in the rear bumper fascia (3) to the body.
  4. Connect the license lamp wire connector (2).
  5. Important: The butyl washers on the fasteners (1,4,5) must be replaced upon reassembly. This will ensure that exhaust gases do not enter the passenger compartment.

  6. Install new butyl washers onto the fascia studs.
  7. Notice: Use the correct fastener in the correct location. Replacement fasteners must be the correct part number for that application. Fasteners requiring replacement or fasteners requiring the use of thread locking compound or sealant are identified in the service procedure. Do not use paints, lubricants, or corrosion inhibitors on fasteners or fastener joint surfaces unless specified. These coatings affect fastener torque and joint clamping force and may damage the fastener. Use the correct tightening sequence and specifications when installing fasteners in order to avoid damage to parts and systems.

  8. Install the fasteners (4, 5) to secure the rear bumper fascia (1) to the quarter panels.
  9. Tighten
    Tighten the fasteners to 6 N·m (53 lb in).


    Object Number: 457574  Size: SH
  10. Install the fasteners (1) to secure the rear bumper fascia to the rear end panel.
  11. Tighten
    Tighten the fasteners to 6 N·m (53 lb in).

  12. Install the rear compartment side trim panels. Refer to Rear Compartment Trim Panel Replacement in Body Rear End.
  13. Install the rear compartment sill trim. Refer to Rear Compartment Sill Trim Plate Replacement in Body Rear End.
  14. Close the rear compartment lid.

  15. Object Number: 457707  Size: SH
  16. Install the push pin retainers (2) to secure the rear bumper fascia to the rear wheelhouse extensions.
  17. Lower the vehicle.