GM Service Manual Online
For 1990-2009 cars only
Makes
🢒
Pontiac
🢒
2002
🢒
Bonneville
🢒
Body and Accessories
🢒
Garage Door Opener
🢒 Garage Door Opener Schematics
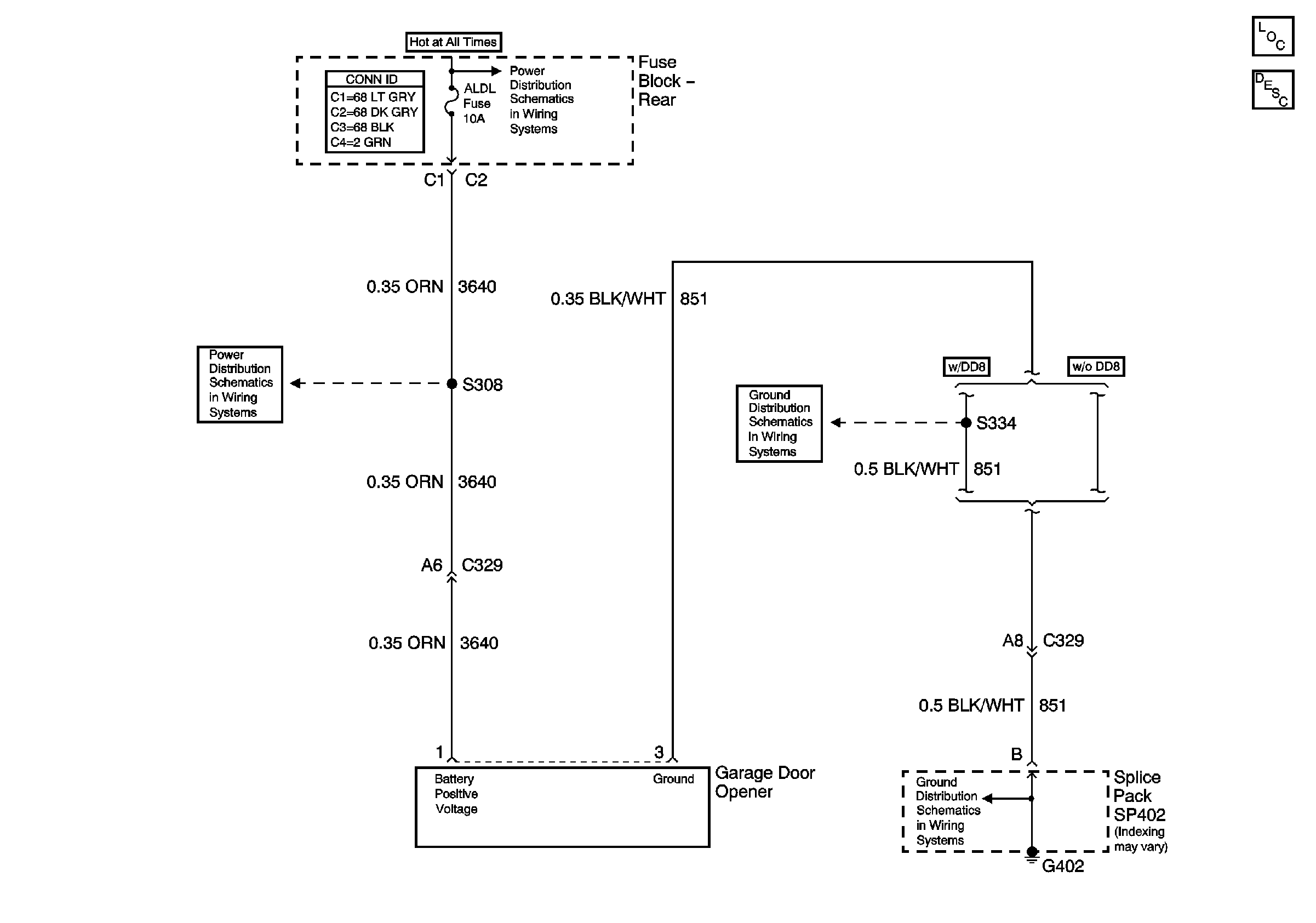
GDO Schematic
Master Electrical Component List
ELC, RRFOG, ALDL Fuses, and the ELC, REAR DEFOG, F/TNKDR REL, and F/TNKDRLOCK Relays (Fuse Block Rear)
Battery Voltage to the Rear Fuse Block
G402
G402