GM Service Manual Online
For 1990-2009 cars only
Makes
🢒
Pontiac
🢒
2002
🢒
Bonneville
🢒
Body and Accessories
🢒
Instrument Panel, Gages, and Console
🢒 Audible Warnings Schematics
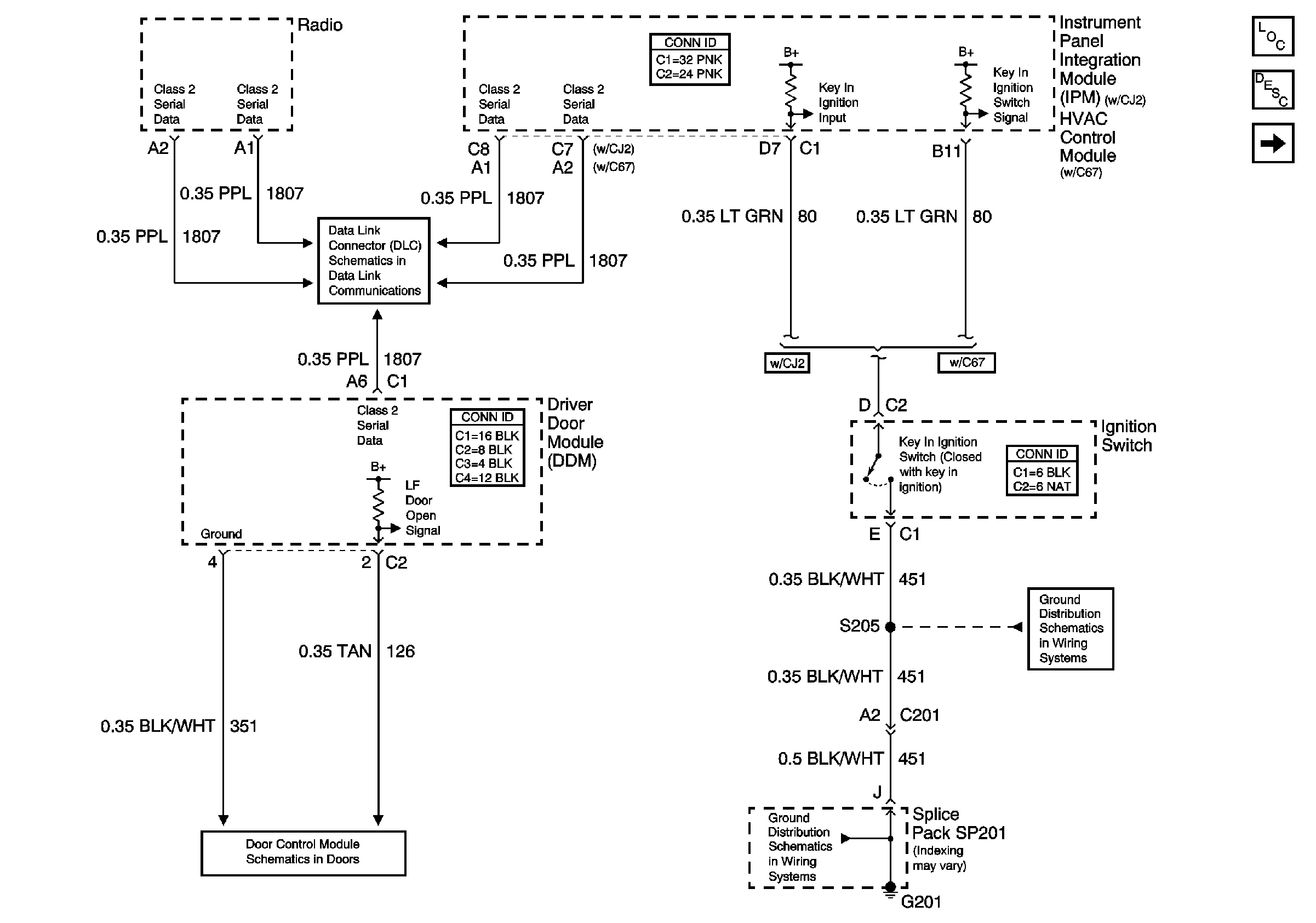
Figure
1:
Radio, Door, and Ignition Switch Audible Warnings
Master Electrical Component List
Serial Data Class 2
DDM Inputs/Outputs
G201 (2 of 2)
G201 (2 of 2)
Seat Belt and Headlamp Switch Audible Warnings
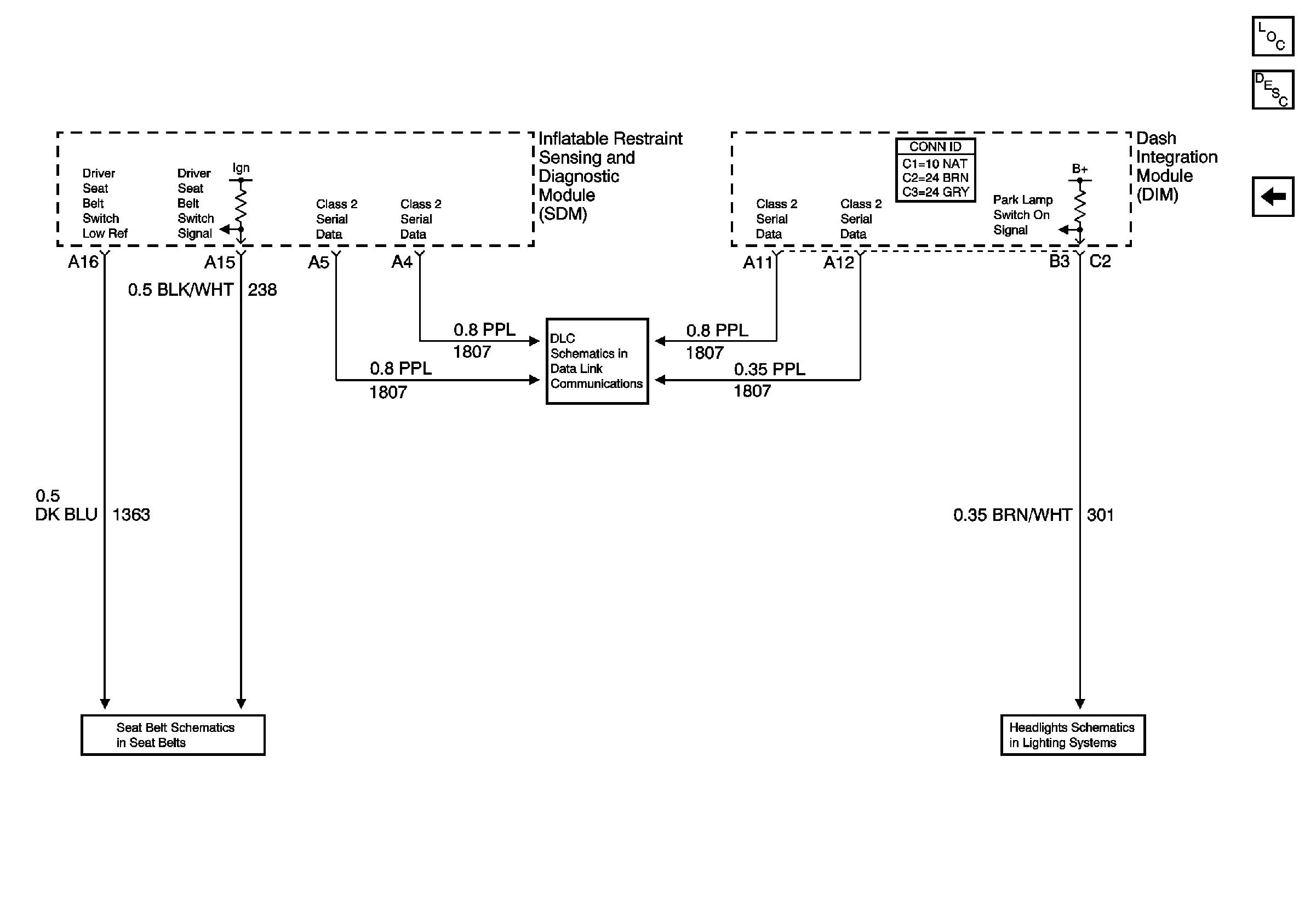
Figure
2:
Seat Belt and Headlamp Switch Audible Warnings
Master Electrical Component List
Seat Belt Schematic
Serial Data Class 2
Headlamp, Foglamp, and Ambient Light Sensor Inputs (w/C67)
Radio, Door, and Ignition Switch Audible Warnings