GM Service Manual Online
For 1990-2009 cars only
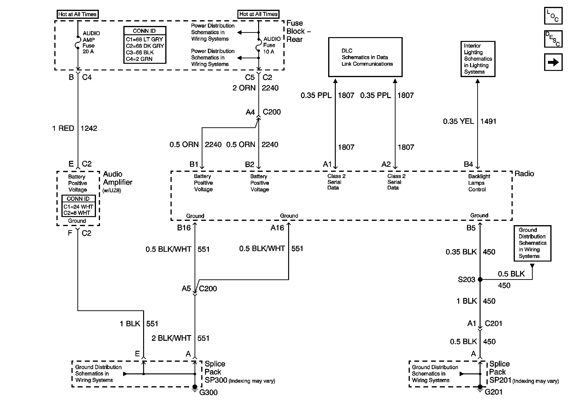
Figure 1:

Power and Ground


Object Number: 766318  Size: FS
Master Electrical Component List
TSIG/HAZ, STOP LP, AUDIO, and CD Fuses (Fuse Block Rear)
TSIG/HAZ, STOP LP, AUDIO, and CD Fuses (Fuse Block Rear)
G300 and G301 (1 of 2)
Serial Data Class 2
G201 (1 of 2)
IP and Console Dimming
G201 (1 of 2)
Speakers
Figure 2:

Speakers


Object Number: 766323  Size: FS
Entertainment Schematic Icons
Entertainment Schematic Icons
Entertainment Schematic Icons
Entertainment Schematic Icons
Entertainment Schematic Icons
Master Electrical Component List
Radio Output (w/UZ8)
Power and Ground
Figure 3:

Radio Output (w/UZ8)


Object Number: 766327  Size: FS
Master Electrical Component List
Entertainment Schematic Icons
Entertainment Schematic Icons
Front Speakers (w/UZ8)
Speakers
Figure 4:

Front Speakers (w/UZ8)


Object Number: 766329  Size: FS
Master Electrical Component List
Entertainment Schematic Icons
Entertainment Schematic Icons
Entertainment Schematic Icons
Entertainment Schematic Icons
Entertainment Schematic Icons
Entertainment Schematic Icons
Rear Speakers (w/UZ8)
Radio Output (w/UZ8)
Figure 5:

Rear Speakers (w/UZ8)


Object Number: 766330  Size: FS
Master Electrical Component List
Entertainment Schematic Icons
Entertainment Schematic Icons
Entertainment Schematic Icons
Entertainment Schematic Icons
Entertainment Schematic Icons
Entertainment Schematic Icons
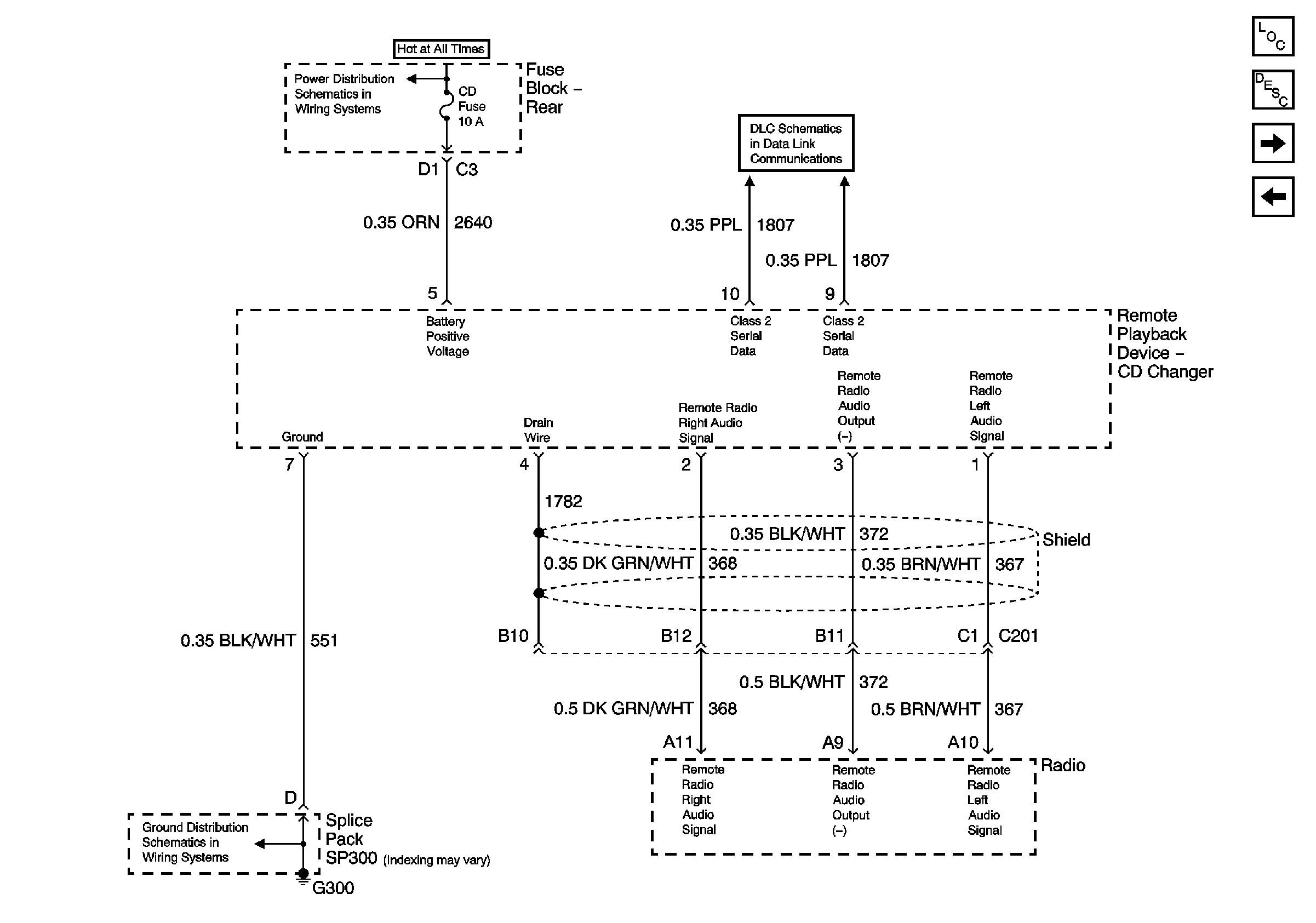
CD Player (w/U1S)
Front Speakers (w/UZ8)
Figure 6:

CD Player (w/U1S)


Object Number: 766332  Size: FS
Master Electrical Component List
TSIG/HAZ, STOP LP, AUDIO, and CD Fuses (Fuse Block Rear)
G300 and G301 (1 of 2)
Serial Data Class 2
Antenna Module
Rear Speakers (w/UZ8)
Figure 7:

Antenna Module


Object Number: 766333  Size: FS
Master Electrical Component List
CD Player (w/U1S)