GM Service Manual Online
For 1990-2009 cars only
Makes
🢒
Pontiac
🢒
2002
🢒
Bonneville
🢒
Body and Accessories
🢒
Body Control System
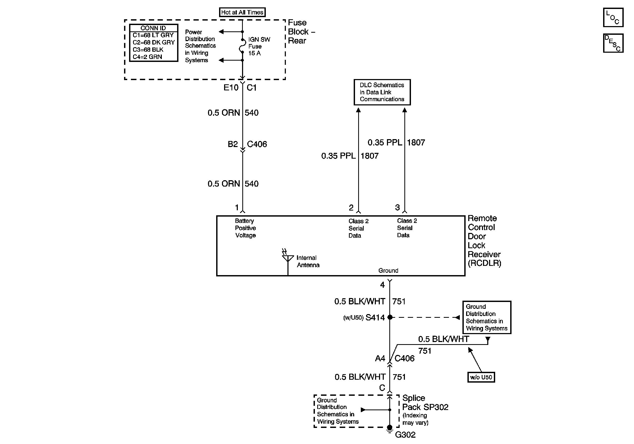
🢒 Keyless Entry Schematics
Master Electrical Component List
IGN SW, PRK/REV Fuses and the PARK and REVERSE Relays (Fuse Block Rear)
Serial Data Class 2
G302
G302