GM Service Manual Online
For 1990-2009 cars only
Makes
🢒
Pontiac
🢒
2002
🢒
Bonneville
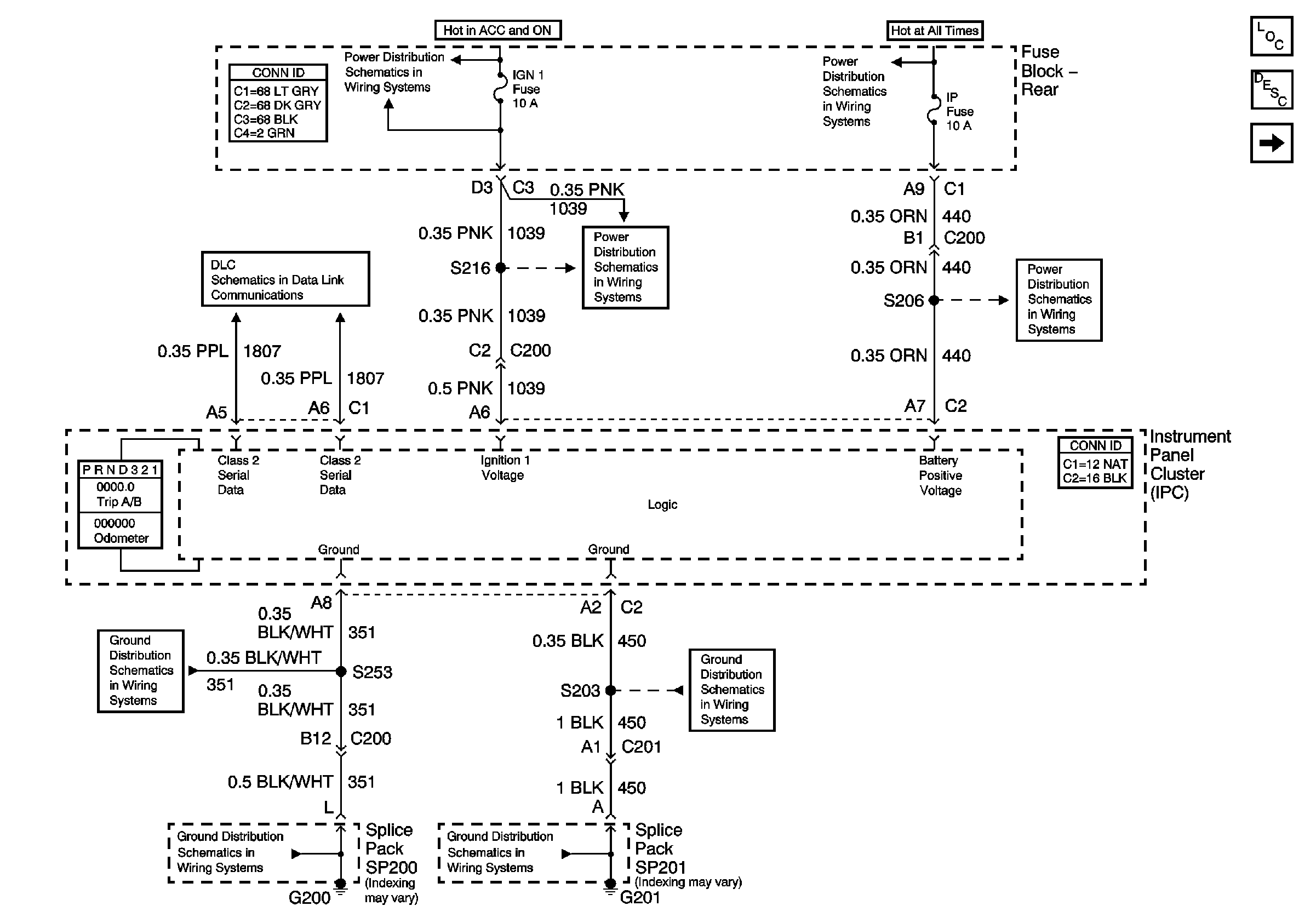
🢒 Power, Ground, and Class 2
Power, Ground, and Class 2
Power, Ground, and Class 2
Master Electrical Component List
IGN 1, Vent Sol, and SIR Fuses (Fuse Block Rear)
Serial Data Class 2
G200
G200
IGN 1, Vent Sol, and SIR Fuses (Fuse Block Rear)
G201 (1 of 2)
G201 (1 of 2)
IP, CIGAR Fuses, and the CIGAR Relay (Fuse Block Rear)
IP, CIGAR Fuses, and the CIGAR Relay (Fuse Block Rear)
PCM Signals Speedometer, Tachometer, and Fuel Indicators