GM Service Manual Online
For 1990-2009 cars only
Makes
🢒
Pontiac
🢒
2002
🢒
Bonneville
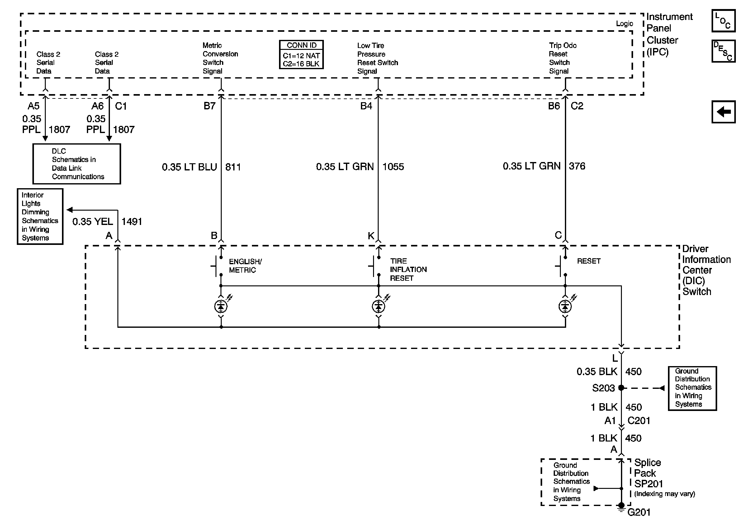
🢒 DIC Switch (w/U2F)
DIC Switch (w/U2F)
DIC Switch (w/U2F)
Master Electrical Component List
Serial Data Class 2
IP and Console Dimming
G201 (1 of 2)
G201 (1 of 2)
DIC Switch (w/U50)