GM Service Manual Online
For 1990-2009 cars only
Makes
🢒
Pontiac
🢒
2002
🢒
Bonneville
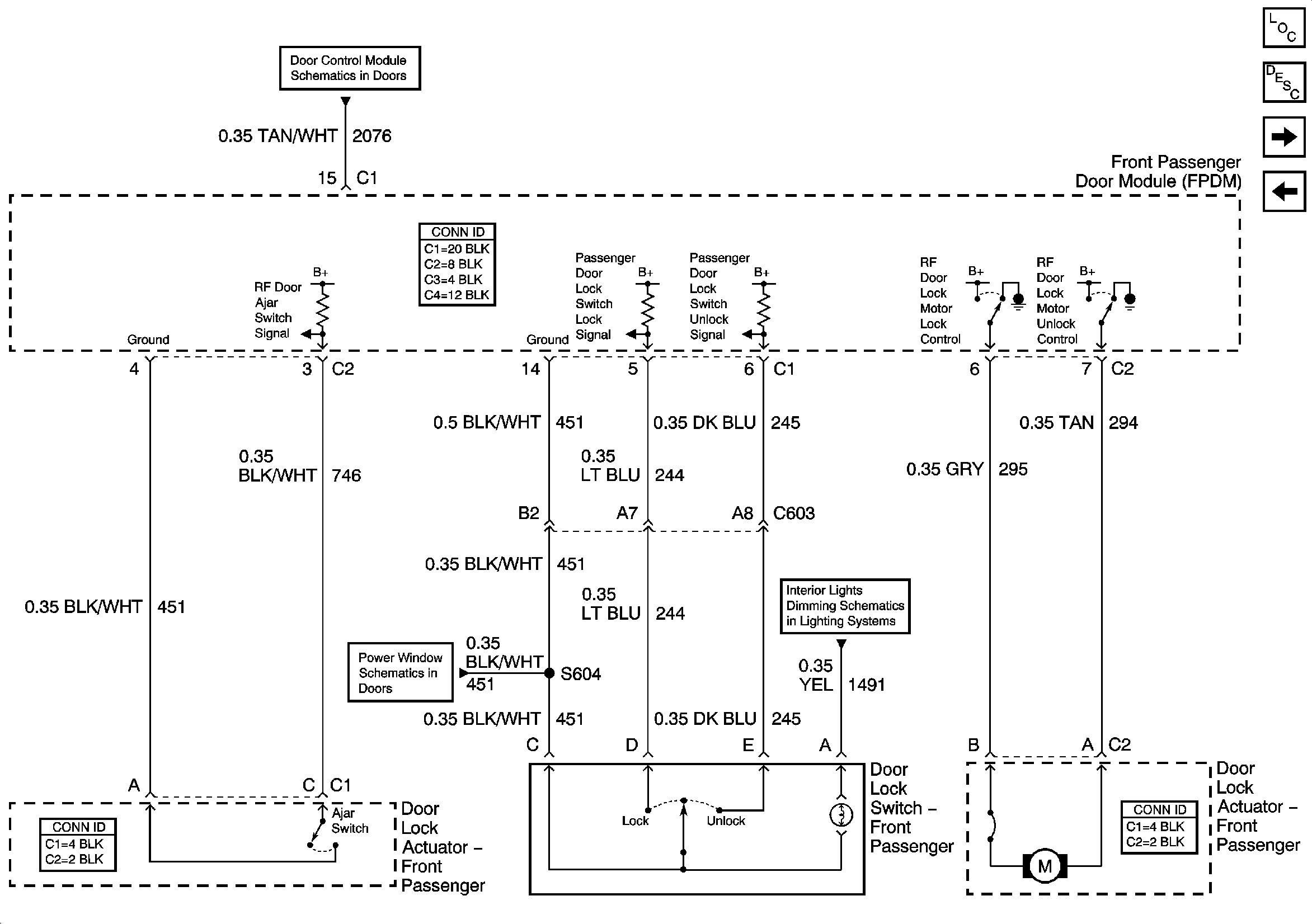
🢒 Right Front Door
Right Front Door
Right Front Door
Master Electrical Component List
Simple Bus Interface (SBI)
Front Floor Lamps Dimming
Left Rear Door
Left Front Door
Right Front Door