GM Service Manual Online
For 1990-2009 cars only
Makes
🢒
Pontiac
🢒
2002
🢒
Bonneville
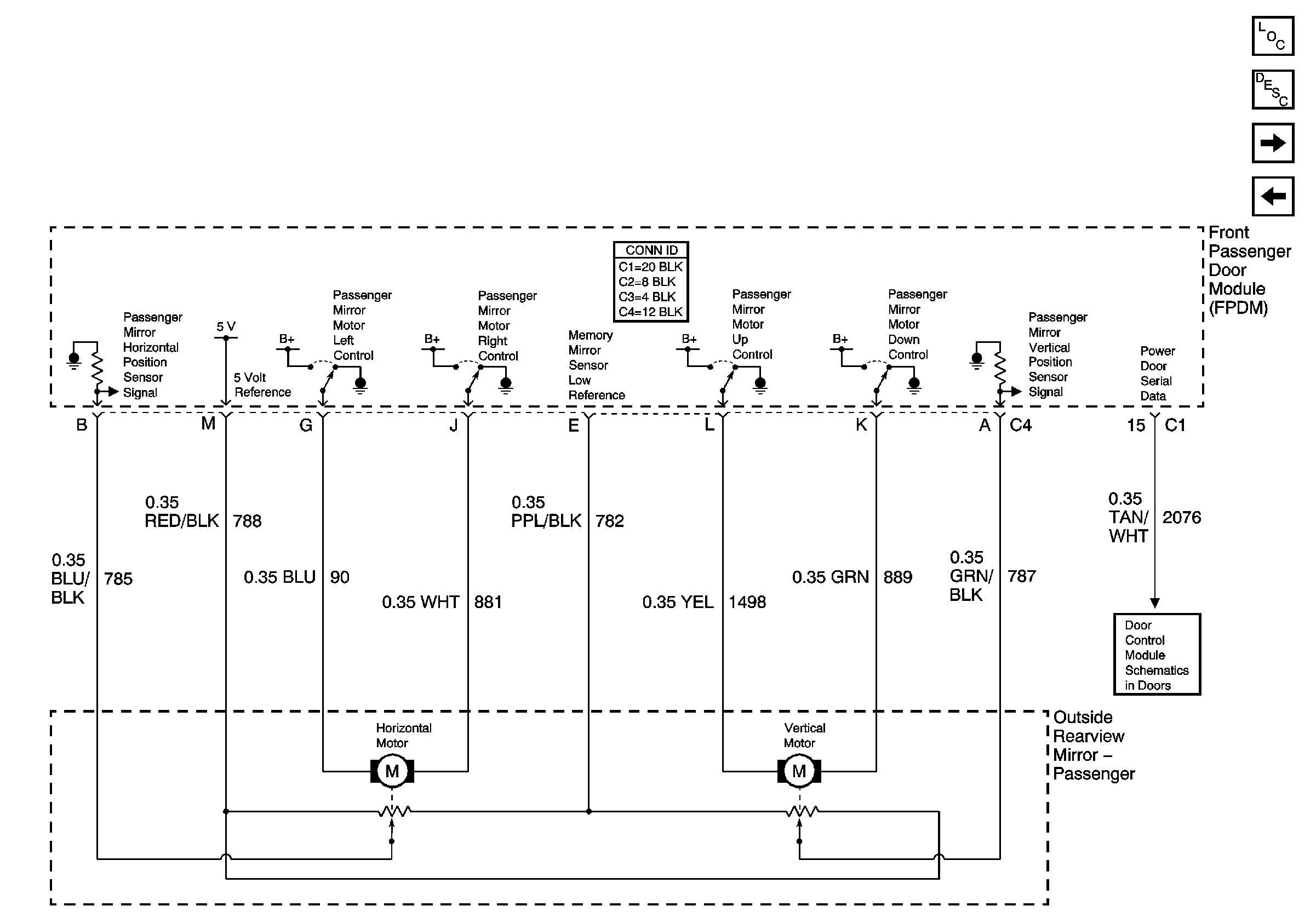
🢒 Right Mirror (w/A45)
Right Mirror (w/A45)
Right Mirror (w/A45)
Master Electrical Component List
Simple Bus Interface (SBI)
Heated Mirrors (w/DK5)
Left Mirror (w/A45)