GM Service Manual Online
For 1990-2009 cars only
Makes
🢒
Pontiac
🢒
2003
🢒
Bonneville
🢒
Body and Accessories
🢒
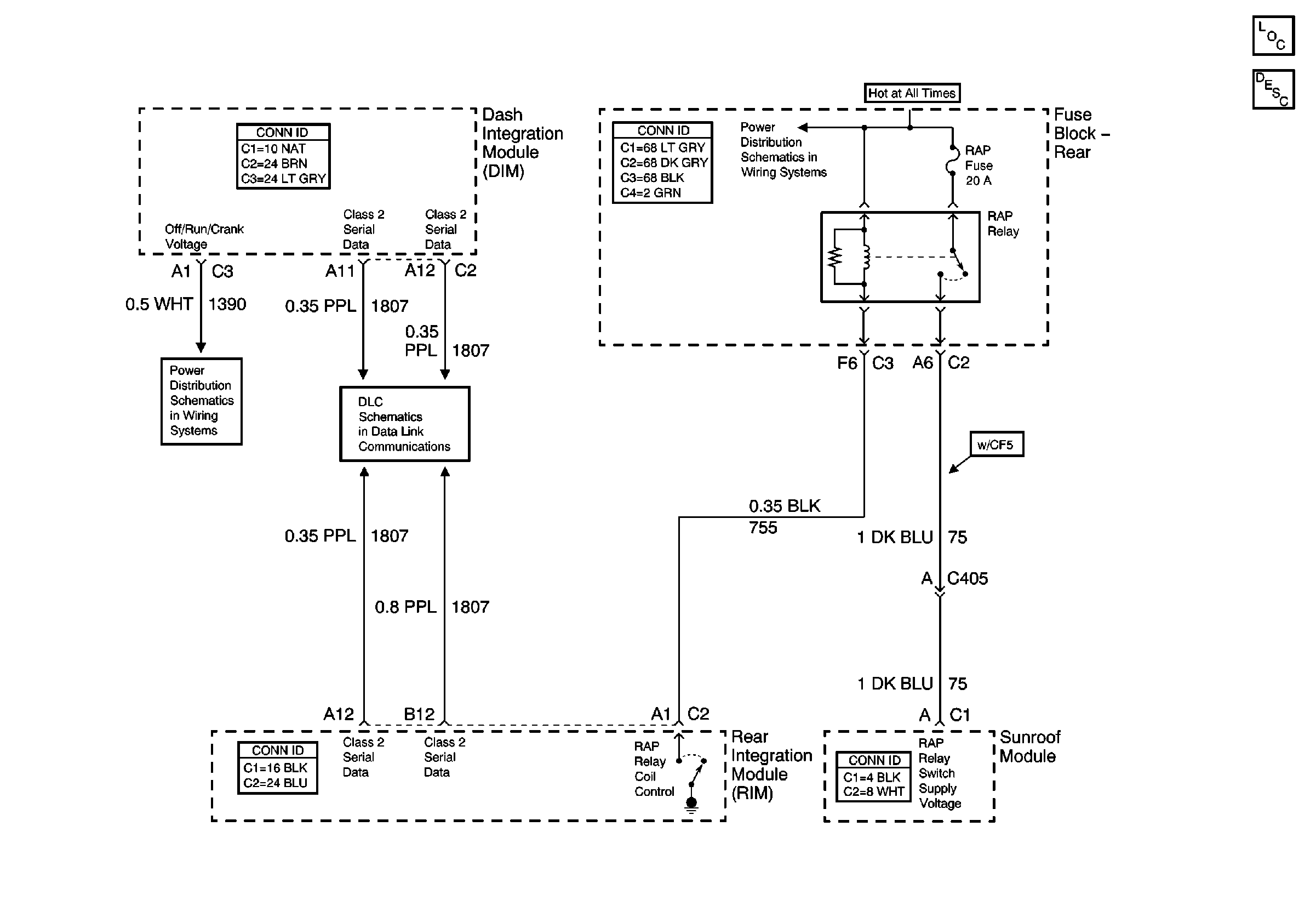
Retained Accessory Power
🢒 Retained Accessory Power (RAP) Schematics
Rap Schematic
Master Electrical Component List
Retained Accessory Power (RAP) Description and Operation
Ignition Switch Positions
Serial Data Class 2